规范网
更新
当前位置:
规范网
标准
行业标准
内容详情
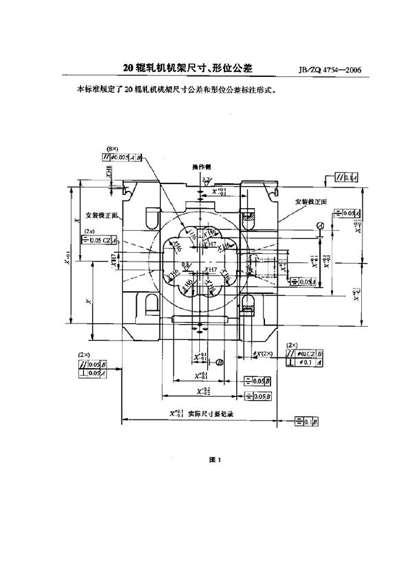
20辊轧机机架尺寸、形位公差 (JB/ZQ 4754-2006)
下载
免费下载 JB/ZQ 4754-2006
标准号JB/ZQ 4754-2006状态
发布于:
实施于:
20辊轧机机架尺寸、形位公差基本信息
标准号:JB/ZQ 4754-2006
标准名称:20辊轧机机架尺寸、形位公差
加入收藏
下载文件
声明:资源收集自网络或用户分享,仅供学习参考,使用请以正式版为准;如侵犯您的权益,请联系我们处理。
不能下载?报告错误
下页:
液压换向阀(20MPa) (JB/ZQ 4565-1997)
相关推荐
20辊轧机机架尺寸、形位公差 (JB/ZQ 4754-2006)