规范网
更新
当前位置:
规范网
标准
行业标准
内容详情
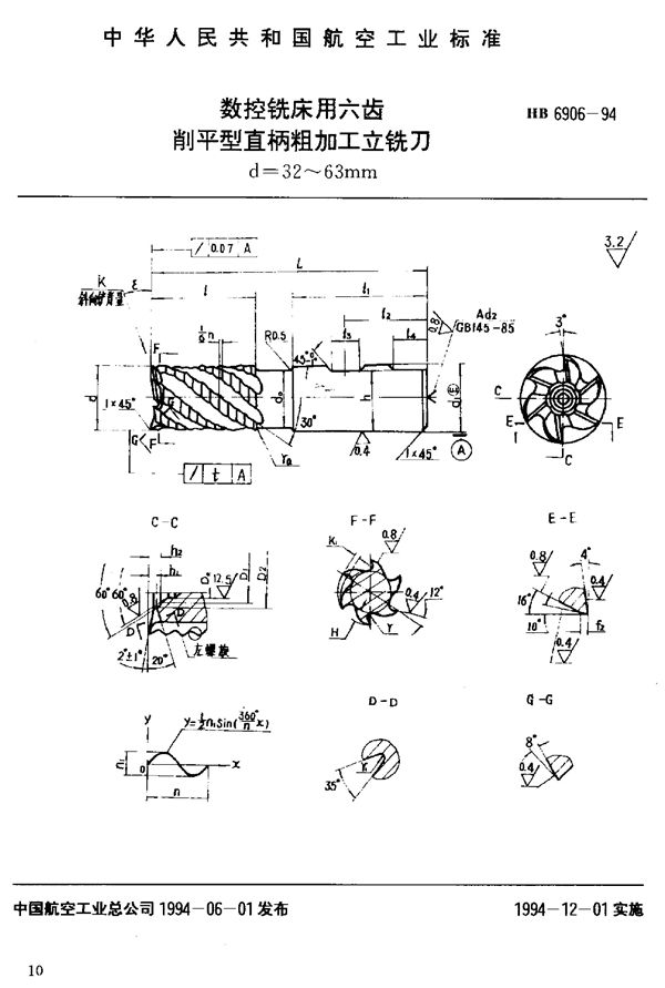
数控铣床用六齿削平型直柄粗加工立铣刀 (HB 6906-1994)
下载
免费下载 HB 6906-1994
标准号HB 6906-1994状态
发布于:
实施于:
数控铣床用六齿削平型直柄粗加工立铣刀基本信息
标准号:HB 6906-1994
标准名称:数控铣床用六齿削平型直柄粗加工立铣刀
加入收藏
下载文件
声明:资源收集自网络或用户分享,仅供学习参考,使用请以正式版为准;如侵犯您的权益,请联系我们处理。
不能下载?报告错误
下页:
数控铣床用四齿莫氏锥柄粗加工立铣刀 (HB 6907-1994)
相关推荐
双侧数控铣床 (T/ZASME 0001-2024)
数控铣削专用夹具设计与制造要求 (HB/Z 20029-2016)
航空结构件典型特征数控铣削编程方法 (HB/Z 20028-2016)
数控铣床、数控加工中心完好要求和检查评定方法 (SJ/T 31027-1994)
大型数控铣齿机 第1部分:精度检验 (JB/T 11571.1-2013)