规范网
更新
当前位置:
首页
标准
行业标准
内容详情
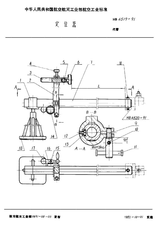
定位器 (HB 4519-1991)
下载
帮助
举报
收藏
上传文档
下载
预览图
用户名称:
胡丽纲
注册时间:
2024-08-21
认证方式:
手机认证
标准号HB 4519-1991状态
发布于:
实施于:
定位器基本信息
标准号:HB 4519-1991
标准名称:定位器
收藏
下载
声明:本站为网络服务提供者及网络索引服务平台资源索引自网络/用户分享,如有版权问题,请
联系
站方删除。
不能下载?报告错误
下页:
固定块 (HB 4520-1991)
相关推荐
流体系统阀门定位器 (T/WZSJD 2343-2024)
机床夹具零件及部件 Ⅴ型定位器 (QJ 94A-1997)
机床夹具零件及部件 带轴向紧固螺杆齿条式定位器 (QJ 806A-1997)
机床夹具零件及部件 齿条式定位器 (QJ 805A-1997)
机床夹具零件及部件 平面定位器 (QJ 802A-1997)