当前位置:规范网标准行业标准内容详情

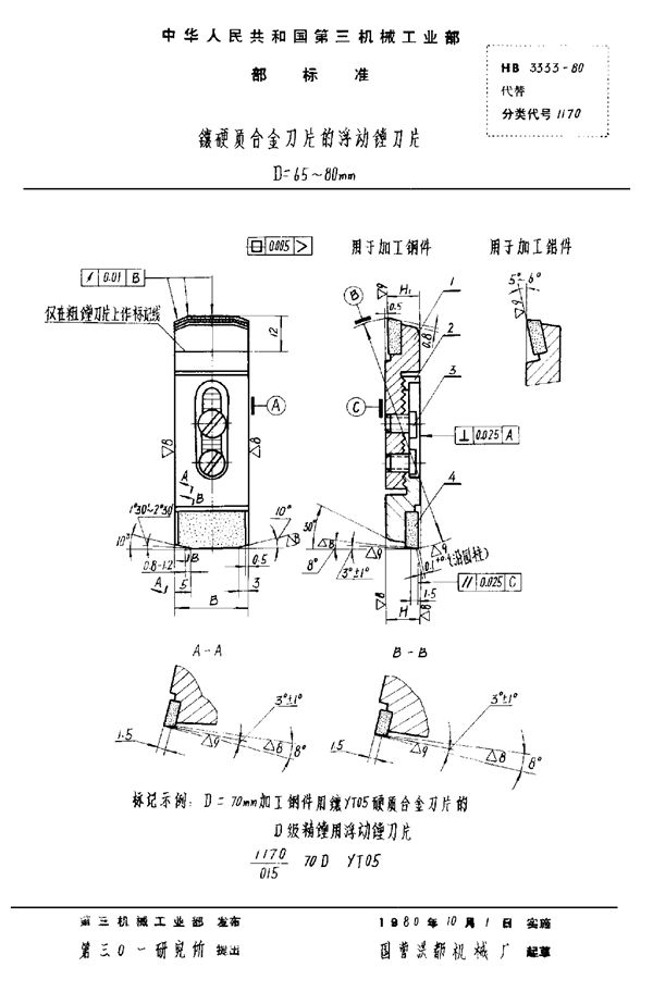
镶硬质合金刀片的浮动镗刀片 D=65~80mm (HB 3333-1980)

下载
免费下载 HB 3333-1980

镶硬质合金刀片的浮动镗刀片 D=65~80mm (HB 3333-1980)

标准号HB 3333-1980状态

发布于:

实施于:

镶硬质合金刀片的浮动镗刀片 D=65~80mm基本信息

标准号:HB 3333-1980

标准名称:镶硬质合金刀片的浮动镗刀片 D=65~80mm

声明:资源收集自网络或用户分享,仅供学习参考,使用请以正式版为准;如侵犯您的权益,请联系我们处理。

不能下载?报告错误