基本给水及设置水箱给水方式的特点及范围有哪些?
基本给水方式如图1--5所示。
这种供水方式最为简单经济,即由室外管网直接接人室内给水系统,以满足室内生活用水及消防用水。基本给水方式适用于单层或多层建筑,且对外网水压、水量变化要求不太严格的建筑物使用,

1---5
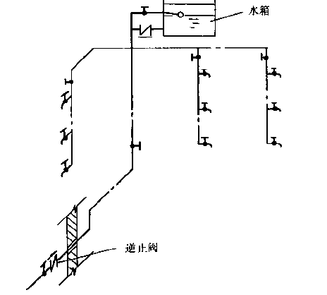
设置水箱的给水方式如图1--6所示。

1---6
当某些建筑物用水需要较为稳定的水压、水量或要求连续供水时,可在基本给水方式基础上,在建筑物的顶层上设置一给水箱。平时在室外管网一天内水压较高时,可将水储存在水箱内,待外网水压低于供水水压时,即可由水箱供水。采用水箱供水方式在给水入口处应设置逆止阀。