如何计算预制工字柱工程量并套用定额及清单?
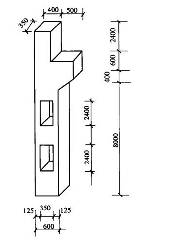
【例】如图所示,求预制工字柱工程量并套用定额及清单。

图
【解】(1)定额工程量
[0.60.35(8+0.4+0.6)+0.40.352.4+(0.6+0.6+0.4)0.30/20.35-0.350.352.42]m
=1.72m
套用基础定额5-438。
(2)清单计算方法同定额工程量。
清单工程量计算见表。
表 清单工程量计算表
项目编码
项目名称
项目特征描述
计量单位
工程量
010409002001
异形柱
I字形柱,安装高度11.4m
m
1.72
0条