如何计算控制开关安装工程量?
控制开关安装
清单工程量和定额工程量计算规则相同,均按设计图示数量计算。
项目编码:030213003项目名称:装饰灯
项目编码:030212001项目名称:电气配管
项目编码:030212003项目名称:电气配线
项目编码:030204019项目名称:控制开关
项目编码:030204018项目名称:配电箱
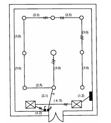
[例]某贵宾室照明系统中1回路如图所示,照明配电箱AZM尺寸为300mm200mm120mm(宽高厚),电源由本层总配电箱引来,配电箱为嵌入式安装,箱底标高1.6m;室内中间装饰灯为XDCZ-50,8100w,四周装饰灯为FZS-164,1100w,两者均为吸顶安装;单联、三联单控开关均为10A、250V,均暗装,安装高度为1.4m,两排风扇为300mm300mm,160w,吸顶安装;管路均为20镀锌钢管沿墙、顶板暗配,顶管敷管标高为4.50m,管内穿阻燃绝缘导线ZRBV-500,1.5mm;开关控制装饰灯FZS-164为隔一控一;配管水平长度见图示括号内数字,单位为m。试计算其工程量。

照明平面图
[解](1)配电箱AZM300mm200mm120mm:1台
(2)装饰灯XDCZ-50安装8100W:1套
(3)装饰灯FS-164安装1100w:8套
(4)单联单控开关安装10A250V:1个
(5)三联单控开关安装10A250V:1个
(6)排风扇300300 160W:2套
(7)镀锌钢管20沿砖混凝土结构暗配:
[(4.5-1.6-0.2)(敷管标高-配电箱安装高度-配电箱高)+1.2+4.5+1.2+(4.5-1.4)2(两个开关处的安装长度)+2.1+3.0+2,5+3.02+2.52+3.02]m=40.4m
8)电气配线管内穿线ZRBV-1.5mm:
二线:[(4.5-1.6-0.2)+1.2+3.03+2.5+0.3+0.2]2m=31.5m
三线:[4.5+(4.5-1.4)+1.2+3.02+2.52]3m=59.4m
四线:[(4.5-1.4)+2.1]4m=20.5m
总工程量为:(31.8+59.4+20.8)m=112m
清单工程量计算见表。
