建筑工程墙钢筋绑扎施工一般要求有哪些?
1.墙(包括水塔壁、烟囱筒身、池壁等)的垂直钢筋每段长度不宜超过4m(钢筋直径12mm)或6m(直径>12mm),水平钢筋每段长度不宜超过8m,以利绑扎。
2.墙的钢筋网绑扎同基础,钢筋的弯钩应朝向混凝土内。
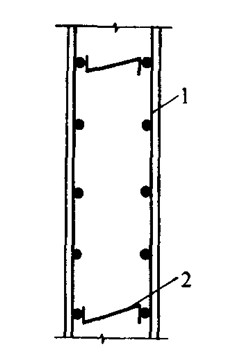
3.采用双层钢筋网时,在两层钢筋间应设置撑铁,以固定钢筋间距。撑铁可用直径6~10mm的钢筋制成,长度等于两层网片的净距(图9-118),间距约为1m,相互错开排列。

图9-118 墙钢筋的撑铁
1-钢筋网;2-撑铁
4.墙的钢筋,可在基础钢筋绑扎之后浇筑混凝土前插入基础内。
5.墙钢筋的绑扎,也应在模板安装前进行。