建筑工程数控钢筋调直切断机是什么?
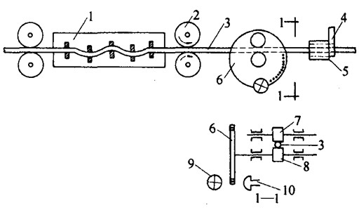
数控钢筋调直切断机是在原有调直机的基础上应用电子控制仪,准确控制钢丝断料长度,并自动计数。该机的工作原理,如图9-60所示。在该机摩擦轮(周长100mm)的同轴上装有一个穿孔光电盘(分为100等分),光电盘的一侧装有一只小灯泡,另一侧装有一只光电管。当钢筋通过摩擦轮带动光电盘时,灯泡光线通过每个小孔照射光电管,就被光电管接收而产生脉冲讯号(每次讯号为钢筋长1mm),控制仪长度部位数字上立即示出相应读数。当信号积累到给定数字(即钢丝调直到所指定长度)时,控制仪立即发出指令,使切断装置切断钢丝。与此同时长度部位数字回到零,根数部位数字示出根数,这样连续作业,当根数信号积累至给定数字时,即自动切断电源,停止运转。

图9-60 数控钢筋调直切断机工作简图
1-调直装置;2-牵引轮;3-钢筋;4-上刀口;5-下刀口;
6-光电盘;7-压轮;8-摩擦轮;9-灯泡;10-光电管
钢筋数控调直切断机已在有些构件厂采用,断料精度高(偏差仅约1~2mm),并实现了钢丝调直切断自动化。采用此机时,要求钢丝表面光洁,截面均匀,以免钢丝移动时速度不匀,影响切断长度的精确性。