建筑工程梁弯起钢筋布置要求有哪些?
1.梁中弯起钢筋的弯起角,一般为45;当梁高>800mm时,宜取60。
2.弯起钢筋的弯终点外应留有锚固长度,在受拉区不应小于20d,在受压区不应小于10d,对光圆钢筋在末端应设置弯钩(图9-18)。

图9-18 弯起钢筋端部构造
(a)受拉区;(b)受压区
3.弯起钢筋应在同一截面中与梁轴线对称成对弯起,当两上截面中各弯起一根钢筋时,这两根钢筋也应沿梁轴线对称弯起。梁底(顶)层钢筋中的角部钢筋不应弯起。
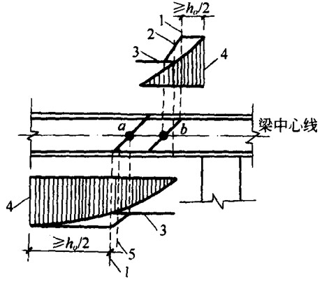
4.在梁的受拉区中,弯起钢筋的弯起点,可设在按正截面受弯承载力计算不需要该钢筋截面之前;但弯起钢筋与梁中心线交点应在不需要该钢筋的截面之外,同时,弯起点与计算充分利用该钢筋的截面之间的距离,不应小于h0/2,见图9-19。

图9-19 弯起钢筋弯起点与弯矩图形的关系
1-在受拉区域中的弯起点;2-按计算不需要钢筋b的截面;3-正截面受弯承载力图形;
4-按计算钢筋强度充分利用的截面;5-按计算不需要钢筋a的截面
5.弯起钢筋前排的弯起点至后一排的弯终点的距离,不应大于箍筋的最大间距。
6.当纵向受力钢筋不能在需要的位置弯起,或弯起钢筋不足以承受剪力时,需增设附加斜钢筋,且其两端应锚固在受压区内(鸭筋),不得采用浮筋,见图9-20。
