铝合金门窗安装施工工艺及方法有哪些?
1弹线找规矩
门窗位置详见建筑平面图。
在最顶层找出外门窗口边线,用大线坠将门窗边线下引,并在每层门窗口处划线标记,对个别不直的口边应进行处理,必须采用经纬仪较核。
门窗口的水平位置应以楼层+100cm线为准,量出门窗上下皮标高,弹线找直。每层窗上皮应在同一水平线上。

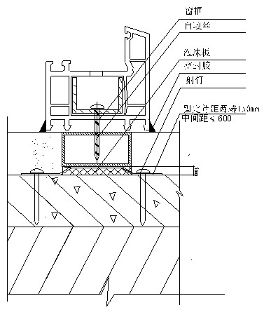
2副框的固定
混凝土墙体,副框与墙体采用射钉固定;后砌隔墙,副框与墙体采用固定件与墙体连接, 固定件大小为200201.5,该固定件为不镀锌条,固定件距副框两边150mm,中间间距600mm。
3门窗框的固定及边缝处理
有钢副框的,门窗框与副框之间采用自攻螺丝连接,副框与墙体间用水泥砂浆收口找平。框安装完成后,用密封胶填缝严密、平顺、平直。
无副框的,门窗框与洞口采用射钉固定,每边不少于2点,并确保牢固。窗框与墙体之间缝隙用矿棉条填塞,采用砂浆收口找平。收口砂浆应距铝合金框3-5 mm宽、5-8mm深槽口填密封膏。
4铝合金门窗扇安装
铝合金门、窗扇的安装,在室内装修基本完成后进行。
推拉窗扇的安装:将配好的窗扇分内扇和外扇,先将外扇插入上滑道的外槽内,自然下落于对应的下滑道内,然后再用同样的方法安装内扇。
平开门窗扇的安装:先把合页按要求位置固定在铝合金门、窗框上,然后将门、窗扇嵌入框内临时固定,调整合适后,再将门、窗扇固定在合页上,必须保证上下两个转动部分在同一个轴上。
5玻璃的安装
1、玻璃的裁割,根据门、窗扇(固定扇则为框)的尺寸来计算下料尺寸,但必须符合相应规范要求。
2、玻璃就位:当玻璃单块尺寸较小时,可用双手夹住就位,如果单块玻璃尺寸较大,为便于操作,采用玻璃吸盘。
3、玻璃密封与固定:玻璃就位后,用橡胶条嵌入凹槽挤紧玻璃,然后在胶条上面注入硅酮密封胶。玻璃放在凹槽的中间,5mm内外两侧的间隙2mm。玻璃的下部不得直接座落在金属上,采用3mm的路丁橡胶垫块将玻璃垫起。
6清理
1、铝合金门窗交工前,将表面的塑料胶纸撕掉,如果塑料胶纸在型材表面留有胶痕,清洗干净。
2、门、窗框扇,用水或浓度为1%~5%的PH7.3~9.5的中性洗涤剂充分清洗,再用布擦干。不得用酸性或碱性制剂清洗,也不得用钢刷刷洗。
3、玻璃用清水擦洗干净,对浮灰或其它杂物,要全部清洗干净。
4、待定位销孔与销对上后,再将定位销完全调出,并插入定位销孔中。
7打胶注意事项
1、打胶人员必须具有熟练的操作技能。
2、打胶前必须将基层清理干净,保证平直。
3、多余的胶不得随意丢弃,污染成品。