引桩(轴线控制桩)的测设要点有哪些?
由于龙门板需用较多木料,而且占用场地,使用机械挖槽时龙门板更不易保存。因此可以采用在基槽外各轴线的延长线上测设引桩的方法(图4-150a),作为开槽后各阶段施工中确定轴线位置的依据。即使采用龙门板,为了防止被碰动,也应测设引桩。在多层楼房施工中,引桩是向上层投测轴线的依据。
引桩一般钉在基槽开挖边线2~4m的地方,在多层建筑施工中,为便于向上投点,应在较远的地方测定,如附近有固定建筑物,最好把轴线投测在建筑物上。引桩是房屋轴线的控制桩,在一般小型建筑物放线中,引桩多根据轴线桩测设。在大型建筑物放线时,为了保证引桩的精度,一般都先测引桩,再根据引桩测设轴线桩。

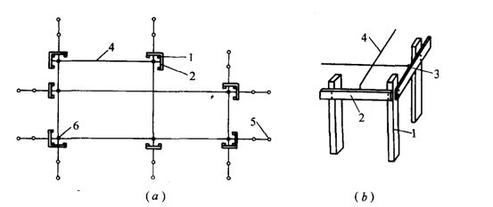
龙门板设置
(a)龙门板平面布置;(b)转角处龙门板
1-龙门桩;2-龙门板;3-轴线钉;4-线绳;5-引桩;6-轴线桩