混凝土桥桩基承台的构造要求有哪些?
1 桩基承台的高度宜为桩直径的1.0~2.0 倍,且不小于1.5m。

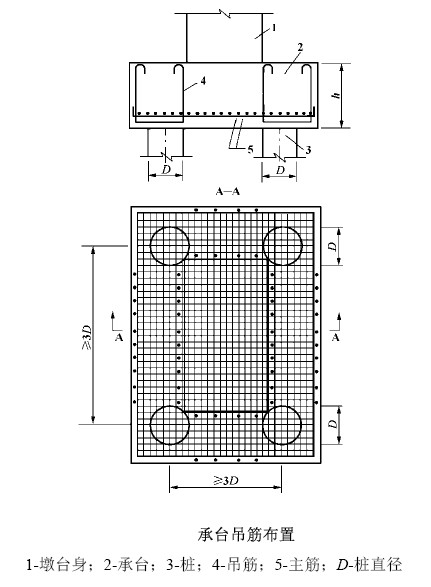
2 当桩中距不大于3 倍桩直径时,承台受力钢筋应均匀布置于全宽度内;当桩中距大于
3 倍桩直径时,受力钢筋应均匀布置于距桩中心1.5 倍桩直径范围内,在此范围以外应布置配
筋率不小于0.1%的构造钢筋。钢筋横向净距和层距应符合规定,最小混凝土保护层厚度应符合规定。
3 如承台仅有一个方向的受力钢筋时,在垂直于该各层受力钢筋方向,应设直径不小于12mm,间距不大于250mm 的构造钢筋。
4 承台的顶面和侧面应设置表层钢筋网,每个面在两个方向的截面面积,均不宜小于每米400mm2,钢筋间距不应大于400mm。在桩身顶端的承台平面内宜设一层钢筋网,平面内每一方向的每米宽度钢筋用量1200~1500mm2,钢筋直径采用12~16mm。
5 承台竖向连系钢筋,其直径不应小于16mm。
6 承台的桩中距等于或大于桩直径的三倍时,宜在两桩之间,距桩中心各一倍桩直径的中间区段内设置吊筋(图9.6.8),其直径不应小于12mm,间距不应大于200mm。