土方施工措施(放坡与支挡土板):
放坡
为了安全起见,当挖土深度超过一定的范围时,需要放坡,放坡一般从垫层上表面开始。放坡会增加土方的工程量。而这个增加的工程量在定额中予以表现。
放坡的起点依土壤的类别不同而不同(土壤类别的确定看相关部门的检测,一般施工图纸或施工组织设计上会有),其放坡系数则要看经批准的施工组织设计。如果施工组织设计没有特别规定的,参照定额的规定。
支挡土板
开挖基坑(槽)时,采用放坡是比较经济的,但是,如果地质条件及周围环境不允许,如在建筑稠密地区施工,或有地下水渗入基坑(槽)时,往往不可能按照要求的坡度放坡开挖,这时就需要进行基坑(槽)支护,以保证施工的顺利和安全,并减少对相邻建筑、管线的不利影响。
在土石方工程中,需要考虑的支护方式主要是指的是挡土板。
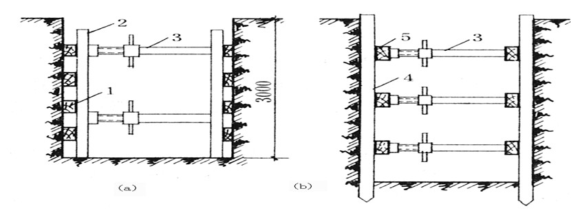
浅基础开挖采用挡土板支撑
用于深基坑的支护结构:板桩、灌注桩、深层搅拌桩、地下连续墙等
