(1)水泥土搅拌桩(或称深层搅拌桩)概念:
它是通过搅拌桩机将水泥与土进行搅拌,形成柱状的水泥加固土(搅拌桩)。
水泥土的水泥掺量通常12%~15%(单位土体的水泥掺量与土的重力密度之比)。


(2)特点及应用:
水泥土的强度可达0.8~1.2 MPa,其渗透系数很小,一般不大于10-6 cm/s。
由水泥土搅拌桩搭接而形成水泥土墙,它既具有挡土作用,又兼有隔水作用。
它适用于4~6 m深的基坑,最大可达7~8 m。
(3)布置形式:
水泥土墙通常布置成格栅式,格栅的置换率(加固土的面积:水泥土墙的总面积)为0.6~0.8。
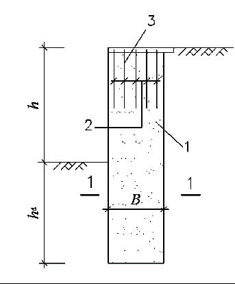
墙体的宽度b、插入深度hd根据基坑开挖深度h估算,一般b=(0.6~0.8)h,hd=(0.8~1.2)h

1搅拌桩;2插筋;3面板

(4)水泥土墙的设计
其破坏形式主要为:倾覆、滑动位移过大及整体失稳。
设计主要包括整体稳定、抗倾覆稳定、抗滑移稳定、位移等,有时还应验算抗渗、墙体应力、地基强度等。

(5)水泥土搅拌桩施工
①施工机械
深层搅拌桩机的组成由深层搅拌机(主机)、机架及灰浆搅拌机、灰浆泵等配套机械组成。

深层搅拌桩机机组
1主机;2机架;3灰浆拌制机;4集料斗;5灰浆泵;6贮水池;7冷却水泵;8道轨;9导向管;10电缆;11输浆管;12水管
②施工工艺
一次喷浆、二次搅拌:适用于水泥掺量较小,土质较松时;
二次喷浆、三次搅拌:适用于水泥掺量较大,土质较密实的情况。

【注意】当采用二次喷浆、三次搅拌工艺时可在图示步骤5作业时也进行注浆,以后再重复4与5的过程。
③施工注意问题
注意水泥浆配合比及搅拌制度、水泥浆喷射速率与提升速度的关系及每根桩的水泥浆喷注量,以保证注浆的均匀性与桩身强度。
施工中还应注意控制桩的垂直度以及桩的搭接等,以保证水泥土墙的整体性与抗渗性。