1.结构施工图的识读要领
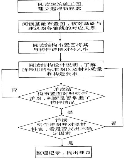
在阅读结构施工图前,必须先阅读建筑施工图,由此,建立起建筑物的轮廓,并且在识读结构施工图期间,还应反复查核对结构与建筑对同一部位的表示,这样才能准确地理解结构图中所表示的内容。
识读结构施工图也是一个由浅入深,由粗到细的渐进过程。结构施工图用粗线条表示要突出的重点内容,为了使图面清晰常常利用代号代表所表示的构件和做法。
2.结构施工图的识读方法

(1)结构设计说明的阅读
了解对结构的特殊要求,了解说明中强调的内容,掌握,材料、质量、以及要采取的技术措施的内容,了解所采用的技术标准和构造,了解所采用的标准图。
(2)基础布置图的识读
要注意基础的标高和定位轴线的数值,了解基础的形式和区别,注意其它工种在基础上的预埋件和留洞。
①查阅建筑图,核对所有的轴线是否和基础一一对应,了解是否有的墙下无基础而用基础梁替代,基础的形式有无变化,有无设备基础。
②对照基础的平面和剖面,了解基底标高和基础顶面标高有无变化,有变化时是如何处理的。
③了解基础中预留洞和预埋件的平面位置、标高、数量。
④了解基础的形式和做法。
⑤了解各个部位的尺寸和配筋。
⑥反复以上的过程,解决没有看清楚的问题。对遗留问题整理好纪录。
(3)结构布置图的识读
结构布置图,由结构平面图和剖面图或标准图组成。
①了解结构的类型,了解主要构件的平面位置与标高,并与建筑图结合了解各构件的位置和标高的对应情况。
②结合剖面图、标准图和详图对主要构件进行分类,了解它们的相同之处和不同点。
③了解各构件节点构造与预埋件的相同之处和不同点
④了解整个平面内,洞口、预埋件的做法与相关专业的连接要求。
⑤了解各主要构件的细部要求和做法,反复以上步骤,逐步深入了解,遇到不清楚的地方在纪录中标出,进一步详细查找相关的图纸,并结合结构设计说明认定核实。
⑥了解其它构件的细部要求和做法,反复以上步骤,消除记录中的疑问,确定存在的问题,整理、汇总、提出图纸中的存在的遗漏和施工中存在的困难,为技术交底或会审图纸提供资料。
(4)结构详图的识读
①首先应将构件对号入座,即:核对结构平面上,构件的位置、标高、数量是否与详图相吻合,有无标高、位置和尺寸的矛盾。
②了解构件与主要构件的连接方法,看能否保证其位置或标高,是否存在与其它构件相抵触的情况。
③了解构件中配件或钢筋的细部情况,掌握其主要内容。
④ 结合材料表核实以上内容。
(5)结构施工图汇总
整理记录,核对前面提出的问题,提出建议。