1 型钢悬挑脚手架技术参数

2 型钢悬挑脚手架施工工艺
2.1 工艺流程
水平悬挑纵向扫地杆立杆横向扫地杆小横杆大横杆(搁栅)剪刀撑连墙件铺脚手板扎防护栏杆扎安全网。
2.2 水平悬挑梁
水平悬挑梁采用 16号工字钢,工字钢正常水平间距1 500mm,大部份悬挑长度1 250mm , 锚固长度1.25倍悬挑长度,固定段长度不应小于悬挑段长度的1.25倍。楼板上应预先配置用于承受悬挑梁锚固端作用引起负弯矩的受力钢筋,否则应采取支顶卸载措施。遇悬挑件应按照悬挑件的受力支点为锚固支座,悬挑长度应以锚固支座向外计算1.25倍悬挑长度。悬挑件不得作为受力支点和稳固点。

结构阳角处悬挑工字钢交汇,无法保证伸入端长度时,在交汇处采用两侧工字钢与阳角处工字钢焊接,上下各增设 一200mm200mm10mm钢板,所有接触点必须满焊,焊脚高度不得小于 8mm,且不得有气孔、夹渣、漏焊等现象,如下图所示。


阳角处工字钢连接示意图
2.3 悬挑梁的锚固
悬挑梁尾端应在2处及以上固定于钢筋混凝土梁板结构上。型钢悬挑梁固定端应采用2个预埋锚栓与建筑结构梁板固定,锚栓应预埋至混凝土梁、板底层钢筋位置,并应与混凝土梁、板底层钢筋焊接或绑扎牢固锚固,钢筋直径为20mm ,如下图所示。


2.4 钢丝绳和花篮螺栓
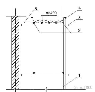
工字钢悬挑端设置1道 14(619)的斜拉钢丝绳,钢丝绳与建筑结构拉结的吊环采用直径为20㎜的HPB235 级圆钢筋。工字钢与钢丝绳拉结的下部应焊接防滑构件,防止钢丝绳的滑动。其大样图如下图所示。

钢丝绳的受力卡扣应等距布设3个或以上,间距钢丝绳直径6倍,第4个卡扣为保险卡扣。钢丝绳卡扣螺丝应全部拧紧,不允许松动,绳的末端应形成一个安全弯,以检视绳受力时有无末端滑移的现象。其大样图如下图所示。


花篮螺栓用来调整钢丝绳的松紧度


2.5 基础
根据相关规范及我司的经验,在悬挑梁上设置立杆固定脚,采用DN25钢筋头与钢梁满焊。
2.6 立杆设置
1)立杆直接立在悬挑梁上,外端立杆距悬挑梁端不应小于100mm,挑梁悬挑端焊接200mm高直径25mm的钢筋,用于固定钢管,防止方管的滑动。

2)立杆采用对接接头连接,立杆与大横杆采用直角扣件连接。接头位置交错布置,2个相邻立杆接头避免出现在同步同跨内,并在高度方向错开的距离不小于50cm ;各接头中心距主节点的距离不大于60cm 。立杆与立杆采用对接扣件连接,接头位置距离主节点不超过1/3步距。
3)立杆的垂直偏差应控制在不大于架高的1/400。
2.7 纵向水平杆
纵向水平杆置于小横杆之下,在立杆的内侧,采用直角扣件与立杆扣紧,其长度大于三跨,同一步纵向水平杆四周交圈。脚手架立杆横距1m宽度范围内共设置4根纵向水平杆,两侧的纵向水平杆直接用扣件连接到立杆,中间的纵向水平杆均匀布置。纵向水平杆采用对接扣件连接,接头交错布置,接头不在同步、同跨内,相邻接头水平距离不小于50cm,各接头与立杆距离不大于50cm。
2.8 小横杆
每根立杆与纵向水平杆相交连接处必须设置1根小横杆,并采用直角扣件扣紧在立杆上,该杆轴线偏离主节点距离不大于15cm,小横杆间距应与立杆纵距相同,根据作业层脚手板搭设的需要,在两纵向水平杆之间等距离设置2根横杆。小横杆伸出外排纵向水平杆边缘距离不小于10cm,伸出里排纵向水平杆25cm,距结构外边缘10cm。上、下小横杆在立杆处交错布置,同层的相邻小横杆在立柱处相向布置,如下图所示。

小横杆位置图
2.9 纵、横向扫地杆
纵向扫地杆采用直角扣件固定在距离底座下皮200mm处的立杆上,横向扫地杆紧靠纵向扫地杆下方用直角扣件固定在立杆上,立杆底座存在高差处,将高处纵向扫地杆向低处延长两跨与立杆固定。
1)大横杆置于立杆里面,每侧外伸长度为150mm左右。
2)外架按立杆与大横杆交点处设置小横杆,两端固定在立杆,以形成空间结构整体受力。
3)脚手架外侧立面的两端向里全立面设置剪刀撑,并应由底至顶连续设置。剪刀撑斜杆的接长宜采用搭接,搭接长度不小于1m,应采用3个旋转扣件固定。剪刀撑斜杆应用旋转扣件固定在与之相交的横向水平杆的伸出端或立杆上,旋转扣件中心线离主节点的距离不宜大于150mm。剪刀撑搭设角度为45~60度之间。

2.10 脚手板的铺设
1)首层隔离层和施工操作层满铺钢笆片脚手板,做到严密、牢固、铺平、铺稳,不得超过50mm的间隙。
2)架体上满铺钢笆,钢笆外形尺寸为1000mm700mm,6@80,钢笆点焊必须牢靠,外涂防锈油漆。钢笆应铺满、铺设平稳,用扎丝与钢管扣牢。
3)架体与主体结构的间距超过300mm时,每层须满铺钢笆,防止物体坠落,铺设时不得有超过50mm的间隙,同时严禁留有探头长度大于150mm的探头板。
4)钢笆片要垂直于纵向水平杆方向铺设,且采用对接平铺,4个角用直径1.2mm的镀锌钢丝固定。

铺钢笆脚手板时纵向水平杆的构造
1立杆;2纵向水平杆;3横向水平杆;4竹笆脚手板;5其它脚手板
2.11 安全防护
1)脚手架外侧使用建设主管部门认证的合格绿色密目式安全网封闭,且将安全网固定在脚手架外立杆里侧。
2)选用塑料扣或尼龙绳张挂安全网,要求严密、平整;作业层下用安全平网严密防护,施工层以下每隔10m以内封闭一次。
3)脚手架外侧必须设1.2m 高的防护栏杆和30cm高踢脚杆,顶排防护栏杆不少于2道,高度分别为0.6m和1.2m。
4)脚手架内侧形成临边的(如遇大开间门窗洞等),在脚手架内侧设1.2m的防护栏杆和30cm高踢脚杆。
5) 脚手架上门洞、出入口构造如下图所示。

门洞口及出入口构造图
6)安全通道口、电梯进出口、卸料平台出入口等主要出入口需要在架体设计和施工时准确定位具体位置,必须按部位设置架体分离(包括埋件、型钢、大横杆、立杆、小横杆、连墙件等等),以便后步出入口的施工。
连墙件布置原则
考虑脚手架的整体稳定性,均采用2步3跨的形式,即横向间距不得大于3m,纵向间距不得大于3.6m,所有连墙件采用双扣件连接。局部高支模范围通常可以布置为三步三跨、两步三跨以及两步两跨等,一般每个连墙件覆盖面积在20~40平方米,具体应根据受力点的分布位置综合考虑。连墙件的布置应靠近主节点设置,当该处设置有困难时,应采用其他可靠措施固定;应优先采用菱形布置,或采用方形,矩形布置。
连墙点的位置要求
在与立杆和大横杆相交的接点处,离节点的间距不宜大于 300mm。连墙杆必须从底部第一根大横杆处开始设置,沿整片脚手架错开均匀布置。在脚手架周边的端头(包括顶端)以及转角处,要加密连墙杆。 拉结点在转角范围内和顶部处加密,即在转角lm以内范围按垂直方向每3.0m设一拉结点。
刚性连墙杆采用如下做法
1)现浇混凝土的梁板上预埋竖向短钢管,然后用连接短钢管一端与预埋竖向短钢管用直角扣件连接,另一端用直角扣件与立杆连接,并增加12的钢筋软拉和钢管顶件。
2) 短钢管、扣件与钢筋混凝土柱连接,如图所示。
3)架体与剪力墙连接处,采用止水螺杆外套钢管与架体连接,如下图所示。
4)施工过程中当个别连墙杆被拆除后在相当一段时期内难于补上时,应采取在附近添设一个临时的连墙杆,限制施工荷载或加强横向刚度等。
每搭完一步脚手架后,按规定要求校正步距、纵距、横距及立杆的垂直度。

拉结点示意图(一)

拉结点示意图(二)

拉结点示意图(三)
外墙装饰阶段拉结点,也须满足上述要求,确因施工需要除去原拉结点时,必须重新补设可靠、有效的临时拉结点,以确保外架安全可靠。
2.12 外脚手架的防护
在铺设脚手板的作业层脚手架外立杆的内侧绑两道牢固的护身栏杆和挡脚板。2道护身栏杆离脚手架的高度分别为0.6m和1.2m,紧贴外立杆内侧安设2道水平钢管。挡脚板宽度在180mm左右。架体须超过施工操作层1.5~1.8m高,中间须加防护栏杆。

架体搭设高度满挂绿色密目式安全网;使用的密目式安全网必须是建设部认证产品。为保证密目式安全网的稳定性,在满挂安全网时,纵横双向间距750mm处用塑料打包带固定(严禁使用铁丝固定安全网),使安全网固定点密集,并增强观感。


作业层脚手板应铺满、铺稳、铺实,防止物体坠落,首层、顶层应满铺脚手板,以保证脚手架的顶端有足够的横向水平刚度。




悬挑外脚手架在底层外立杆与建筑物边线之间范围内全部采用模板及木枋进行封闭,并设180mm高的挡脚板,防止坠物伤人。在操作层设水平兜网,并满铺脚手板,水平安全网接口处必须连接严密。安全网必须与结构连接严密牢固。严禁使用损坏和腐朽的安全网。

当风力大于六级时,工人不得在架子上进行施工操作。

栏杆与挡脚板构造
注:1-上栏杆;2-外立杆;3-挡脚板;4-中栏杆
2.13.支撑体系
1)脚手架必须设置支撑体系。支撑体系包括纵向支撑(剪刀撑)、横向支撑,这些支撑应和脚手架这一空间构架的基本构件很好联结。
2)剪刀撑宽度不应小于4跨,且不应小于6m,架体外侧全立面连续设置剪刀撑,每道剪刀撑跨越5个立杆间距,斜杆与地面倾角为45~60度。剪刀斜撑杆的接长宜采用搭接,搭接长度不小于1m,应采用不少于3个旋转扣件固定。剪刀撑斜杆应用旋转扣件固定在与之相交的横向水平杆的伸出端或立杆上,旋转扣件中心线离主节点的距离不宜大于150mm 。
纵向支撑详图

横向支撑
脚手架的纵向传力结构架构件限制不能形成封闭形。如凹字型的脚手架,其两端必须设置横向支撑。并于中间每隔六个间距加设一道横向支撑,如图所示。

横向支撑详图
2.14 卸荷绳及上部预埋件做法
卸荷绳布置
通过计算卸荷采用14619绳钢丝绳(钢丝1.2mm,钢丝总断面积128. 8mm2,单位重量121.8kg/100m,钢绳破断拉力总和不小于180kN),按每跨1道布置。钢丝绳与钢梁之间角度60。
上部预埋件做法
1)采用20钢筋吊环预埋在结构梁、墙、柱等构件上,做法如下图所示。

卸荷绳做法详图
2)采用在结构上预埋套管管内径20,然后用一端套丝的螺杆穿套管固定,如下图所示。

上部预埋件做法详图
2.15 悬挑架角部加强措施
本方案中,脚手架架体结构在平面上存在多个转角(阳角)处,转达角处应采取加强措施:
1)角部悬挑部分4面应设置横向斜撑。
2)角部悬挑部分应设置钢丝绳两道。
2.16 立杆不在同一高度的加强措施
1)必须将高处的纵向扫地杆向低处的架子延长两跨与低处架子立杆固定。
2)当高低跨架子大横杆不在同一高度时,必须将高处的大横杆向低处的架子延长两跨与低处架子立杆固定(仅限不在同一高度上的大横杆)。
2.17 悬挑脚手架阳角处加强做法

2.18 悬挑梁顶撑加固措施示意图

2.19 工字钢与工字钢连接示意图

2.2 井道内架体搭设
井道内架体采用型钢钢管脚手架架体,脚手架每层与周边剪力墙刚性连接,从底部至顶部连续设置剪刀撑。


井道内定型平台示意图(一)

井道内定型平台示意图(二)
3.悬挑式脚手架的围护
悬挑外脚手架在底层外立杆与建筑物边线之间范围内全部采用模板及木枋进行封闭,并设 180mm 高的挡脚板,防止坠物伤人。在操作层设水平兜网,并满铺脚手板,水平安全网接口处必须连接严密。安全网必须与结构连接严密牢固。严禁使用损坏和腐朽的安全网,挑架外侧满挂密目式安全网。本工程工期紧张,需要各项工序提前插入交叉施工,如,塔楼上部结构施工时,下部则插入幕墙施工,须对脚手架全密封处理,具体处理方法及方式详悬挑脚手架底部封闭处理措施。
悬挑外架在作业层上设置钢笆片脚手板,并设置钢板网,防止坠物穿破安全网伤人。钢板网设置在安全网内侧,用14号铅丝与外架钢管间绑牢,为便于周转使用,宜采用定型化钢板网,钢板网宽度采用1 500mm和1 800mm 2种规格尺寸。
4.检查验收
4.1 脚手架的验收时间
1)作业层上施加荷载前。
2)每搭设完2层后。
3)达到设计高度后。
4)遇到六级大风与大雨后。
5)停用超过一个月。
4.2 外脚手架的检查验收
脚手架的验收的依据
1)《建筑施工安全检查标准JGJ59-2011 》。
2)《建筑施工扣件式钢管脚手架安全技术规范》(JGJ130-2011 )。
3)《本工程外脚手架施工方案》。
4)有关技术交底文件。
悬挑式外脚手架验收的内容
悬挑外脚手架在使用过程中应定期检查下列项目:
1)杆件的设置和连接,连墙件、支撑、门洞等的构造是否符合要求。
2)扣件螺栓是否松动。
3)安全防护措施是否符合要求。
4)是否超载。
5)固定工字钢以及拉钢丝绳的钢筋环是否松动、脱落。
6)钢丝绳是否出现断股等。
7)脚手板搭设是否满铺、牢固,且没有探头板。
8)外脚手架的技术要求与允许偏差。
脚手架技术要求及允许偏差表

外脚手架检查项目一览表


4.3、外脚手架验收要求
架子搭设和组装完毕,使用前必须由公司负责人带队检查,项目经理、技术负责人、项目安全负责人、架子班长等人员组成检查小组参与检查,进行验收,并填写验收单。
本外架只能作围护架和操作架使用,不允许将其作为主体结构施工模板加固和支撑架使用。转料平台的搭设应与外脚手架完全分离,不得利用外脚手架作为转料平台。在特殊情况需要在外脚手架上搭设转料平台时应请技术部门出书面的通知及方案。转料平台上料时,须轻放堆载物,并保证转料平台的受力均衡,不得随意超负荷使用。
施工人员必须严格执行《建设工程施工安全技术操作规程》。
悬挑外架验收表

4.4、连墙件
连墙件采用短钢管预埋在混凝土边梁上,根据连墙件平面图放置,预埋完毕后在混凝土浇筑前再次检查位置及预埋的埋入尺寸及外伸尺寸,其中外伸尺寸不得少于200mm。垂直度全高控制在20mm内,位置偏差控制在50mm内。
4.5、卸荷装置
卸荷装置包括吊环预埋及钢丝绳吊拉,吊环装置检查项目包括布置、直径、楼层设置的位置。钢丝绳必须张拉紧固,检查项目为钢丝绳的直径、类型,钢丝绳直径不得小于验算结果的数值;连接头螺栓的布置方法及安全弯的设置。钢丝绳紧固采用手动葫芦拉紧连接,钢丝绳夹紧固后松开手动葫芦。