一、板式楼梯和梁板式楼梯简介
1、楼梯的分类
按位置,可分为室内楼梯和室外楼梯两类;
按施工方式,可分为现浇和预制两类;
按使用性质,可分为主要楼梯、辅助楼梯、安全楼梯(太平梯)和防火楼梯四类;
按材料,可分为钢楼梯、钢筋混凝土楼梯、木楼梯、钢与混凝土混合楼梯等;
按形式,可分为直上楼梯、曲尺楼梯、双折楼梯(又称转弯楼梯、双跑楼梯、平行楼梯)、三折楼梯、弧形楼梯、螺旋
形楼梯、有中柱的盘旋形楼梯、剪刀式楼梯和交叉楼梯等;
根据梯跑结构形式,可分为梁板式楼梯、板式楼梯、悬挑楼梯和旋转楼梯等。
2、板式楼祥的构件组成
以一个楼梯间所包含的构件为例,一个完整的现浇钢筋混凝土板式楼梯主要有踏步板( TB),梯梁( TL)或平台梁( PTL ) (层间梯梁和楼层梯梁)和平台板( PTB ) (层间平板和楼层平板)等。见图7-2。




二、板式楼梯的平法分类

1、第一组AT~ET型板式楼梯



AT~ET型板式楼梯具备以下特征:
1) AT~ET每个代号代表一段带上下支座的梯板。梯板的主体为踏步段,除踏步段之外,梯板可包括低端平板、高端平板以及中位平板。
2) AT~ET各型梯板具有特定的剖切面形状,如AT型梯板全部由踏步段构成,BT型梯板由低端平板和踏步段构成,CT型梯板由踏步段和高端平板构成,DT型梯板由低端平板、踏步段和高端平板构成,而ET型梯板由低端踏步段、中位平板和高端踏步段构成。
3) AT~ET各型梯板的两端分别以低端和高端的梯梁为支座,采用该组板式楼梯的楼梯间内部既要设置楼层梯梁,也要设置层间梯梁(其中ET型梯板两端均为楼层梯梁),以及与其相连的楼层平台板和层间平台板。
4) AT~ET各型梯板的型号、板厚、上下部纵向钢筋及分布钢筋等内容由设计者在平法施工图中注明。梯板上部纵向钢筋向跨内伸出的水平投影长度见相应的标准构造详图,设计不注,但设计者应予以校核;当标准构造详图规定的水平投影长度不满足具体工程要求时,应由设计者另行注明。
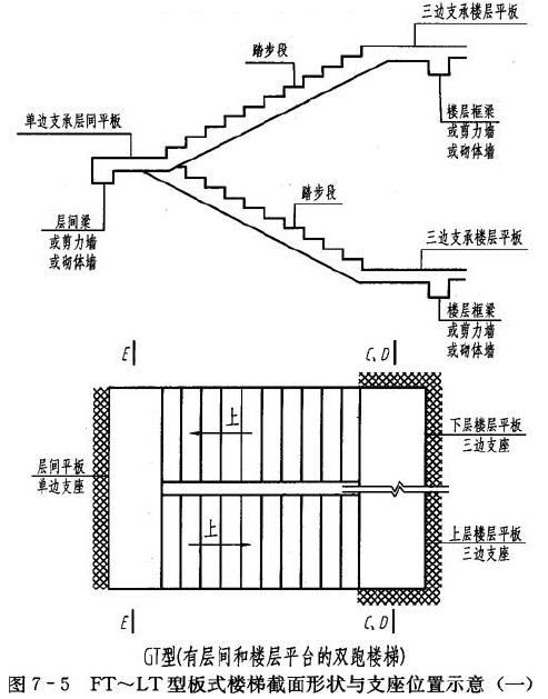
2、第二组FT~LT型板式楼梯




FT~HT型板式楼梯具备以下特征:
1) FT~ HT每个代号代表两跑踏步段和连接它们的楼层平板及层间平板。
2) FT~HT梯板的构成分两类:
第一类是FT型和GT型,由层间平板、踏步段和楼层平板构成。
第二类是HT型,由层间平板和踏步段构成。

3、ATa、Atb型板式楼梯特征

1) ATa, ATb型为带滑动支座的板式楼梯,梯板全部由踏步段构成,其支承方式为梯板高端均支承在梯梁上,ATa型梯板低端带滑动支座支承在梯梁上,ATb型梯板低端带滑动支座支承在梯梁的挑板上。
2)滑动支座做法见图7一11,采用何种做法应由设计指定。滑动支座垫板可选用聚四氟乙烯板(四氟板),也可选用其他能起到有效滑动的材料,其连接方式由设计者另行处理。
3) ATa, ATb型梯板采用双层双向配筋。梯梁支承在梯柱上时,其构造做法按第5章中的框架梁KL;支承在梁上时,其构造做法按第5章中的非框架梁。

4、ATc型板式楼梯特征
1) ATc型梯板全部由踏步段构成,其支承方式为梯板两端均支承在梯梁上。
2 ) ATc型楼梯休息平台与主体结构可整体连接,也可脱开连接,见图7一23和图7一24。
3) ATc型楼梯梯板厚度应按计算确定,且不宜小于140mm;梯板采用双层配筋。
4) ATc型梯板两侧设置边缘构件(暗梁),边缘构件的宽度取1. 5倍板厚;边缘构件纵筋数量,当抗震等级为一、二级时不少于6根,当抗震等级为三、四级时不少于4根;箍筋为6@200。
梯梁按双向受弯构件计算,当支承在梯柱上时,其构造做法按第5章中的框架梁KL;当支承在梁上时,其构造做法按非框架梁L。