一、建筑剖面图的形成与用途
假想用一个或一个以上的铅垂剖切平面剖切建筑物,得到的剖面图称为建筑剖面图,简称剖面图。 建筑剖面图用以表示建筑内部的结构构造、垂直方向的分层情况、各层楼地面、屋顶的构造及相关尺寸、标高等。
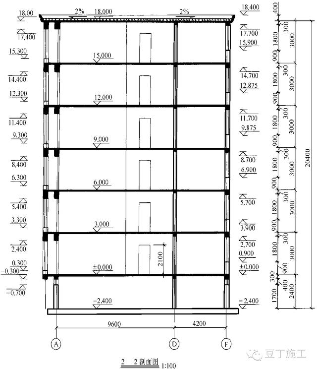
剖切的位置常取楼梯间、门窗洞口及构造比较复杂的典型部位。剖面图的数量,则根据房屋的复杂程度和施工的实际需要而定。 剖面图的名称必须与底层平面图上所标的剖切位置和剖视方向一致。
二、剖面图的图示内容及规定画法
1、定位轴线
应注出被剖切到的各承重墙的定位轴线及与平面图一致的轴线编号和尺寸。
2、图线
室内外地坪线用加粗实线表示;地面以下部分,从基础墙处断开,另由结构施工图表示;剖面图的比例应与平面图、立面图的比例一致;
①比例小于1:50的剖面图 ,可不画出抹灰层,但宜画出楼地面、屋面的面层线;
②比例大于1:50的剖面图,应画出抹灰层、楼地面、屋面的面层线,并宜画出材料图例;
③比例等于1:50的剖面图,宜画出楼地面、屋面的面层线,抹灰层的面层线应根据需要而定;
在剖面图中一般不画材料图例符号,被剖切平面剖切到的墙、梁、板等轮廓线用粗实线表示,没有被剖切到但可见的部分用细实线表示,被剖切断的钢筋混凝土梁、板涂黑。但宜画出楼地面、屋面的面层线。


3、尺寸注法
在剖面图中,应注出垂直方向上的分段尺寸和标高。
㈠垂直分段尺寸:一般分三道

㈡标高:应标注被剖切到的外墙门窗口的标高,室外地面的标高,檐口、女儿墙顶的标高,以及各层楼地面的标高。
三、剖面图的识读

1.先了解剖面图的剖切位置与编号
2.了解被剖切到的墙体、楼板和屋顶
3.了解可见的部分
4.了解剖面图上的尺寸标注