一、什么是剪力墙
剪力墙(shear wall)又称抗风墙或抗震墙、结构墙。房屋或构筑物中主要承受风荷载或地震作用引起的水平荷载的墙体。防止结构剪切破坏,一般为钢筋混凝土造。剪力墙分为分平面剪力墙和筒体剪力墙。平面剪力墙用于钢筋混凝土框架结构、升板结构、无梁楼盖体系中。为增加结构的刚度、强度及抗倒塌能力,在某些部位可现浇或预制装配钢筋混凝土剪力墙。现浇剪力墙与周边梁、柱同时浇筑,整体性好。筒体剪力墙用于高层建筑、高耸结构和悬吊结构中 ,由电梯间、楼梯间、设备及辅助用房的间隔墙围成,筒壁均为现浇钢筋混凝土墙体,其刚度和强度较平面剪力墙高可承受较大的水平荷载。剪力墙按结构材料可以分为钢筋混凝土剪力墙、钢板剪力墙、型钢混凝土剪力墙和配筋砌块剪力墙。

二、结构功能特效
概念和结构效能
1.建筑物中的竖向承重构件主要由墙体承担时,这种墙体既承担水平构件传来的竖向荷载,同时承担风力或地震作用传来的水平地震作用。剪力墙即由此而得名(抗震规范定名为抗震墙)。
2.剪力墙是建筑物的分隔墙和围护墙,因此墙体的布置必须同时满足建筑平面布置和结构布置的要求。

3,剪力墙结构体系,有很好的承载能力,而且有很好的整体性和空间作用,比框架结构有更好的抗侧力能力,因此,可建造较高的建筑物。
4.剪力墙结构的优点是侧向刚度大,在水平荷载作用下侧移小,其缺点是 剪力墙的间距有一定限制,建筑平面布置不灵活,不适合要求大空间的公共建筑,另外结构自重也较大,灵活性就差。一般适用住宅、公寓和旅馆。
5.剪力墙结构的楼盖结构一般采用平板,可以不设梁,所以空间利用比较好,可节约层高。
三、剪力墙施工方案
1、钢筋绑扎:
1)将预留钢筋调直理顺,并将表面砂浆等杂物清理干净。先立2~4 根纵向筋,并划好横筋分档标志,然后于下部及齐胸处绑两根定位水平筋,并在横筋上划好分档标志,然后绑其余纵向筋,最后绑其余横筋。如剪力墙中有暗梁、暗柱时,应先绑暗梁、暗柱再绑周围横筋。
2) 剪力墙的纵向钢筋每段钢筋长度不宜超过4m(钢筋的直12mm)或6m(直径>12mm),水平段每段长度不宜超过8m,以利绑扎。
3) 剪力墙的钢筋网绑扎。全部钢筋的相交点都要扎牢,绑扎时相邻绑扎点的铁丝扣成八 字形,以免网片歪斜变形。
4) 为控制墙体钢筋保护层厚度,宜采用比墙体竖向钢筋大一型号钢筋梯子凳措施,在原位替代墙体钢筋,间距1500mm 左右。
5) 剪力墙竖向分布钢筋可在同一高度搭接,搭接长度不应小于1.2 laE;
6) 剪力墙分布钢筋的锚固:剪力墙水平分布钢筋应伸至墙端,并向内水平弯折10d 后截断,其中d 为水平分布钢筋直径。 当剪力墙端部有翼墙或转角墙使,内墙两侧的水平分布钢筋和外墙内侧的水平分布钢筋应伸至翼墙或转角墙外边,并分别向两侧水平弯折后截断,其水平弯折长度不宜小于15d。
7) 剪力墙洞口连梁应沿全长配置箍筋,箍筋直径不宜小于6mm,间距不宜大于150mm。
8) 混凝土浇筑前,对伸出的墙体钢筋进行修整,并绑一道临时横筋固定伸出筋的间距(甩筋的间距)。墙体混凝土浇筑时派专人看管钢筋,浇筑完后,立即对伸出的钢筋(甩筋)进行修整。
9) 外砖内模剪力墙结构,剪力墙钢筋与外砖墙连接:绑内墙钢筋时,先将外墙预留的拉结筋理顺,然后再与内墙钢筋搭接绑牢。
2、剪力墙采用预制焊接网片的绑扎:
1) 将墙身处预留钢筋调直理顺,并将表面杂物清理干净。按图纸要求将网片就位,网片立起后用木方临时固定支牢。然后逐根绑扎根部搭接钢筋,在搭接部分和两端共绑3个扣,同时将门窗洞口处加固筋也绑扎,要求位置准确。洞口处的偏移预留筋应作成灯插弯(1:6)弯折到正确位置并理顺,使门窗洞口处的加筋位置符合设计图纸的要求。若预留筋偏移过大或影响门窗洞口时,应在根部切除并在正确位置采用化学注浆法植筋。
2) 剪力墙中用焊接网作分布钢筋时可按一楼层为一个竖向单元。其竖向搭接可设在楼层面之上,搭接长度不应小于1.2l 。且不应小于400mm 。在搭接的范围内,下层的焊接网不设水平分布钢筋,搭接时应将下层网的竖向钢筋与上层网的钢筋绑扎固定。
3) 剪力墙结构的分布钢筋采用的焊接网,对一级抗震等级应采用冷轧带肋钢筋焊接网,对二级抗震等级宜采用冷轧带肋钢筋焊接网。
4) 当采用冷拔光面钢筋焊接网作剪力墙的分布筋时,其竖向分布筋未焊水平筋的上端应有垂直于墙面的90弯钩,直钩长度为5~10d(d 为竖向分布钢筋直径),且不应小于50mm。
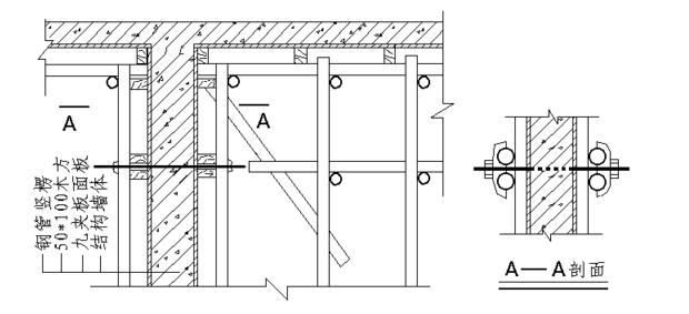
3、 模板支设
1)在框剪墙支模之前必须把基础根部清理干净凿好地锚,清理干净钢筋上的混凝土,严格控制好钢筋的质量经过检验合格及监理验收合格后进行模板安装。
2)模板支设前应先确定好支模基准线,把预先拼接好的一面模板按位置线就位,然后安装拉杆或斜撑,安塑料套管和穿墙螺栓,安装模板时应边校正边安装,注意两侧穿孔的模板对称放置,穿墙螺栓与墙模保持垂直。
3)模板单块拼装时,应从墙角膜开始,向互相垂直的两个方向组拼,并随时注意加设支撑,保证模板稳定。对于模板的加固,纵向用排列为300的四六方子,横向用ф48的双向钢管加固,加固时蝴蝶卡要求上下垂直不超过3mm水平顺直不超过5mm,上下水平拉线加固模板,确保混凝土浇灌达到质量要求。所用模板为新竹胶版,并经过检测合格后使用,完全达到浇灌振捣的荷载要求。
4)竹胶板经过四六方子和ф48双钢管的加固,但对于垂直水平模板加固仍然存在隐患,因此必须对框剪墙双面进行斜拉支撑钢管加固,框剪墙高度加固用钢管支撑,加设水平杆,对斜支撑的角度一般要求不大于60,底部支撑增横加固确保框剪墙工程质量垂直度平整度符合规范规定。
5)为确保在浇筑框剪墙的砼时,不出现胀模现象。采取以下措施,对模板的加固及截面尺寸控制,每平方米9个对拉螺栓,对拉螺栓的要求是中心位置安装塑料套管。框剪墙的截面尺寸用大理撑块支撑,对于螺栓的割丝要求是Ф14的圆钢割丝,长度每头大于100mm。经过试拉合格后方可批量加工生产使用,对于外接利用蝴蝶卡进行固定,用不超过300宽的四六方子纵向排列加固。

4、混凝土浇筑
1)框剪墙浇筑应采取长条流水作业,分段浇筑,均匀上升。墙体浇筑混凝土前或新浇混凝土与下层混凝土接合处,应在底面上均匀浇筑5cm厚与墙体混凝土成分相同的水泥砂浆或减石子混凝土。浇筑墙体混凝土应连续进行,并在前层混凝土除凝前将次层混凝土浇筑完毕。
2)混凝土振捣时振捣棒应距洞边30cm以上,从两侧同时振捣,以防洞口变形,浇筑振捣完毕后,将上口甩出的钢筋加以整理,用木抹子按标高线将墙上表面砼找平。
3)混凝土振捣过程中,不可随意挪动钢筋,要经常加强检查钢筋保护层厚度及所有预埋件的牢固程度和位置的准确性。
4)砼的养护采用洒水养护法,每天至少4次对砼进行洒水养护。养护过程中如发现遮盖不好,浇水不足,以致表面泛白或出现干缩细小裂缝时,应仔细加以遮盖,加强养护工作,充分浇水,并延长浇水日期,加以补救。

5、模板拆除
砼养护到设计强度时拆除模板,拆模时先拆除斜撑,再自上而下拆掉穿墙螺栓及外楞,然后分层自上而下拆除内楞及模板。每层拆除框剪墙板隔二层以上再拆除现浇面模板。
6、剪力墙产生裂缝的预防和治理措施。
(1)调整混凝土各组分。如采用高标号水泥,减小水泥用量;尽量使用低水化热的水泥;严格控制外加剂的品种及用量;砂宜采用中砂,保证石子级配良好,并严格控制砂石含泥量。
(2)拆模及养护。适当延长剪力墙混凝土的拆模时间,并且拆模时不要马上移走模板,而是先让模板拆开一条缝隙作浇水养护用,从而改善混凝土的养护环境以达到控制墙体裂缝的目的。特别是预拌混凝土早期水化快,水化热发展快,拌合物保水性强,泌水小,为此,施工过程中应特别注意加强养护环节的管理及防护措施的应用。施工中当混凝土密实后,应尽可能早地覆盖养护,及时喷水,适当延长养护时间,这样,既可以减少内外部温差,又可以保证早期湿养护和后期养护的最佳效果。
(3)混凝土中掺加膨胀剂。微膨胀剂由于在一定程度上补偿了收缩应力,能有效减少混凝土收缩裂缝。
(4)剪力墙上增开结构小洞。这可能是最有效的方法,通过开洞把长墙变成短墙,减少混凝土收缩变形的约束,使混凝土收缩应力得到释放,从而达到控制墙体裂缝的目的,但必需重新对结构进行计算,确保结构的安全及正常的使用功能。

(5)留置后浇带。即先浇注后浇带两侧混凝土,约两个月后当混凝土收缩变形趋于稳定时,再浇筑留缝部位,从而避免因收缩应力而出现裂缝。
(6)在剪力墙中部设置暗梁。这样贯穿性裂缝只能裂到梁底,而不至裂到楼面板底,可有效减小有害裂缝的长度。
(7)调整水平钢筋配筋方案。将剪力墙水平钢筋置于竖向钢筋外侧,有效减小了混凝土保护层厚度,增强了剪力墙表层混凝土的抗裂性。
(8)增加抗收缩钢筋。遵循配筋细而密可抵抗收缩应力的原则,适当增加水平钢筋的配筋率、减小钢筋直径而缩小配筋间距。另外在对剪力墙造成约束的结构构件与其连接处增设钢筋对裂缝亦能起到一定的抑制作用。
(9)裂缝补强治理措施。当裂缝不能自我愈合,且长期存在会给结构构件带来耐久性、安全性和建筑使用功能等方面的影响而必须给予治理时,可待裂缝发展稳定后,针对不同大小的裂缝采取相应的有关治理措施。