测量放线沟槽开挖基础(垫层)敷设下管管道接口(排水有的有复杂的基础)检查井浇筑(砌筑)功能性试验(闭水试验、压力试验)回填。
施工排水
市政管道开槽施工时,经常遇到地下水,土层内的水分主要以水汽、结合水、自由水三种状态存在,结合水没有出水性,自由水对市政管道开槽施工起主要影响作用。当沟槽开挖后自由水在水力坡降的作用下,从沟槽侧壁和沟槽底部渗入沟槽内,使施工条件恶化,严重时,会使沟槽侧壁土体坍落,地基土承载力下降,从而影响沟槽内的施工。因此,在管道开槽施工时必须做好施工排(降)水工作。市政管道开槽施工中的排水主要指排除影响施工的地下水,同时也包括排除流入沟槽内的地表水和雨水。
施工排水有明沟排水和人工降低地下水位两种方法。
不论采用哪种方法,都应将地下水位降到槽底以下一定深度,以改善槽底的施工条件;稳定边坡;稳定槽底;防止地基土承载力下降;为市政管道的开槽施工创造有利条件。
明沟排水通常是当沟槽开挖到接近地下水位时,修建集水井并安装排水泵,然后继续开挖沟槽至地下水位后,先在沟槽中心线处开挖排水沟,使地下水不断渗入排水沟后,再开挖排水沟两侧土。如此一层一层地反复下挖,地下水便不断地由排水沟流至集水井,当挖深接近槽底设计标高时,将排水沟移置在槽底两侧或一侧。

排水沟开挖示意图
人工降低地下水位是在含水层中布设井点进行抽水,地下水位下降后形成降落漏斗。如果槽底标高位于降落漏斗以上,就基本消除了地下水对施工的影响。地下水位是在沟槽开挖前人为预先降落的,并维持到沟槽土方回填,因此这种方法称为人工降低地下水位。

1、抽水时水位2、原地下水位3、井点管4、沟槽
人工降低地下水位一般有轻型井点、喷射井点、电渗井点、管井井点、深井井点等方法。
沟槽开挖
沟槽降水进行一段时间,水位降落达到一定深度,为沟槽开挖创造了一定的便利条件后,即可进行沟槽的开挖工作。
沟槽断面形式的选择
常用的沟槽断面形式有直槽、梯形槽、混合槽和联合槽4种。

沟槽断面形式(a)直槽;(b)梯形槽;(c)混合槽;(d )联合槽
合理地选择沟槽断面形式,可以为市政管道施工创造良好的作业条件,在保证工程质量和施工安全的前提下,减少土方开挖量,降低工程造价,加快施工速度。
选择沟槽断面形式,应综合考虑土的种类、地下水情况、管道断面尺寸、管道埋深,施工方法和施工现场环境等因素,结合具体条件确定。

沟槽尺寸确定
B-管道基础宽度;b-工作宽度;t-管壁厚度; l1-管座厚度;h1-基础厚度

每侧工作面宽度b决定于管道断而尺寸和施工方法,一般不大于0.8m,可按下表确定。
沟槽土方开挖
(一)沟槽放线
沟槽开挖前,应建立临时水准点并加以核对、测设管道中心线、沟槽边线及附属构筑物位置。临时水准点一般设在固定建筑物上,且不受施工影响,并妥善保护,使用前要校测。沟槽边线测设好后,用白灰放线,以作为开槽的依据。根据测设的中心线,在沟槽两端埋设固定的中线桩,以作为控制管道平面位置的依据。
(二)沟槽开挖
1.土方开挖的一般原则
沟槽开挖时应遵循下列原则:
(1)开挖前应认真解读施工图,合理确定沟槽断面形式,了解土质、地下水位等施工现场环境,结合现场的水文、地质条件,合理确定开挖顺序;
(2)为保证沟槽槽壁稳定和便于排管,挖出的土应堆置在沟槽一侧,堆土坡脚距沟槽上口边缘的距离应不小于0.8m,堆土高度不应超过1.5m;
(3)土方开挖不得超挖,以减小对地基土的扰动。采用机械挖土时,可在槽底设计标高以上预留200mm土层不挖,待人工清理。即使采用人工挖土也不得超挖。如果挖好后不能及时进行下一工序时,可在槽底标高以上留150mm的土层不挖,待下一工序开始前再挖除。
(4)采用机械开挖沟槽时,应由专人负责掌握挖槽断面尺寸和标高。施工机械离沟槽上口边缘应有一定的安全距离。
(5)软土、膨胀土地区开挖土方或进入季节性施工时,应遵照有关规定。
2.开挖方法
土方开挖分为人工开挖和机械开挖两种方法。为了加快施工速度,提高劳动生产率,凡是具备机械开挖条件的现场,均应采用机械开挖。
沟槽机械开挖常用的施工机械有单斗挖土机、多斗挖土机和液压挖掘装载机。
(三)开挖质量要求
1)严禁扰动槽底土壤,如发生超挖,严禁用土回填;
2)槽壁平整,边坡符合设计要求;
3)槽底不得受水浸泡或受冻;
沟槽支撑
支撑是由木材或钢材做成的一种防止沟槽土壁坍塌临时性挡土结构。支撑的荷载是原土和地面上的荷载所产生的侧土压力。支撑加设与否应根据土质、地下水情况、槽深、槽宽、开挖方法、排水方法、地面荷载等因素确定。一般情况下,当沟槽土质较差、深度较大而又挖成直槽时;或高地下水位砂性土质并采用明沟排水措施时,均应支设支撑。当沟槽土质均匀并且地下水位低于管底设计标高时,直槽不加支撑的深度不宜超过下表的规定。


疏撑
1-撑板;2-立柱;3-工具式撑杠

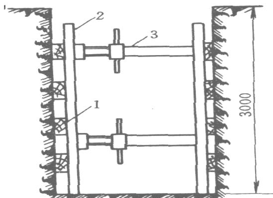
密撑
1-撑板;2-立柱;3-撑杠;4-横梁

井字撑

钢板桩
支设支撑的注意事项
(1)支撑应随沟槽的开挖及时支设,雨季施工不得空槽过夜;
(2)槽壁要平整,撑板要均匀地紧贴于槽壁;
(3)撑板、立柱、撑杠必须相互贴紧、固定牢固;
(4)施工中尽量不倒撑或少倒撑;
(5)糟朽、劈裂的木料不得作为支撑材料。
支撑的拆除
沟槽内工作全部完成后,应将支撑拆除。拆除时必须注意安全,边回填土边拆除。拆除支撑前应检查槽壁及沟槽两侧地面有无裂缝,建筑物、构筑物有无沉降,支撑有无位移、松动等情况,应准确判断拆除支撑可能产生的后果。