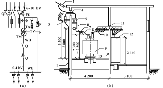
10kV高压架空进户装置
10 kV以下悬式绝缘子XP,以串计量;
10 kV以下户外高压熔断器WR,以组计量;
钢穿通板,以块计量;
10 kV以下穿墙导管CLB,以个计量;
10 kV以下避雷器FS,以组计量;
10 kV以下户内、外支持绝缘子ZA,以个计量;
支架、金具,以kg计算。
变配电装置及设备
从进户装置起依序计算

变压器安装
计算规则:按不同电压等级、不同容量和不同类型分别以台计量。
TM安装:不包括变压器油耐压试验及变压器系统调试。
TM分类:冷却方式有油浸式、干式;相数分单相与三相;线圈材质分铜、铝线圈;铁芯分热轧与冷轧硅钢片等。
配电装置安装
断路器(QF)、负荷开关(QL)、隔离开关(QS),断、通正常负荷电路,保护和控制高压电器设备。安装包括所配备的电磁式、弹簧储能式、手动式等操作机构。
电流互感器(TA)、电压互感器(TV)作为测量电压、电流、电能及继电保护之用。
计算规则:上述装置均以台计量。
母线安装
母线:有变配电装置高压母线和车间配电低压母线,注意区别。
常用硬母线:铜(TMY)、铝(LMY) 。
计算规则:单片延长米计算。
L母= (母线设计单片延长米长度+母线预留长度)(1+2.3%)
制作安装损耗2.3%
高压控制设备
高压控制台、柜、屏,用于发电厂、工矿企业变配电站(所),接受电力和大型高压交流电动机启动、保护的主要设备。
目前,国产有固定、手车及活动式三种。 型号有GG、GFC、GBC等型。
计算规则:分别按控制屏、继电屏、模拟屏、电源屏、直流屏、控制台及箱式配电室等以台计量。
低压控制配电设备
计算规则:成套型动力、照明控制及配电用柜、箱、屏等,不分型号、规格及安装方式,均以台计量。
进出柜、箱、屏的导线需焊(压)接线端子时,以个计量。
高压、低压设备基座、支架:槽(角)钢基座、支架制安按kg、m计算。
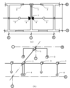
电力及控制电缆

电缆埋地或地沟进户示意
L=(l1+l2+l3+l4+l5+l6+l7)(1+2.5%)
电力及控制电缆安装
计算规则:10 kV以下电力及控制电缆;无论敷设方式用部位,分别以m计算。
电缆长度以敷设方式和部位的表达式:
电缆长度=(2端头长+引上下长+直埋地长+电缆沟长+保护管长+钢索长+沿墙长+竖井道长+桥架长+槽架长十梯架长+线道长等+电缆预留量)(1+2.5%)
电缆端头:制作安装以个计量。
电缆直埋敷设
电缆沟土石方,以m 计算:
V=S L,两根电缆每1 m沟长,V=0.45 m 每增加一根电缆,每1m沟增加0.153m。
电缆沟铺砂盖砖:以沟长度m计算。

电缆沟内敷设
电缆沟:进人、不进人沟。
沟体砌筑:土石方量m3 ;沟底、壁砌砖 或浇筑m3;沟壁、底抹水泥砂浆m2;沟盖板制作m3 ; 采购时价值及运费。
参考《建筑工程预算定额》。
揭、盖电缆沟盖板:m计算;
沟内支架制安:钢kg 、砼m3 计算。
电缆桥架安装
桥架:分为梯式、托盘式(有孔托盘、无孔托盘),一般由直线段、弯通、三通等附件及支、吊架等构成。
计算规则:无论钢质、不锈钢、铝合金、玻璃钢、塑料质桥架,均按m计算。包括桥架每段间用5.5~16mm2的电气连通
跨接线及接地线和接地端子的安装。
配管工程量
规则:配管以管材质、规格和敷设方式不同(明暗),按延长米分别计算,不扣除接线盒(箱)、灯头盒、开关盒所占长度。
要领:从配电箱起逐回路进行计算。
方法:水平管,借建筑物平面图墙、柱轴线尺寸进行计算。只能斜向敷设的管,当图纸比例正确时,可用比例尺量算。
配管配线的明暗盒
接线(分线)、插座、开关、灯头等盒按个计量。

电气配线
规则:照明和动力线路不分品种、规格、型号、敷设方式均按单线延长米计算。
管穿线长=(配管长度+导线预留长度) 同截面导线根数
常用导线:单芯、多芯;铝芯、铜芯;塑料、橡胶绝缘。

导线预留长度