AFS系统组成

AFS系设备安装
探测、报警设备:探测器、控制模块、报警控制器、报警装置、区域显示器,按只 、m、台等计量。
控制、监控设备:联动一体机、广播、通信;事故照明;监控电视(CRT);排烟、通风、防火门;水泵、噴水、气体、泡沫灭火系统;电梯;电源;防雷设备,以台等计量。
系统及联动系统调试,以系统计量
安全防范系统SAS
三部分组成:
发现:侵犯行为 输送:信息线路 接收:信号及显示

SAS安全防范系统设备
入侵探测:传感、报警装置及报警显示,均以套计量。
传输及接收设备:按台计量。
出入口安全控制、电视监控摄像机(CCD)以台或套计量。
系统调试:以系统控制的点数点或系统计

室内室外给水、排水系统
室内给水、排水系统组成

室外给水、排水系统

室内室外给水、排水管道
计算要领:由入(出)口起,先主干,后支管;先进入,后排出;先设备,后附件。
室内室外管道界线划分。
计算规则:图示管道中心线长度m计算。不扣除阀门及管件所占长度。
管材价值=按图计算量定额消耗量 相应管材单价
室内室外给水、排水管道
管件、支架;冲洗、消毒、试验。
管道除锈刷油:按m2计算。
钢管 F=DL铸铁管 F=1.2 DL
管沟土石方:按m3计算。
V=h(b+0.3h) l
土石方计算用《建筑工程预算定额》

给水、采暖、供热系统阀门、组成
阀门:螺纹、法兰阀,按个计量。组成:减压器组、疏水器组、水表组,按组计量

卫生器具(注意计算范围)
盆类:浴盆、净身盆、洗脸盆、洗手盆、洗涤盆和化验盆等,以组计量。
器类:淋浴器、大便器、小便器、小便槽冲洗管等,以套计量。
龙头、地漏、扫除口、排水栓

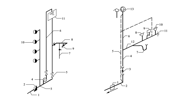
自动消防水灭火系统

自动喷淋灭火系统
喷淋管道:管道中心线长度,以m计算。
阀门:螺纹、法兰阀(定额第七册)。
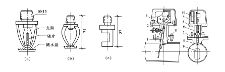
组合件:报警装置及组成,以组计量;喷淋头、水流指示器,以个计量。
系统装置调试:按系统计量

水灭火系统相应设备
室内、外消火栓,水泵接合器:以套计量。
消防水泵安装:检查接线调试
