关于建筑索结构
建筑索结构是指:用索作为主要受力构件而形成的建筑结构体系,形式众多。
索构件通常有钢丝索(钢丝束、钢绞线、钢丝绳)和钢拉杆两种类型。
索必须存在初始拉应力才能参与结构工作,初始拉应力可以通过张拉形成,也可以由外荷载产生。
索结构要对边缘构件及支承结构进行合理布置,保证索结构预应力的可靠维持。
概括各种形式索结构的受力及应用特点。
根据受力特点可分为刚性和柔性索结构:
刚性索结构在荷载作用下满足小变形假定,如斜拉结构、张弦结构(弦支穹顶)、预应力网格结构、索拱结构、索托结构等;

根据受力特点可分为刚性和柔性索结构:
柔性索结构的计算分析必须考虑几何非线性效应,各项荷载效应之间不再满足线性叠加原则,如悬索结构(单索结构、索网结构、双层索系、横向加劲索系)、索穹顶等。

索结构节点类型:
端头连接:螺栓锚固、螺栓接长、耳板销轴
中间连接:夹紧、转向、滑动

按索节点的连接功能分类:
张拉节点、锚固节点、转折节点、交叉节点、索杆节点
按索节点的连接作用分类:
索与索的连接、索与刚性构件连接、索与支承构件连接、索与围护结构连接
索与索的连接
同向拉索中间连接张紧

双向拉索的连接

拉索与柔性边索的连接

同向拉索中间连接张紧双向拉索的连接拉索与柔性边索的连接同向拉索在中间节点改变方向

平面内不同方向拉索之间连接

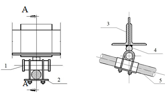
索与刚性构件连接拉索与横向加劲桁架下弦连接


撑杆与下弦拉索的连接

拉索与横向加劲桁架下弦连接撑杆与下弦拉索的连接斜索与刚性节点连接

撑杆上节点连接多个方向脊索


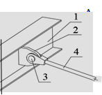
索与支承构件连接拉索与钢混支承构件连接

拉索与支承钢柱或钢梁连接

径向拉索与支承钢环梁连接

索与围护结构连接拉索与钢檩条

拉索与玻璃

建筑索结构节点的特点#8857;节点汇集杆件多,受力较为复杂;#8857;节点常汇集有刚性杆件和柔性拉索;#8857;节点形状复杂;#8857;存在几种基本连接形式:螺杆、索夹、耳板销轴、可滑动;#8857;复杂节点可视为基本连接的组合体。

索结构节点设计原则
综合考虑建筑外观、节点传力方式并结合节点锚具和索体类型等进行概念设计,确定节点连接形式,然后对节点进行具体构造设计。
按相关标准选用索结构节点的材料(热轧钢、铸钢、高强螺栓副、销轴、关节轴承、焊接材料、涂装材料等)。
节点的构造应与计算假定相符,传力路线简捷明确、安全可靠,构造简单合理并便于制作、安装、索力调整和维护,经济性好。
节点的强度(含局部承压强度)、刚度、变形和受压板件的稳定性应满足国家标准《钢结构设计标准》、《索结构技术规程》、《预应力钢结构技术规程》、《铸钢结构技术规程》的规定。
节点的承载力设计值应不小于拉索内力设计值的1.25~1.5倍。主要受拉节点焊缝质量等级应为一级,其它焊缝质量不低于二级。对采用新材料或新工艺的重要、复杂节点,可根据节点实际受力状态进行足尺或缩尺模型的检验性试验(最大内力设计值的1.3倍)或破坏性试验(最大内力设计值的2.0倍)。
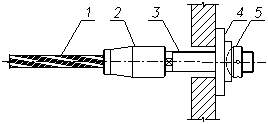
根据环境条件、材质、结构形式、使用要求、施工条件和维护管理条件等进行节点的防火与防腐设计。 螺杆连接节点设计螺杆连接节点的多种形式:拉索接长


索端锚固螺杆本身是锚具

通过锚箱转换连接


不同承压位置

设球铰等转动装置,释放因大变形引起的端部弯矩

螺杆连接节点设计的一般要求
1、螺杆连接中螺杆是索体的一部分时,螺杆与索按照等强设计;其他情况下螺杆承载力设计值应按照索拉力设计值的1.25~1.5倍选取。
2、螺杆承载力计算时应考虑螺纹对螺杆截面削弱的影响。
3、采用双螺母、螺母加弹簧垫片、螺母下设置止动垫圈、螺栓上设置开口销、自锁螺母等方式防止螺母松动。
4、多螺杆连接设计时应考虑合理的张拉顺序,确保多根螺杆受力均衡。
5、螺母应紧固牢靠,外露丝扣不应少于两扣;对于索-索螺杆连接,应确保螺杆拧入锚具内的螺纹长度不小于10倍螺距。
6、张拉时要对张拉工装进行专门设计,防止张拉过程中螺杆承受弯矩。螺杆连接节点的承载力验算螺纹验算螺纹是螺杆连接的关键部位,一般由生产单位进行专门设计。
内螺纹弯曲应力验算:

内螺纹剪应力验算:

外螺纹弯曲应力验算:

外螺纹剪应力验算:



接触面局部承压验算由于锚具端头较螺杆直径大,索体要穿过支承部位就需要预留较螺杆直径更大的孔洞,使得螺母与锚固体接触面较小,导致局部压力很大。

支承构件冲切(剪切)验算若支承结构构件(钢板、混凝土板)较薄时,还容易发生冲切(剪切)破坏。

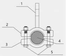
有限元分析螺杆连接节点常在节点连接域设置加劲板、隔板等,使得节点连接域构造较为复杂。对于索力大、节点构造复杂的螺杆连接节点,应建立有限元模型进行分析。#160; #160;#160;*以上验算分别按照现行《混凝土结构设计规范》、《钢结构设计标准》进行索夹节点的定义与构成索夹节点是连接索体和相连构件的一种不可滑动的节点。一般包括主体、压板和高强螺栓。主体直接与非索构件相连,压板通过高强螺栓与主体相连,通过高强螺栓的紧固力使主体和压板共同夹持住索体。

* 形式多样,名称多样:夹具、铸钢夹具、U形夹、螺栓夹具、钢板夹具、索球、索瓦、前压块、后压块、索压块等等。
索夹节点设计
索夹节点设计的一般要求应具有足够的承载力和刚度来有效传递结构内力,并在结构使用阶段应具有足够的抗滑承载力,防止索夹与索体相对位移;构造应符合计算假定,做到传力清晰、准确,确保安全并便于制作和安装;小型索夹可采用U型索夹,大型索夹宜采用铸钢件。
索夹材料应采用具有良好延性的低合金钢或者铸钢;索夹应采用摩擦型大六角头高强度螺栓;外包HDPE的拉索的抗滑承载力低于裸索,当不平衡力较大时,索夹易滑动,且表面HDPE易被拉裂。因此对于外包HDPE的拉索,当不平衡力较大时,应制定孔道内表面和夹持段索体外表面的抗滑和防腐专项措施。
强度承载力验算索夹主体和压板的A-A、B-B截面应进行强度承载力验算。A-A截面的抗弯应力比KM和抗剪应力比KV验算:







索夹主体和压板的A-A、B-B截面应进行强度承载力验算。
B-B截面的抗拉应力比KT验算:



关于高强螺栓的初始紧固力
按《钢结构设计标准》规定的高强螺栓预拉力设计值确定;或者由试验确定,但不宜超出规范值的15%;

对于受力复杂的铸钢索夹宜通过弹塑性有限元分析确定其极限承载力。
抗滑承载力验算
索夹抗滑设计承载力应不低于索夹两侧不平衡索力设计值:




关于部分安全系数
索夹抗滑设计承载力的部分安全系数是参考《Eurocode 3 Design of steel structures》的叫法。
关于综合摩擦系数
综合了索体和索夹之间摩擦系数以及压应力分布均匀性。其中摩擦系数受索体和孔道接触材料和粗糙度等因素的影响,而压应力分布均匀性受索夹刚度、孔道与索体之间间隙及加工精度等因素影响。对于外包HDPE的钢丝束索、密封索和钢绞线裸索,建议分别取0.1、0.2和0.35。
由于影响因素众多,多项工程试验中变异较大,因此宜通过索夹抗滑承载力试验来测定。
关于紧固力损失系数和高强螺栓有效紧固力
高强螺栓预紧后,由于高强螺栓自身应力松弛、索体蠕变和后续索力增加导致高强螺栓紧固力显著降低,因此高强螺栓有效紧固力计算式为

多项工程试验中,高强螺栓紧固力损失系数大致范围为0.25~0.55,变异较大,因此通过索夹抗滑承载力试验来测定为宜。
索夹抗滑承载力试验
试验索夹制作加工和关键构造尺寸应与实际工程一致;
按照实际工况张拉至设计索力(预紧张拉、张拉预紧张拉);
到达设计索力后,静置足够的时间待高强螺栓紧固力衰减稳定后再加载顶推索夹直至沿索体明显滑动;
通过顶推过程的荷载-位移曲线确定索夹抗滑极限承载力。当索夹的主体和压板的滑移量都迅速增加,且顶推力难以继续增加时,对应的顶推力定为索夹抗滑极限承载力;
试验极限承载力应不低于抗滑设计承载力的1.5倍。

索夹构造和制作要求
索夹主体和压板上的高强螺栓孔径应比螺栓公称直径大1.5~2mm。主体和压板应配对制孔,且配对标记;
索夹主体和压板之间应留有足够的间隙,以保证高强螺栓预紧且索夹变形后主体和压板之间无接触,即高强螺栓的紧固力全部有效的作用在索体上;
索孔道允许偏差:孔直径,0~2mm;孔中心与索夹节点中心间距,1mm;孔道中心圆弧两端切线夹角,15;
索孔道表面粗糙度要求:Ra=50m;
索夹孔道口和边缘应倒圆角且打磨圆滑,圆角半径宜不小于10mm;
索夹表面涂装要求应不低于主体钢构件。对钢丝外露的裸索,应在索夹孔道与索体接触面热喷锌,厚度宜0.6mm且1mm。

耳板式节点设计
耳板式节点设计的一般要求
为保证拉索仅承受轴向拉力,避免索端弯曲,采用销轴连接结构耳板与索头叉耳,即耳板式节点。
常见的耳板形式有:矩形、带切角矩形、圆形、环形。

受力较大时,可在耳板的主板两侧加贴板的形式,对于钢板耳板,贴板应焊接在主板上;对于铸钢耳板,贴板宜铸造成一体。

对耳板平面外存在较大转角的节点,宜采用关节轴承。

耳板和销轴的设计承载力应不小于拉索内力设计值的1.25-1.5倍。
形式特殊、受力特别复杂的特殊耳板式节点,应进行弹塑性有限元分析确定其设计承载力。
承载力验算包括:耳板孔净截面抗拉强度(Ⅰ-Ⅰ)、耳板端部截面抗劈拉强度(Ⅱ-Ⅱ)、抗剪强度(Ⅲ-Ⅲ)、耳板根部抗拉强度(Ⅳ-Ⅳ)、销孔局部承压强度、贴板焊缝承载力 。
耳板承载力验算
耳板孔净截面处的抗拉强度验算



耳板根部全截面抗拉强度验算


销轴承载力验算销轴抗剪承载力验算


构造要求板端距离a

耳板最小厚度过薄的节点板不利于销轴抗弯,同时会减弱节点板承压应力在板厚方向的重分布。《钢结构设计标准》GB50017要求耳板厚度不得小于耳板每侧净宽1/4。这里建议最小厚度不低于20mm。

两侧贴板厚度t2宜相等,且t2宜取主板厚度t1的1/3~1/2。
矩形耳板的切角与构件轴线成45角,且切角边净距不小于耳板顶部的边缘净距。
销轴与销轴孔之间间隙宜满足如下规定:当销轴直径d100mm时,销孔间隙g≦1mm;当时,100≦d150时,g≦1.5mm;当d≧150mm时,g2mm。过大的间隙减小两者的接触面积,增大接触压应力;容易造成连接的松动,增大连接件的二次应力。
销轴精加工部分的长度,应比被连接的构件两外侧面间的距离长6mm以上,且两端应有防止销轴横向滑脱的盖板或螺母。
当销轴和销轴表面要求机加工时,其质量要求应符合相应的机械零件加工标准的规定。耳板式节点安装精度应符合《钢结构工程施工质量验收规范》GB50205要求。

可滑动节点设计
定义
可滑动节点是指根据受力或施工需要在节点处拉索可以滑动或限制滑动。一般包括安放拉索的索槽及其与支承构件的连接,需要固定拉索时多与索夹连接组合。
两类:施工阶段滑动,使用阶段固定;施工与使用阶段均滑动。
可滑动节点应用场合
在张弦结构和索拱结构中,当撑杆在索轴线平面内呈V字形布置时,索与撑杆连接宜采用可滑动节点,待施工张拉成型后再通过索夹与撑杆节点固定。

* 索鞍、索托、滚动节点、滑动节点
可滑动节点应用场合
当弦支穹顶结构承受半(偏)跨荷载作用时, 可设置环索可滑动节点连接,从而降低环索、斜索和撑杆的内力幅值,并使其均衡相等。
带有环索的结构,张拉环索过程中环索与节点摩擦阻力过大,造成较大预应力损失,此时宜设置环索可滑动节点连接,待张拉成型后再固定拉索。


斜拉结构和悬索结构中,当需要拉索通过索塔节点改变方向以便锚固时,可采用带有符合拉索弯曲形状的索鞍来改变拉索的传力方向,并根据需要采取构造措施控制拉索与索鞍中索槽的滑动与固定。



索托结构中拉索与结构连接的节点宜采用反向的索槽,根据需要施工张拉成型后可通过索夹固定。




一般设计原则
节点的几何设计应确保索体光滑通过节点,避免在节点内部对索体形成过大的折点。可滑动节点通常将节点索槽的弯曲弧度设计成与预应力拉索的弯曲弧度一致。
节点的构造设计应确保拉索滑动过程中索体与节点间的摩擦力最小。可在索体与节点间布置润滑材料(如聚四氟乙烯等)来减小摩擦力。也可以采用带有滚动轴的做法,利用转轴的滚动摩擦代替节点与索体间的滑动摩擦,采用设置可分离压板的办法,解决钢拉索张拉后充分固定的问题。

索槽圆弧半径一般为主索直径的8~12倍,以减少主索钢丝的二次应力。
索槽尺寸应能确保拉索滑动时不易脱槽,或设置构造措施予以保证。
大型索鞍多为铸钢件制造,也有用钢板组焊加工的。索鞍重量、外形尺寸应综合考虑运输和安装成本,否则应进行分块。
承载力验算
由于索结构的空间受力特点,可滑动节点的索槽及其支承构件可能处于复杂的三向空间受力状态,应按照《钢结构设计标准》的规定进行承载力验算:
⊙通过索结构整体计算得到最不利荷载组合下拉索的拉力,将其分解成对索槽底面的竖向力和索槽侧面的水平力。
⊙验算索槽底的承压承载力。
⊙验算索槽侧面的挤压承载力和抗剪承载力。
⊙验算索槽支承构件承载力。
⊙带有滚动轴的可滑动节点还应进行滚动轴受剪和孔壁承压承载力验算。
⊙与可滑动节点组合的索夹验算。
索结构节点有限元分析
●有限元分析宜采用实体单元,径厚比或宽厚比不小于10的部位可采用板壳单元。
●在易于产生应力集中的部位,实体单元的最大边长不应大于该处最薄壁厚,其余部位的单元尺寸可适当增大,但单元尺寸变化应平缓。可进行多种单元、尺寸的模型对比。

当钢材具有较长的屈服平台时,材料的应力应变关系可采用理想弹塑性模型;也可采用具有一定强化刚度的双折线模型,使应力-应变具有明确的对应关系,第二段折线的弹性模量可取第一段的2%-5%。强度准则一般采用Von Mises屈服条件。
极限承载力可根据弹塑性有限元分析得出的荷载-位移全过程曲线确定。当曲线具有明显的极值点时,取极值点为极限承载力;当曲线不具有明显的极值点时,取荷载-位移曲线中刚度首次减小为初始刚度10%时的荷载为极限承载力。节点承载力设计值不应大于弹塑性有限元分析所得极限承载力的1/2。