节流装置类型可分为:
(1) 手动膨胀阀;
(2) 浮球膨胀阀;
(3) 热力膨胀阀;
(4) 电子膨胀阀;
(5) 毛细管;
(6) 节流短管;
1、手动膨胀阀:
仅用于氨制冷系统、实验装置、旁路备用等。

2、浮球膨胀阀:
除了节流降压、调节流量之外,还可保持蒸发器内一定的液位。适用于:具有自由液面的蒸发器,如:
满液式蒸发器;
低压循环贮液桶;
中间冷却器。

特点:构造简单;浮球室液面波动大,浮球传递给阀芯的冲击力也大,易损坏。
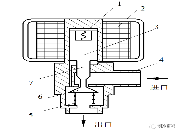
3、热力膨胀阀:
工作原理:通过蒸发器出口处气态制冷剂的过热度控制阀的开度。用于:非满液式蒸发器。型式:内平衡式、外平衡式。

外平衡式热力膨胀阀是采集的压力为蒸发器出口压力;内平衡式热力膨胀阀是采集的压力为膨胀阀出口压力。
外平衡热力膨胀阀主要用于蒸发压力损失或压力降较大,流动阻力大,蒸发盘管长,温度波动大,节流后蒸发压力比蒸发器出口端压力高出较多的系统。
我们来个案例说明下:两个相同的制冷系统,膨胀阀1为内平衡,膨胀阀2为外平衡,过热度设定为8k。系统运行后,膨胀阀开始自动调节,假如蒸发器出口真是过热度都为8k时,外平衡热力膨胀阀就会保持在这一状态运行,由于蒸发器压降的存在,内平衡阀自己觉得压力太高,还需要关闭阀,持续到内平衡阀自己觉得为8k时,其实蒸发器出口真实过热度已经大于8k了,这样就会导致蒸发器得不到充分的利用。
热力膨胀阀的选配时需考虑:
制冷剂种类;
蒸发温度范围;
阀后蒸发器的最大制冷量;
阀前后压差;
4、电子膨胀阀
电子膨胀阀利用被调节参数产生的电信号,控制施加于膨胀阀上的电压或电流,达到调节供液量目的。供液量调节范围宽、调节反应快。

电子膨胀阀的控制信号
(1)过热度调节:用于干式蒸发器在蒸发器出口设置温度传感器或压力传感器,以采集蒸发器出口制冷剂的过热度,反馈调节控制阀的开度;
前馈加反馈复合调节,可消除由于蒸发器管壁与传感器热容造成的过热度控制滞后,改善系统调节品质,在很宽的蒸发温度区域使过热度控制在目标范围内;
(2)指定调节程序:热泵机组除霜、压缩机排气温度控制。
(3)液位调节:用于满液式蒸发器。
5、毛细管
直径0.7~2.5mm、长度0.6~6m的细长紫铜管,它广泛用于小型全封闭直冷装置。供液能力取决于:毛细管入口处制冷剂的状态(压力、温度),毛细管的几何尺寸(长度、内径)。

毛细管特点:
结构简单、价格低;
无运动部件;
系统不需要装设贮液器、制冷剂充注少;
压缩机停转后,压力可较快达到平衡,减轻电机的启动负荷;
调节性能差,供液量不能随工况变化而调节;
适用于蒸发温度变化不大、工况比较稳定的场合。
6、节流短管
节流短管是一种定截面节流孔口的节流装置,已被应用于部分汽车空调、冷水机组和热泵机组中。

主要优点:价格低廉、制造简单、可靠性好、便于安装,取消了热力膨胀阀系统中用于判别制冷负荷大小所增加的感温包等,具有良好的互换性和自平衡能力。