管道支架制作,必须采用台钻、电钻开眼,不得采用电、气焊开眼,制作完成必须除锈、防腐后方可安装。支架材料必须采用与管道相适配的规格、厚度符合要求,塑料管道与铁质支架间必须加设套皮和垫皮,支架安装必须顺直、牢固,同一房间支架高度必须一致。支架U型卡规格符合要求,角钢支架磨圆弧。

钢管管道支、吊架的最大间距

型丝与管道规格对应表
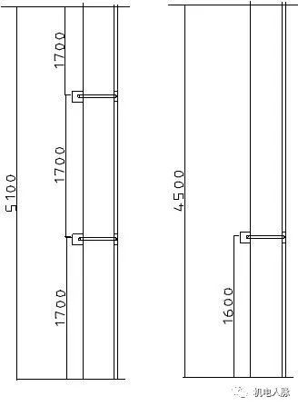
立管固定管卡安装:
1)立管卡安装高度,距地面 应为1.5~1.8m。
2)2个以上管卡应匀称安装,同一房间管卡应安装在同一高度上。
3)楼层高度小于或等于5m,立管可安装1个固定件,每层必须安装1个。
4)楼层高度大于5m,每层不得少于2个。


防晃支架的加设:
给排水及消防:直径大于或等于DN50时每段配水管应设置防晃支架不应少于1个,且防晃支架的间距不宜大于20米。当管道改变方向时应增设防晃支架。竖直安装的配水干管始端和终端也应设置防晃支架。


进出外墙管道支架必须加装固定支架。

管道支架标准做法
DN50钢制阀门,阀门两侧必须加装支架,卡箍连接的管道,卡箍两侧150-500mm范围内需加装支、吊架。

金属排水管道上安装的吊架或卡箍应固定在承重结构上,横贯固定间距不大于2.0米。

U型丝未加垫皮,丝过长未处理,制作不规范。


U型卡规范做法:

地面管道
地面管道敷设,距墙100mm-500mm内敷设管道,沿墙周围敷设,画好布置图,隐蔽后并做好标识,热熔连接不同管材必须采用配套设备,相应温度、时间焊接,不得混用。进入冬季需检查管道内有无积水,必须确保管道内无积水,防止冻坏管道;
给水支管敷设:
住宅给水支管管径一般de32mm,小管径的塑料给水管采用暗设。给水支管暗设的方式有:
1.暗设在砖墙里。施工时在砖墙面开管槽,管槽宽度为管子外径de+20mm,深度为管子外径de,管道直接嵌入管槽,并用管卡将子固定在管槽内。墙体内暗埋水管,要做到合理布局;槽内抹灰圆滑,管道施工完毕,应由土建统一抹灰,并在墙体上统一用红油漆或水泥浆把管道走向在墙体上标记清晰。
2.小管径给水支管de20mm,暗设在楼(地)面找平层里。管道成排安装:直线部分应互相平行,曲线部分:当管道水平或垂直并行时,应与直线部分保持等距。

给水管标准做法

给水管道配水点位置正确,冷热水间距符合要求,配水点出墙距离一致。

3.水压试验:
1)室内给水管道的水压试验必须符合设计要求。当设计未注明时,各种管道系统试验压力均为工作压力的1.5倍,但不小于0.6MPa。一般分两次进行,地下在管道隐蔽前要进行水压试验,管道系统安装完毕后再进行水压试验。
2)水压试验时,金属及复合管给水管道系统,在试验压力下观测10min,压力降不大于0.02MPa,然后降到工作压力进行检查,应不渗不漏;塑料管给水系统应在试验压力下稳压1h,压力降不得超0.05MPa,然后在工作压力的1.15倍状态下稳压2h,压力降不得超过0.03MPa,同时检查各连接处不得渗漏。并做好试验记录。
3)PP-R水压试验在设计无要求时,应符合以下规定:
(1) 冷水管的试验压力,应为系统工作压力的1.5倍,但不得小于0.6MPa。
(2) 热水管的试验压力,应为系统工作压力的2.0倍,但不得小于1.5MPa。(3) 热熔、电熔连接的管道,水压试验应在管道连接24h后进行。
(4) 水压试验宜分段进行,试验管段的总长度不宜超过500m。
(5)水压试验时宜从管道最低处缓慢向管道内充水,应在管道最高处和管道末端排出管道内的空气,达到规定的试验压力时,应稳压1h,压力降不得超过0.05MPa;而后在工作压力1.15倍状态下,稳压2h,压力降不得超过0.03MPa。
(6)水压试验合格后,应按规定作好记录并经监理工程师签字,方可进行下道工序施工。
4.给水系统交付使用前必须进行通水试验并做好记录。