电气设备安装工程的组成
一般的电气设备安装工程是以接受电能,经变换、分配电能,到使用电能或从接受电能经过分配到用电设备所形成的工程系统。按其主要功能不同分为电气照明系统、动力系统、变配电系统等,这种以电能的传输、分配和使用为主的工程系统常称为强电工程。
1. 电气照明系统
将电能转换为光能的电气装置构成照明工程。它包括工矿企业生产用照明和民用建筑照明等。
照明系统可分一般照明系统、局部照明系统和混合照明系统。
电气照明系统的范围一般包括:电源引入-控制设备(配电箱)―配电线路―照明灯(器)具。
2.防雷及接地系统
(1)防雷装置
防雷装置是为了保护建筑物、构筑物以及设备免遭雷击破坏的一种保护装置,通常由三部分组成:接闪器(避雷针、避雷网)或避雷器、连接线(引下线)、接地装置。
(2)接地装置
接地装置由接地体和接地线(接地母线)组成.
电气设备接地按其作用通常有工作接地、保护接地、保护接零、重复接地和防雷接地之分。
3.动力系统
动力系统是将电能作用于电动机来拖动各种工作设备或以电能为能源用于生产的电气装置,如高、低压或交、直流电机,起重电气装置,自动化拖动装置等。
动力工程通常以一个车间或一栋厂房为一个单位工程,它的范围为:电源引入―各种控制设备―配电线路(包括二次线路)―电机或用电设备接线―接地、调试等。
4.变配电系统
变配电系统是用于变换和分配电能的电气装置总称,由变电设备和配电设备两大部分组成。
变配电系统作为一个单位工程时,它的范围一般从电力网接入电源点起,到分配电能的输出点的整个工程内容,同时也包括该系统内的照明、接地、防雷装置等。
常用电气材料和设备
1.材料
常配电系统是用于变换和分配电能的电气装置总称,由变电设备和配电设备两大部分组成。
变配电系统作为一个单位工程时,它的范围一般从电力网接入电源点起,到分配电能的输出点的整个工程内容,同时也包括该系统内的照明、接地、防雷装置等。
2.设备
常用电气设备包括:成套高压开关柜和低压配电屏、箱、盘,随设备带来的母线支持瓷瓶,组合型成套箱式变电站,电力变压器,高压隔离开关,高压断路器,高压熔断器,互感器,电力电容器,蓄电池等。
电气施工图
1 .电气施工图的组成
电气设备安装工程施工图一般包括变配电工程图、动力工程图、照明工程图、外电工程图、防雷接地工程图等。电气施工图一般由基本图和详图两部分组成。
(1)基本图
电气施工图中的基本图包括图纸目录、施工图说明、系统图、平面图、立(剖)面图、控制原理图等,设备材料表也属于基本图的范围。
①施工图说明
在电气施工图中,施工说明一般注明的是供电方式、电压等级、主要线路敷设形式及在图中未明确的各种电气设备安装高度、工程主要技术数据、施工和验收要求及有关事项等。
②主要设备材料表
设备材料表列出该项工程所需的各种主要设备、管材、导线等器材的名称、型号、规格、数量,是提供订购主要设备、材料的依据。
③电气系统图
电气系统图是依据电气工程的组成和配电方式画出的,它是概括地把整个工程的供配电线路用单线连结形式表示的线路图,它不表示电气设备、电气线路的具体空间位置关系。
④电气平面图
电气平面图一般包括变配电工程平面图、动力平面图、照明平面图、弱电(电话、广播)平面图、室外电气工程平面图,在高层建筑中有标准层平面图,干线布置图等。
⑤控制原理图
用于对用电设备的控制和保护的电器设备,一般统称为控制电器。
控制原理图是根据控制电器的工作原理,用规定的图形和文字符号画成的电路展开图。它一般不表示电器元件的具体安装空间位置。
(2)详图
①大样图
电气工程详图多为配电盘(箱、板)、控制盘盘面布置及某些安装部件的大样图。
②标准图
标准图是一种具有通用性质的详图,它表示一组设备或部件的具体图形和详细尺寸,便于制作安装。
2.电气施工图的特点
电气施工图不同于机械工程图,一般的电气平面图是在简化的土建平面图上绘制的,另外还有一些电气系统图、原理图和接线图。电气施工图的特点是:
(1) 简图是电气施工图的主要形式,即它是用图形符号、带注释的围框或简化外形表示系统或设备之间相互关系的图。
(2) 图形符号、文字符号和项目代号是构成电气施工图的基本要素。
(3) 电气装置和电气系统主要是由电气元件和电气连接线构成,所以电气元件和电气连接线是电气施工图描述的主要内容。
(4) 位置布局法和功能布局法是电气施工图中两种最基本的布局方法。
(5) 电气设备和线路在平面图中并不按比例画出它们的形状和外形尺寸,通常采用图例来表示的。
《电气设备安装工程预算定额》
注意的问题
1.使用定额应注意的问题
(1)定额未计价材料的计算
电气设备安装工程预算定额中的未计价材料,大部分都是主要材料。定额中用括弧表示的材料为未计价材料,其价值编制预算时应另行计算;定额中未列消耗量的主材,编制预算时应按施工图用量,按规定的损耗费增加损耗量。
(2)脚手架搭拆费
电气设备安装工程(10kV以下架空线路除外)脚手架搭拆费,计取标准是按
工程人工费的4%计算,其中人工工资占搭拆费的25%,即
脚手架搭拆费=工程人工费4%
其中人工费=脚手架搭拆费25%
计算基数为各分项工程人工费、超高增加费和高层建筑增加费中的人工费
(3)工程超高增加费
除章、节说明某些分项定额已考虑高空作业因素外,凡操作物安装高度超过楼地面5m以上、20m以下的电气安装工程,其工程超高增加费按超高部分人工费的33%计算,即
工程超高增加费=超高分项工程人工费33%
(4)高层建筑增加费
电气设备安装工程高层建筑增加费按表2.2的规定计算。该费用全部为人工工资。
(5)安装与生产同时进行增加费和在有害身体健康环境中施工增加费
这两种增加费均属于人工费,它们的计算式为:
安装与生产同时进行增加费=(各分项工程的人工费+子目系数增加费中的人工费)10%
在有害身体健康环境中施工增加费=(各分项工程的人工费+子目系数增加费中的人工费)10%
定额的套用与工程量计算
电气设备安装工程涉及的范围广,分项工程项目又多,预算定额章节也较多。在编制电气设备安装工程计价时,为了不使工程项目套错定额和工程量漏算,应对整个电气工程分系统划分分项工程,分系统计算工程量。
电气照明系统
1. 照明控制设备
电气照明工程的控制设备主要指照明配电箱、板以及箱内组装的各种控制开关、熔断器、计量仪表、盘柜配线等。照明工程控制设备安装,分成套型控制设备和单体控制设备安装。
2.配管、配线
配管、配线是指电气设备安装工程中配电线路和配电线路保护管的敷设。
(1) 配管
配管的工作内容包括:测位、划线、打眼、埋螺栓、锯管、套丝、煨弯、配管、刨沟、抹砂浆保护层、接地,刷漆。
水平方向敷设的线管应以施工平面图的管线走向、敷设部位和设备安装位置的中心点为依据,并借用平面图上所标墙、柱轴线尺寸进行线管长度的计算,若没有轴线尺寸可利用时,则应运用比例尺或直尺直接在平面图上量取线管长度,如图所示:

垂直方向敷设的线管(沿墙、柱引上或引下),其配管长度一般应根据楼层高度和箱、柜、盘、板、开关、插座等的安装高度进行计算,如图所示

地敷设示意图
为配管埋地敷设示意图。设图中配电箱安装高度底边距地1.5米,插座距地0.3米;配电箱至插座配管为沿墙、地面暗敷设,设埋地深度0.1米;则整个配管长度为:1.5米(箱底垂直至地面)+0.1米(垂直入地深)+L1(配电箱与中间墙左插座水平距离,可用比例尺在图上量出)+0.1米(垂直出地面)+0.3米(垂直入插座)+0.4米(垂直出插座入地)+L2(中间墙两插座水平距离,可用比例尺在图上量出)+0.4米(垂直出地入插座)+0.4米(垂直出插座入地)+L3(至右墙插座水平距离,可用比例尺在图上量出)+0.4米(垂直出地面入插座)
(2)配线
配线工程定额按不同的配线形式编有管内穿线,瓷夹板配线,塑料夹板配线,鼓形绝缘子配线,针式绝缘子配线,蝶式绝缘子配线,木槽板配线,塑料槽板配线,塑料护套明敷配线,以及线槽配线等。
①管内穿线
定额分照明线路、动力线路和多芯软导线,并按导体材料、导线截面积及芯数划分项目。
照明线路管内穿线,套用定额2-1169~1173,当导线截面积大于或等于6平方毫米时,应执行动力线路相应项目。动力线路管内穿线,套用定额2-1174~1211。多芯软导线管内穿线,套用定额2-1212~1226。
工程量计量单位:100m、100m/束,工程量按施工图 图示单线(束)延长米计算。
计算管内穿线工程量可与计算配管工程量同时进行,计算式如下:
管内穿线工程量=管内穿线单线长度(m)100
②塑料护套线明敷配线
定额项目按建筑物结构、护套线芯数(二芯、三芯)和单根线芯截面积大小等因素划分,使用时分别套用定额2-1313~1336。如塑料护套线BVV-22.5在木结构上明敷设,套用定额2-1313,而在砖混结构上明敷时,则套用2-1319。
工程量计量单位:100m,工程量按施工图图示分二芯、三芯线路延长米计算,包括水平及绕梁、柱和上下走向的垂直长度加规定的预留线长度。
(3)接线箱、盒安装
在配管配线工程中,无论是明配还是暗配均存在线路接线盒(分线盒)、接线箱、开关盒、灯头盒以及插座盒的安装。
接线箱定额按明装、暗装及接线箱的不同规格(半周长)划分项目,使用时套用2-1373~1376;接线盒按接线盒、开关盒、普通接线盒、防爆接线盒、钢索上接线盒及明装、暗装划分子目,使用时套用2-1377~1381。如,暗装开关盒套用2-1378,而暗装灯头盒则套用2-1377。
工程量计量单位:10个;工程量按施工图图示数量计算,或按施工工艺及规范要求计算。
线路接线盒(分线盒)产生在管线的分支处或管线的转弯处。暗装的开关、插座应有开关接线盒和插座接线盒,暗配管线到灯位处应有灯头接线盒。钢管配钢质接线盒,塑料管配塑料接线盒。
接下来是必看的电气工程量计算规则及方法!
安装造价里,最难的莫过于建筑电气,为何?
从电缆电线的区分到分别计算,从电气桥架到爬墙走线,从防雷接地到弱电智能化,每个环节都是比较复杂且难以弄懂的,那么本章就带领各位安装造价人学习学习如何计算电气工程量及方法。
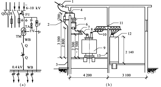
一、10kV高压架空进户装置
10 kV以下悬式绝缘子XP,以串计量;
10 kV以下户外高压熔断器WR,以组计量;
钢穿通板,以块计量;
10 kV以下穿墙导管CLB,以个计量;
10 kV以下避雷器FS,以组计量;
10 kV以下户内、外支持绝缘子ZA,以个计量;
支架、金具,以kg计算。
二、变配电装置及设备
从进户装置起依序计算

三、变压器安装
计算规则:按不同电压等级、不同容量和不同类型分别以台计量。
TM安装:不包括变压器油耐压试验及变压器系统调试。
TM分类:冷却方式有油浸式、干式;相数分单相与三相;线圈材质分铜、铝线圈;铁芯分热轧与冷轧硅钢片等。
四、配电装置安装
断路器(QF)、负荷开关(QL)、隔离开关(QS),断、通正常负荷电路,保护和控制高压电器设备。安装包括所配备的电磁式、弹簧储能式、手动式等操作机构。
电流互感器(TA)、电压互感器(TV)作为测量电压、电流、电能及继电保护之用。
计算规则:上述装置均以台计量。
五、母线安装
母线:有变配电装置高压母线和车间配电低压母线,注意区别。
常用硬母线:铜(TMY)、铝(LMY) 。
计算规则:单片延长米计算。
L母= (母线设计单片延长米长度+母线预留长度)(1+2.3%)
制作安装损耗2.3%
六、高压控制设备
高压控制台、柜、屏,用于发电厂、工矿企业变配电站(所),接受电力和大型高压交流电动机启动、保护的主要设备。
目前,国产有固定、手车及活动式三种。 型号有GG、GFC、GBC等型。
计算规则:分别按控制屏、继电屏、模拟屏、电源屏、直流屏、控制台及箱式配电室等以台计量。
七、低压控制配电设备
计算规则:成套型动力、照明控制及配电用柜、箱、屏等,不分型号、规格及安装方式,均以台计量。
进出柜、箱、屏的导线需焊(压)接线端子时,以个计量。
高压、低压设备基座、支架:槽(角)钢基座、支架制安按kg、m计算。
八、电力及控制电缆

电缆埋地或地沟进户示意
L=(l1+l2+l3+l4+l5+l6+l7)(1+2.5%)
九、电力及控制电缆安装
计算规则:10 kV以下电力及控制电缆;无论敷设方式用部位,分别以m计算。
电缆长度以敷设方式和部位的表达式:
电缆长度=(2端头长+引上下长+直埋地长+电缆沟长+保护管长+钢索长+沿墙长+竖井道长+桥架长+槽架长十梯架长+线道长等+电缆预留量)(1+2.5%)
电缆端头:制作安装以个计量。
十、电缆直埋敷设
电缆沟土石方,以m 计算:
V=S L,两根电缆每1 m沟长,V=0.45 m 每增加一根电缆,每1m沟增加0.153m。
电缆沟铺砂盖砖:以沟长度m计算。
十一、电缆沟内敷设
电缆沟:进人、不进人沟。
沟体砌筑:土石方量m3 ;沟底、壁砌砖 或浇筑m3;沟壁、底抹水泥砂浆m2;沟盖板制作m3 ; 采购时价值及运费。
参考《建筑工程预算定额》。
揭、盖电缆沟盖板:m计算;
沟内支架制安:钢kg 、砼m3 计算。
十二、电缆桥架安装
桥架:分为梯式、托盘式(有孔托盘、无孔托盘),一般由直线段、弯通、三通等附件及支、吊架等构成。
计算规则:无论钢质、不锈钢、铝合金、玻璃钢、塑料质桥架,均按m计算。包括桥架每段间用5.5~16mm2的电气连通
跨接线及接地线和接地端子的安装。
十三、配管工程量
规则:配管以管材质、规格和敷设方式不同(明暗),按延长米分别计算,不扣除接线盒(箱)、灯头盒、开关盒所占长度。
要领:从配电箱起逐回路进行计算。
方法:水平管,借建筑物平面图墙、柱轴线尺寸进行计算。只能斜向敷设的管,当图纸比例正确时,可用比例尺量算。
十四、配管配线的明暗盒
接线(分线)、插座、开关、灯头等盒按个计量。
十五、电气配线
规则:照明和动力线路不分品种、规格、型号、敷设方式均按单线延长米计算。
管穿线长=(配管长度+导线预留长度) 同截面导线根数
常用导线:单芯、多芯;铝芯、铜芯;塑料、橡胶绝缘。

导线预留长度