下面就给大家归纳了电气工程成套设计基本知识,希望大家能掌握,灵活熟练运用在计算、设计、施工中。

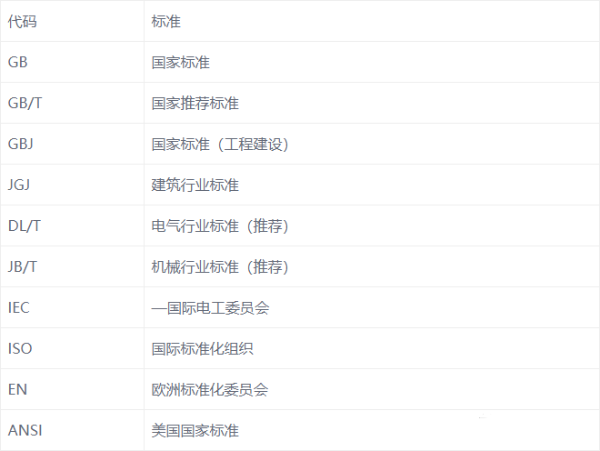
各种标准代号


国标推荐及图例

当断路器切除短路能力不够时,可加熔断器,此时,断路器只作过载保护及操作用。
国家标准中已没有负荷开关这一称呼及相应的图例,平常所谓的负荷开关,实际上是隔离开关的一种,当隔离开关的使用类别为AC-21、AC-22、AC-22时,即为所谓的负荷开关。
常用数据表格
(1)变压器高压短路容量500KVA,低压0.4KV出口短路电流值(KA)

(2)变压器基本参数及低压基本配置估算值

(3)PE线选择

(4)塑料线BV、BVR载流量(温升为65K,环境升为4℃)

(5)单片母线的载流量(A)e=70K,环境温度为40℃


(6)抽屉内用乙炳绝缘非燃性护套软电缆JEFR载流量

(7)铜母排允许短路冲击电流峰值(kA)(验证动稳定用)

(8)铝母排允许短路冲击电流峰值(kA)(验证支稳定用)

(9)低压柜电气间隙爬电距离


(10)高压柜电气间隙及爬电距离

(11)电气设备外壳防护等级IP

(12)低压电器的使用类别

(13)达到补偿后的功率因烽时所需系数K值



(14)电缆分支线三相短路稳态电流速查表


(15)母线螺栓搭接尺寸





电气实用速算法

(1)变压器低压侧电流为容量的1.5倍(精确时为1.44倍)
(2)变压器低压出口三相短路电流为容量的150倍除以变压器短路阻抗百分数(精确时为144倍)
(3)变压器10kV侧额定电流为容量的6%(精确为5.8%);6kV侧额定电流为容量 10%(精确时为9.6%)
(4)0.4kV三相补偿电容器额定电流为容量的1.5倍(精确时为1.44倍)
(5)380V三相电机额定电流为容量和2倍
(6)一般情况下低压侧功率因数补偿至0.95,电容器容量约为变压器容量的1/3~2/5。一般使用场所适用,特殊场合,如电阻炉或气体放电灯的容量大的场所例外。
(7)铜排载流量估算表


(8)三相380V笼式电机额定及起动电流保护计算:
额定电流安培数为其容量千瓦数的2倍,其起动电流约为容量的12~14倍,对直接起动的电机,保护短塑壳开关瞬动电流为其容量17~24倍;对轻载且不经常起动的电机,熔丝电流为电机额定电流的2.5~3倍;对重载起动电机,熔丝电流为其额定电流的4~5倍。
(9)低压补偿电容器容量及保护熔断器的选择
一般情况,补偿千乏数为变压器容量千伏安数和30%~40%,单只容量电流安培数为其容量千乏数的1.5倍,保护熔断器熔丝电流不小于电容器额定电流的1.5倍。

估算举例:
一台1250KVA变压器,短路阻抗为6%,
低压0.4KV额定电流 Ie=1.5*1250=1875A,
低压短路电流 Ik=1250/6=31250=31.25Ka,
高压10kV侧电流 I1=12508*6%=75A,
低压电容补偿容量线为 Q=150*1/3=420kVar。
因此,高压电流互感器选75/5
低压电流互感器2000/5,2500/5,
断路器选断流能力不小于35KA即可;
补偿电容器柜两台,一台200kVar,一台220 kVar。
注:若高压电流互感器动稳定不符合要求时,可加大变比或另选电流互感器。
电气基本知识
(1)高压柜五防要求:
对固定柜要求为:
① 防误拉、合断路器;
② 防误拉、全隔离开关;
③ 防带电挂接地线;
④ 防带接地线送电;
⑤ 防误进入带电间隔。
对手车柜要求为:
① 只有在工作/试验位置手车才能合闸;
② 手车合闸后,手车无法移动;
③ 手车处于断开位置时,接地开关才能合上;
④ 接地开关合闸时,手车无法移至工作位置;
⑤ 接地开关处于分闸位置时,是缆室手动或用通用工具无法打开。
(2)电气设备三防要求及防污等级
(1) 防湿热
(2)防盐雾
(3)防霉菌
正常情况下,污染等级分为四级,级别越高,污染越重。(一般条件下,防污染等级达3级)
(3)母线排列顺序及颜色
垂直母线由左右至右:A、B、C、N,直流母线正极在左、负极在右;上下布置的交流母线,由下至下为A、B、C、N,直流正极在上,负极在下。水平面置时,由柜后向柜前排列为A、B、C、N,直流母线正极在后,负极在前。
母线涂色:交流A-黄、B-绿、C-红、PE-黄绿双色N-淡兰,直流正极为赭色,负极为兰色。
注:N的排列为推荐顺序,不一定强制执行。
(4)高压短路冲击电流
Ish=2.55I
Ish=1.5I
低压短路时
Ish=1.84I
Ish=1.091I
当电流互感器动稳定倍数为K时,动稳定校验条件2KIsh,热稳定倍数为KT且时间为t时,热稳定校验为(KTIe)2tIK2tima;Tima为假想时间等于短路切除时间再加0.05秒。
(5)低压常见接地系统如下表

(6)指示灯及按钮排列顺序及颜色,指示灯安装高度,电压表电流表安装位置
电源指示灯红色在右(断电),绿色在左(合闸),红色(断电)按钮在绿灯下方,绿色(合闸)按钮在红灯正文,指示灯高度不宜超过2米,电压表位左、电流表位右,电流表与互感器对应。
(7)断路器的极限分断能力及使用分断能力的含义
所谓极限分断能力,指在此短路电流下,断路器能够分断,但会遭到严重损坏,必须经过大修或者进行更换,才能继续运行,使用分断能力指在此电流下,断路器当然 可分断电流,分断后可不经任何下理继续工作,采用极限分断能力,可降低造价,但分断极限电流后要更换或大修开关,这是其不足之处,但事实上很难发生短路, 即使短路电流也未必达到极限值。
一二次安装的注意事项
1. 导体的过接及绝缘导线的安装
母线与母线、母线与端子过接应符合下列规定:
(1) 铜与铜:室外,高温且潮湿的室内,搭接面应搪锡,干燥的室内,不必搪锡;
(2)钢与钢:搭接面镀锌或搪锡
(3)铜与铝:在干燥室内,铜导体搭接面搪锡,在潮湿场所,铜导体搭接面搪锡,且用铜铝过渡排连接。
(4)铝与铝,搭接面不做涂层处理;
(5)钢与铜、铝搭接,钢搭接面搪锡。
单根绝缘导线安装:
(1)截面在10mm2及以下单股导线,直接与设备端子相连;
(2)截面在2.5mm2及下多股铜芯线,拧紧搪锡或经接续端子与设备端子相连;
(3)截面2.5 mm2以上铜芯线,除设备自带插接式端子外,须经接续端子与设备端子相连;
(4)与每只设备端子相连导线,不得多于2根;
(5)电线、电缆芯线连接端子,规格应与芯线适配,不是采用开口端子,有的施工单位用比导体大的端子,然后用短铜丝填充端子剩余空间,这是不符合要求的。
2. 搭接母排导体的松紧度的确定
接触面采用0.05*10mm的塞尺检查,应符合以下要求:
母排宽度80mm及以上者,不得塞入6mm,宽度为60mm以下者,不得塞入4mm。
3. 二次回路设计安装注意事项
(1)对于靠近电源的二次回路,保护电器不宜采用微型断路器,因为断流能力约6千安左右,很难满足短路保护要求,可采用RT14熔断器,断流能力可达50KA,且积小,熔断体容易更换。
(2)对于二次线路过长且复杂的回路,宜加隔离变压器作二次总电源,这对防止人身触电伤忘事故很有多用。
(3)一般情况下,二次线采用黑色绝缘线,固定敷设时,采用BV导线,活动线及接地线采用BVR或RV软线。保护线采用黄绿双色线。
(4)穿进金属板孔时,应加防护套,且护套接缝应处于上方,金属板孔套大小适中的护圈。
(5)线束整理平直后,加缠绕管,为散热要求,缠管每绕一周应有3-10mm间隙。
(6)接线端子大小与导线截面适配,不得采用开口端子
(7)合理选用抽带,不得用于绑杂一次线的大型抽带用于二次回路,一般选用3-150mm规格的,捆绑时,抽带有齿面向内,光滑面向外。绑紧后把尾部多余部分剪去。
(8)线束的固定采用线夹子,将线束放于线夹底座后,盖上线夹盖子,用自攻螺丝拧紧,线夹固定后,线束无滑动且线夹无裂纹,线束与线夹间要加保护层,保护层可和塑料套管或缠绕带密集缠绕。
(9)强电与弱电线路不应放于同线束内。
(10)不允许导线中间有接头,放线长度以实际测量长度留出100~150mm余量。
(11)线束固定点间距水平不应大于200mm,垂直不应大于300mm,尽量远离活动部件,以免线束松脱后搭在活动部件上,造成磨损。
(12)每个接点最多接入不超过二根线,否则应加过渡端子。
(13)母线与二次线相接,在母排上打孔,用M4螺丝及相应螺母、平垫圈、弹簧热圈固定,或经特殊端子(RF250)才能与主回路共用螺栓。
(14)二次线束要在接触器及断路器喷弧距离之外,且远离发热元件。
(15)二次线束若采用塑料线槽布线时,搭线处应严紧平整,槽内平整。元毛刺、线不交叉。