一、风机盘管控制工作原理
风机盘管控制多采用就地控制的方案,分简单控制和温度控制两种:
风机盘管简单控制:
使用三速开关直接手动控制风机的三速转换与启停。
风机盘管温度控制:
使用温控器根据设定温度与实际检测温度的比较、运算,自动控制电动两/三通阀的开闭,风机的三速转换,或直接控制风机的三速转换与启停,从而通过控制系统水流或风量达到恒温。
二、风机盘管系统工作原理
风机盘管主要由风机,换热盘管和机壳组成,按风机盘管机外静压可分为标准型和高静压型、按换热盘管排数可分为两排和三排,换热盘管一般是采用铜管串铝翅片,铜管外径为10~16mm,翅片厚度约0.15~0.2mm,间距2.0~3.0mm,风机一般采用双进风前弯形叶片离心风机,电机采用电容式4极单相电机、三档转速、机壳和凝水盘隔热。
风机盘管原理图-风机盘管工作及控制原理

三、风机盘管空调系统的工作原理
借助风机盘管机组不断地循环室内空气,使之通过盘管而被冷却或加热,以保持房间要求的温度和一定的相对湿度。盘管使用的冷水或热水,由集中冷源和热源供应,与此同时,由新风空调机房集中处理后的新风,通过专门的新风管道分别送人各空调房间,以满足空调房间的卫生要求。
风机盘管空调系统与集中式系统相比,没有大风道,只有水管和较小的新风管,具有布置和安装方便、占用建筑空间小、单独调节好等优点,广泛用于温、湿度精度要求不高、房间数多、房间较小、需要单独控制的舒适性空调中。
风机盘管工作原理没有中央空调复杂,其实我们可以把风机盘管形象的看做是一台电扇,只是这台电扇吹出来的风是我们需要的温度。目前市面上风机盘管很多,为了节约成本,很多公司会选择国产风机盘管,而采用进口中央空调主机,这样并不影响整个中央空调系统的运行和使用效果。

四、中央空调风机盘管机基础知识
为满足不同场合的设计选用,风机盘管种类有:卧式暗装(带回风箱) 风机盘管、卧式明装风机盘管、立式暗装风机盘管、立式明装风机盘管、卡式二出风风机盘管、卡式四出风风机盘管及壁挂式风机盘管等多种。
风机盘管机组主要由低噪声电机、盘管等组成。盘管内的冷(热)媒水由机器房集中供给。
中央空调风机盘管按照形式分为:卧式暗装、卧式明装、立式暗装、立式明装、卡式五种;
卧式风机盘管按照厚度可以分成:超薄型、普通型;卡式风机盘管按照有无冷凝水泵可以分成:普通型、豪华型;
中央空调风机盘管根据机组静压大小可以分成:0Pa、12Pa、30Pa、50Pa、80Pa等,这里是指机外静压;
中央空调风机盘管按照排管数量可以分成:两排管、三排管;还有两管制和四管制之分:
两管制即普通风机盘管夏季走冷水制冷,冬季走热水制热;四管制风机盘管多用于一些比较豪华场所,可以同时走热水和冷水,即可以根据需要有的房间制冷,有的房间取暖。两排管是夏季一管进冷水,一管出冷水,冬季一管进热水,一管出热水;三排管是两管进水,一管进冷水,一管进热水,同时一管出水。
五、风机盘管主要特点:
1、风机盘管机体结构精致,紧凑,坚固耐用,外型美观且高贵幽雅。
2、风机盘管采用优质镀锌板机壳,冷凝水盘采用模压工艺一体成型,无焊缝、焊点、符合防火规范的保温材料整体连接于水盘。
3、风机盘管体积小: 机体设计轻巧。排水管及线路安装简便,左右接管及回风方式可随时变换,以配合现场情况。机组能安装于任何空间场所。
4、风机盘管效率高: 先进的胀管工艺,保证了换热器铜管和铝箔的紧密接触,传热性能好;
5、风机盘管噪音低: 合理的风机与气流结构设计,优质的吸音保温材料,使机组噪音低于国家标准1-3dB(A);
6、风机盘管能耗低: 风机与换热器合理匹配,三档可调风量,使风机用电最省。
7、风机盘管主要依靠风机的强制作用,使空气通过加热器表面时被加热,因而强化了散热器与空气间的对流换热器,能够迅速加热房间的空气。
8、风机盘管是空调系统的末端装置,其工作原理是机组内不断的再循环所在房间的空气,使空气通过冷水(热水)盘管后被冷却(加热),以保持房间温度的恒定。通常,通过新风机组处理后送入室内,以满足空调房间新风量的需要。
但是,由于这种采暖方式只基于对流换热,而致使室内达不到最佳的舒适水平,故只适用于人停留时间较短的场所,如:办公室及宾馆,而不用于普通住宅。由于增加了风机,提高了造价和运行费用,设备的维护和管理也较为复杂。
9、风机盘管控制多采用就地控制的方案,分简单控制和温度控制两种。
简单控制:使用三速开关直接手动控制风机的三速转换与启停。
温度控制:STC 系列温控器根据设定温度与实际检测温度的比较、运算,自动控制 STV 系列电动两 / 三通阀的开闭;风机的三速转换。或直接控制风机的三速转换与启停,从而通过控制系统水流或风量达到恒温的目的。
六、安装的一般技术要求:
1、风机盘管安装前应检查应进行机组的外观检查、三速运转和水压试验。
2、管道与风机盘管连接时宜采用软管连接。
3、风机盘管的供回水阀门、过滤器应靠近盘管安装,且全部在凝水盘的上方。
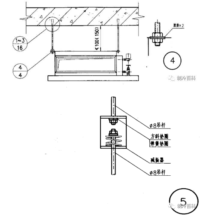
4、风机盘管吊装时,吊装应牢固、位置正确,并有0.003的坡度坡向凝水盘的出口,吊杆与盘管相连处应用双螺母紧固。暗装的盘管吊顶应留有活动检查门,便于机组和维修。

5、风机盘管与供回水管道连接操作时应采用专用工具,防止盘管接口,凝水盘与凝结水管连接处应采用200mm长的塑料软管并用专用管夹夹紧 。
6、风机盘管应在管道冲洗后再与之连接,以防止盘管堵塞;如果安装有过滤器应在系统调试运行后进行拆洗才能交付。



风机盘管机组安装前应进行单机三速试运转及水压试验,试验压力为系统工作压力的1.5倍,不漏为合格。
七、风机盘管安装的符号说明:
1-软连接;2-电动二通阀;3-截止阀;4-Y型过滤器;5-吊杆;6-风机盘管;7-风管软接;8-凝结水排水 。
风机盘管的进出水阀门应尽可能靠近凝水盘安装,以免阀杆的滴水漏人房间。
风管、回风箱及风口与风机盘管机组连接处应严密、牢固。
排水坡度应正确,安装时风机盘管可稍微坡向凝结水排水口。


卧式风机盘管吊杆与楼板固定的节点:


风机盘管现场安装式样(不带回风箱):

风机盘管现场安装式样(带回风箱):
