摘要
本实用新型涉及水利施工技术领域,尤其是一种用于水利施工的清淤装置,包括不封底的清理箱,所述清理箱的底部设有移动机构,所述清理箱内部设有清扫装置,所述清扫装置包括U型连接板,所述U型连接板的底部转动安装有多个相互平行的滚轴,所述滚轴的表面均包裹有钢丝刷,其中一个所述滚轴的一端贯穿U型连接板且端部连接有第一链轮,所述第一链轮上方设有第二链轮,所述第二链轮固定连接在电机的输出轴上,所述电机固定安装在U型连接板顶部,所述第一链轮与第二链轮之间通过链条连接。本实用新型,结构简单,使用便捷,有效的降低了人工的劳动强度,且清淤效果好、效率高。

权利要求书
1、一种用于水利施工的清淤装置,包括不封底的清理箱(1),所述清理箱(1)的底部设有移动机构,其特征在于,所述清理箱(1)内部设有清扫装置,所述清扫装置包括U型连接板(10),所述U型连接板(10)的底部转动安装有多个相互平行的滚轴(9),所述滚轴(9)的表面均包裹有钢丝刷(11),其中一个所述滚轴(9)的一端贯穿U型连接板(10)且端部连接有第一链轮(15),所述第一链轮(15)上方设有第二链轮(17),所述第二链轮(17)固定连接在电机(3)的输出轴上,所述电机(3)固定安装在U型连接板(10)顶部,所述第一链轮(15)与第二链轮(17)之间通过链条(16)连接,多根所述滚轴(9)远离第一链轮(15)的一端共同贯穿U型连接板(10)且端部均连接有齿轮(8),相邻所述齿轮(8)之间相互啮合,所述U型连接板(10)顶部两端对称垂直安装有电动伸缩杆(6),所述电动伸缩杆(6)顶端固定连接在清理箱(1)顶部内壁上,在两个电动伸缩杆(6)之间设有蓄电装置。
2、根据权利要求1所述的一种用于水利施工的清淤装置,其特征在于,所述移动机构包括连接框架(12),所述连接框架(12)的四角均滑动套设在U型杆(14)上,所述U型杆(14)固定连接在清理箱(1)的侧壁上,所述U型杆(14)上均竖直套设有弹簧(7),所述弹簧(7)位于连接框架(12)顶部,在所述连接框架(12)底部四角均转动安装有行走轮(13)。
3、根据权利要求1所述的一种用于水利施工的清淤装置,其特征在于,所述蓄电装置包括蓄电瓶(5),所述蓄电瓶(5)固定安装在安装盒(4)内部,所述安装盒(4)固定连接在清理箱(1)顶部内壁上,所述蓄电瓶(5)通过导线连接有太阳能电池板(2),所述太阳能电池板(2)水平铺设在清理箱(1)顶部,所述电动伸缩杆(6)和电机(3)与蓄电瓶(5)之间均通过导线连接。
4、根据权利要求2所述的一种用于水利施工的清淤装置,其特征在于,所述行走轮(13)为带有刹车机构的万向轮。
说明书
一种用于水利施工的清淤装置
技术领域
本实用新型涉及水利施工技术领域,尤其涉及一种用于水利施工的清淤装置。
背景技术
在水利施工的时候,避免不了在清理水渠的时候,对内部的淤泥进行清洁,如果单单采用人工清洁,便导致工作者身上沾满淤泥,非常不卫生,同时人工清理的时候,会给人工带来一定的体力消耗,也不是很好。
实用新型内容
本实用新型的目的是为了解决现有技术中存在体力消耗大,不卫生的缺点,而提出的一种用于水利施工的清淤装置。
为了实现上述目的,本实用新型采用了如下技术方案:
设计一种用于水利施工的清淤装置,包括不封底的清理箱,所述清理箱的底部设有移动机构,所述清理箱内部设有清扫装置,所述清扫装置包括U型连接板,所述U型连接板的底部转动安装有多个相互平行的滚轴,所述滚轴的表面均包裹有钢丝刷,其中一个所述滚轴的一端贯穿U型连接板且端部连接有第一链轮,所述第一链轮上方设有第二链轮,所述第二链轮固定连接在电机的输出轴上,所述电机固定安装在U型连接板顶部,所述第一链轮与第二链轮之间通过链条连接,多根所述滚轴远离第一链轮的一端共同贯穿U型连接板且端部均连接有齿轮,相邻所述齿轮之间相互啮合,所述U型连接板顶部两端对称垂直安装有电动伸缩杆,所述电动伸缩杆顶端固定连接在清理箱顶部内壁上,在两个电动伸缩杆之间设有蓄电装置。
优选的,所述移动机构包括连接框架,所述连接框架的四角均滑动套设在U型杆上,所述U型杆固定连接在清理箱的侧壁上,所述U型杆上均竖直套设有弹簧,所述弹簧位于连接框架顶部,在所述连接框架底部四角均转动安装有行走轮。
优选的,所述蓄电装置包括蓄电瓶,所述蓄电瓶固定安装在安装盒内部,所述安装盒固定连接在清理箱顶部内壁上,所述蓄电瓶通过导线连接有太阳能电池板,所述太阳能电池板水平铺设在清理箱顶部,所述电动伸缩杆和电机与蓄电瓶之间均通过导线连接。
优选的,所述行走轮为带有刹车机构的万向轮。
本实用新型提出的一种用于水利施工的清淤装置,有益效果在于:通过电动伸缩杆伸长,从而将U型连接板推动至清理箱外部,通过启动电机,从而带动滚轴旋转,滚轴带动钢丝刷转动,在钢丝刷转动的过程中将水渠中的淤泥进行打散,使得水流可将其冲走,这样一来就无需人工进行操作,大大降低工人的体力消耗。本实用新型,结构简单,使用便捷,有效的降低了人工的劳动强度,且清淤效果好、效率高。
附图说明
图1为本实用新型提出的一种用于水利施工的清淤装置的结构示意图;
图2为本实用新型提出的一种用于水利施工的清淤装置的左视结构示意图;
图3为本实用新型提出的一种用于水利施工的清淤装置的清扫装置连接示意图。
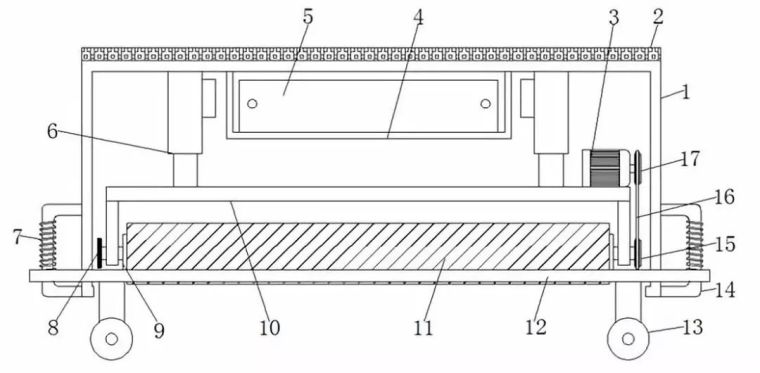
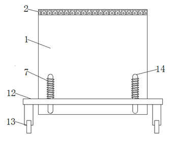
图中:清理箱1、太阳能电池板2、电机3、安装盒4、蓄电瓶5、电动伸缩杆6、弹簧7、齿轮8、滚轴9、U型连接板10、钢丝刷11、连接框架12、行走轮13、U型杆14、第一链轮15、链条16、第二链轮17。
具体实施方式
下面将结合本实用新型实施例中的附图,对本实用新型实施例中的技术方案进行清楚、完整地描述,显然,所描述的实施例仅仅是本实用新型一部分实施例,而不是全部的实施例。
参照图1-3,一种用于水利施工的清淤装置,包括不封底的清理箱1,清理箱1的底部设有移动机构,移动机构包括连接框架12,连接框架12的四角均滑动套设在U型杆14上,U型杆14固定连接在清理箱1的侧壁上,U型杆14上均竖直套设有弹簧7,弹簧7位于连接框架12顶部,在连接框架12底部四角均转动安装有行走轮13,行走轮13为带有刹车机构的万向轮;通过行走轮13,从而可以方便对清理箱1进行移动,通过弹簧7,可以起到缓冲减震的作用,避免清理箱1出现倾斜的现象,影响清理效果。
清理箱1内部设有清扫装置,清扫装置包括U型连接板10,U型连接板10的底部转动安装有多个相互平行的滚轴9,滚轴9的表面均包裹有钢丝刷11,其中一个滚轴9的一端贯穿U型连接板10且端部连接有第一链轮15,第一链轮15上方设有第二链轮17,第二链轮17固定连接在电机3的输出轴上,电机3固定安装在U型连接板10顶部,第一链轮15与第二链轮17之间通过链条16连接,多根滚轴9远离第一链轮15的一端共同贯穿U型连接板10且端部均连接有齿轮8,相邻齿轮8之间相互啮合,U型连接板10顶部两端对称垂直安装有电动伸缩杆6,电动伸缩杆6顶端固定连接在清理箱1顶部内壁上,在两个电动伸缩杆6之间设有蓄电装置;通过电动伸缩杆6伸长,从而将U型连接板10和滚轴9推动至清理箱1的外部,通过启动电机3,从而第一链轮15带动第二链轮17转动,第二链轮17带动其中一根滚轴9转动,通过齿轮8,从而带动其他滚轴9一起转动,在转动的过程中,钢丝刷11随之旋转,从而将水渠中的淤泥进行打散,使得水流可将其冲走。
蓄电装置包括蓄电瓶5,蓄电瓶5固定安装在安装盒4内部,安装盒4固定连接在清理箱1顶部内壁上,蓄电瓶5通过导线连接有太阳能电池板2,太阳能电池板2水平铺设在清理箱1顶部,电动伸缩杆6和电机3与蓄电瓶5之间均通过导线连接;通过太阳能电池板2,从而将太阳光能转化为电能储存到蓄电瓶5内部,以此来给电动伸缩杆6和电机3提供能源,从而达到节能的效果。
实施方式:通过电动伸缩杆6伸长,从而将U型连接板10推动至清理箱1外部,通过启动电机3,从而带动滚轴9旋转,滚轴9带动钢丝刷11转动,在钢丝刷11转动的过程中将水渠中的淤泥进行打散,使得水流可将其冲走,通过行走轮13,从而方便对清理箱1进行移动,这样一来就无需人工进行操作,大大降低工人的体力消耗。
以上所述,仅为本实用新型较佳的具体实施方式,但本实用新型的保护范围并不局限于此,任何熟悉本技术领域的技术人员在本实用新型揭露的技术范围内,根据本实用新型的技术方案及其实用新型构思加以等同替换或改变,都应涵盖在本实用新型的保护范围之内。


