一、概述
岩土工程的研究对象是复杂地质体,在漫长的地质年代里,由于地质构造运动、自然风化和人类活动等作用,形成了大量诸如断层、层理、节理、软弱夹层、溶沟、溶槽等地质缺陷。在一定的时间和条件下,岩土体可能处于相对稳定的平衡状态;若条件改变,原有的平衡状态就可能遭到破坏,如在岩土工程开挖与施工过程中,其原有应力场重新分布,从而导致岩土体发生变形,进而产生坍落、塌陷、岩崩、滑坡及地面沉降等地质灾害。

为预防和治理此类灾害,工程上常将一种受拉杆件埋入岩土体,用以调动和提高岩土体的自身强度和自稳能力,这种受拉杆件称为锚杆或锚索(以下统称为锚杆),其所起的作用即为锚固。运用数学、力学和工程材料等科学知识解决岩土工程中的锚固设计、计算、施工和监测等方面问题的技术和工艺称为锚固工程。
二、锚杆类型
边坡工程中使用的锚杆是一种安设在岩土层深处的受拉杆件,其一端与工程构筑物相连,另一端锚固在岩土层中,必要时需对其施加预应力,以承受岩土压力、水压力或风荷载等所产生的拉力,再将拉力传递到深部稳定岩土层中,达到有效承受结构荷载及防止边坡变形失稳的目的。


预应力是人为对锚杆施加的张应力,从而对边坡施加主动压力。因此,预应力锚杆不同于非预应力锚杆,后者只有当岩土体产生变形时才承受张力,且张力随位移增大而增大,故这种张力主要只对变形体起悬吊作用。所以,预应力锚杆属于主动加固措施,而非预应力锚杆属于被动加固措施。在边坡锚固工程中,前者比后者应用更为广泛。
工程上常按以下方法分类:
(1) 按应用对象划分,包括岩石锚杆、土层锚杆;
(2) 按是否预先施加应力划分,包括预应力锚杆、非预应力锚杆;
(3) 按锚固机理划分,包括黏结式锚杆(水泥砂浆锚杆、树脂锚杆)、摩擦式锚杆(缝管式、水胀式及楔缝式锚杆)、端头锚固式(机械式)锚杆和混合式锚杆;
(4) 按锚固体传力方式及荷载分布条件划分,包括压力型锚杆、拉力型锚杆、压力分散型锚杆和拉力分散型锚杆;
(5) 按锚固部分大小划分,包括全长锚固式锚杆和端部锚固式锚杆;
(6) 按锚固体形态划分,包括圆柱型锚杆、端部扩大型锚杆和连续球型锚杆。
圆柱型锚杆
结构简单、制造安装方便,黏结材料通常为水泥砂浆,适用于黏性土、砂土、粉砂土等相对密度较大且含水量较小、抗剪强度相对较高的土层或设计承载力较低的岩层。

端部扩大型锚杆
在锚杆底部把孔径扩大,形如一倒埋的销钉,其不仅可提供黏结力,端头肩部还能增加岩土体对锚杆抗拔的阻力,从而提高锚杆的锚固力和极限抗拔力。该类锚杆主要适用于松软土层,并要求其具有较高承载力。

连续球型锚杆
通过分段扩张法或分段高压注浆法使锚杆锚固段形成一连串球状体,使之与周围土体有更高的嵌固强度。该类锚杆适用于淤泥、淤泥质土层,并要求较高锚固力的情况。

对于风化岩及土质边坡,拉力分散型和压力分散型锚杆(统称为荷载分散型锚杆)应用较为广泛。拉力型锚杆指受力时锚固段注浆体处于受拉状态的锚杆,其主要特点是锚杆受力时锚固段浆体受拉并通过浆体将拉力传递至周围地层,结构简单,目前使用范围最广。
压力型锚杆指受力时锚固段注浆体处于受压状态的锚杆,其主要特点是利用承载体使锚杆受力时锚固段浆体受压,并通过浆体将拉力传递至周围地层,防腐性能较好,但由于注浆体承压面积受到钻孔直径的限制,故不能得到高承载力的锚杆。

荷载分散型锚杆也称单孔复合锚杆,指在一个钻孔中,由若干拉力型或压力型单元锚杆组合而成的复合锚固体系,其能将锚固力分散作用于锚杆总锚固段的不同部位(即各单元锚杆的锚固段)上。
主要包括拉力分散型锚杆和压力分散型锚杆两种,其工作时能充分利用地层固有强度,其承载力随锚固段长度增加成比例提高。
拉力分散型锚杆适用于锚杆承载力要求较高的软岩或土体工程,压力分散型锚杆适用于锚杆承载力要求较高或防腐等级要求较高的软岩或土体工程。

拉力分散型锚杆

压力分散型锚杆

三、锚杆结构
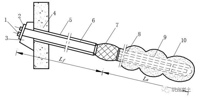
工程上所指的锚杆,通常是对受拉杆件所处的锚固系统的总称。
锚杆一般由锚头、杆体(拉杆)及锚固体(段)三个基本部分组成。

锚头
锚头是构筑物与拉杆的连接部分,其作用是将来自构筑物的作用力有效地传递给拉杆。锚头一般由台座、承压板和锚具等部件组成。
杆体
锚杆杆体要求位于锚固结构的中心线上,其作用是将来自锚头的拉力传递给锚固体。杆体通常要承受一定的荷载,故一般采用抗拉强度较高的钢材制成。
锚固体
锚固体(段)位于锚杆尾部,与岩土层紧密相连,其作用是将来自拉杆的力通过锚固体与周围岩土层间的摩擦阻力(或支承抵抗力)传递给稳固的地层。
锚索是高承载力的锚杆,其强度、锚固深度、单锚锚固力均较大。锚杆主要处于张拉状态,剪切次之,一般不能承受弯曲作用,而锚索只存在张拉状态。
类似地,锚索结构也可分为三个主要部分,即锚头、锚索体和锚固体。其中,锚头由垫板、锚环、锚塞和混凝土墩组成,锚索体由高强度钢丝、钢丝束或钢绞线制成,锚固体主要包括定位环、止浆塞、扩张环及导向帽等。

四、锚固作用机理
边坡锚固的基本原理是依靠锚杆周围稳定地层的抗剪强度来传递结构物(被加固物)的拉力,以稳定结构物或保持边坡开挖面自身的稳定。
悬吊作用机理
锚杆支护是通过锚杆将软弱、松动、不稳定的岩土体悬吊在深部稳定的岩土体上,以防止其离层滑脱。

组合梁作用机理
把薄层状岩体视为一种梁(简支梁或悬臂梁),在没有锚固时,其只是简单地叠合。

挤压加固作用机理
在弹性体上安装具有预应力的锚杆时,弹性体内形成以锚杆两头为顶点的锥形体压缩区,若将锚杆以适当间距排列,可使相邻锚杆的锥形体压缩区相互重叠,即形成一定厚度的连续压缩带。

五、锚固要素分析
边坡锚固通常采用水泥砂浆(或水泥浆、化学浆液、树脂等)将一组杆体(钢筋或钢丝束等)锚固在边坡地层的钻孔深处,从而达到锚固效果。实际锚固工程中,水泥砂浆锚杆占绝大多数。
锚杆基本力学参数
1) 抗拔力:锚杆在拉拔试验中承受的极限拉力,即锚固力。
2) 握裹力:锚杆杆体与黏结材料间的最大抗剪力。
3) 黏结力:锚杆黏结材料与孔壁岩土间的最大抗剪力。
4) 拉断力:锚杆杆体的极限抗拉能力。
砂浆锚固传力过程
取锚固段为隔离体,当锚固段受力时,拉力首先由杆体周边砂浆的握裹力传递到砂浆中,然后通过锚固段钻孔周边的黏结力(或摩阻力)传递到锚固的地层中

若杆体受拉力作用,除杆体本身需有足够的截面积承受拉力以外,还必须同时满足以下三个条件,锚杆的抗拔作用才能有效发挥:
1) 锚固段砂浆对杆体的握裹力需能承受极限应力;
2) 锚固段砂浆对地层的黏结力需能承受极限应力;
3) 锚固段周围岩土体在最不利条件下仍能保持整体稳定性。
典型破坏形式
沿砂浆体与杆体的接触面破坏
沿砂浆与地层的接触面破坏
锚杆杆体受拉断、
锚固段砂浆体剪切破、
锚固段地层(土层或破碎岩体)剪切破坏
锚杆受力时,沿锚固段全长的黏结应力分布极不均匀:
当锚固段较长时,初始荷载作用下,黏结应力峰值在临近自由段处,而锚固段下端的相当长度上,则不出现黏结应力;
随着荷载增大,黏结应力峰值向锚固段根部转移,但其前方的黏结应力则显著下降;
当达到极限荷载时,黏结应力峰值传递到接近锚固段根部,在锚固段前部较长的范围内,黏结应力值进一步下降,甚至趋近于零。
因此,能有效发挥锚固作用的黏结应力分布长度是有一定限度的,随锚固段长度的增加,平均黏结应力逐渐减小。

锚固段砂浆对杆体的握裹力
在较完整岩层中灌注的水泥砂浆抗压强度,一般不低于30MPa。若严格按照规定的灌浆工艺施工,岩层孔壁的黏结力通常大于砂浆的握裹力。因此,岩层锚杆的抗拔力Tu和最小锚固长度La min一般取决于砂浆的握裹力,即:

一般在岩层中所需的锚固长度仅需1~2m。当采用热轧螺纹钢筋作为锚杆杆体时,在完整硬质岩层的锚杆中,其黏结(握裹)应力传递深度通常不超过2m。
但是,使用中必须判明如下情况:锚固段岩体是否稳定、是否可能发生滑坡或塌方、节理切割的锚固段岩块在受拉条件下是否产生松动等。考虑到上述不利因素,建议灌浆锚固段达到岩层内部(不包括风化层)的长度应不小于4.5m。
锚固段砂浆对孔壁的黏结力
在强风化岩层和土层中,锚杆的极限抗拔能力取决于锚固段砂浆对地层所能产生的最大黏结力(摩阻力),即:

六、锚固设计计算
基本要求
在调查研究和岩土工程勘察工作基础上,锚固工程应采用理论计算、工程类比和监控量测相结合的设计方法,合理发挥岩土体的固有强度和自承能力。在锚杆设计前,应依据调查及勘察结果,对所采用的锚杆安全性、经济性进行评估,对施工可行性做出判断。
锚杆按其服务期限可分为临时锚杆和永久锚杆:使用期限在2年以内的,可按临时锚杆设计;使用年限超过2年的,应按永久锚杆设计。设计永久锚杆时,必须先进行锚杆基本试验,并避免锚固段布设在未经处理的下列土层中:

设计流程
以预应力锚杆为例,锚固工程设计主要包括锚固力(斜坡、挡墙、锚拉桩等)计算、锚杆布置及安设角度确定、锚杆杆体材料选择及确定、锚杆结构设计、锚头及防腐设计、整体稳定性验算等内容。

边坡锚固力计算
边坡锚固力计算过程中,首先需按照规范确定边坡设计安全系数,其次针对不同的破坏形式,计算单位长度边坡所需的锚固力。边坡锚固力计算可采用极限平衡法,但对于重要或复杂边坡的锚固设计,宜同时采用极限平衡法与数值分析法。
对可能产生圆弧滑动的锚固边坡,宜采用简化毕肖普法、摩根斯坦-普赖斯法或简布法计算,也可采用瑞典法计算;
对可能产生直线滑动的锚固边坡,宜采用平面滑动面解析法计算;
对可能产生折线滑动的锚固边坡,宜采用传递系数隐式解法、摩根斯坦-普赖斯法或萨玛法计算;
对岩体结构复杂的锚固边坡,可配合采用赤平极射投影法进行分析。
1) 单平面破坏模式
当边坡存在一组出露于坡面的软弱结构面,其走向与坡面走向近似,倾角小于坡面倾角、但大于弱面的内摩擦角,边坡易产生单平面破坏,多出现在岩质边坡中,通常分为坡顶有拉裂缝和无拉裂缝两种情况。但大多数单平面破坏边坡在破坏前坡顶会出现不同程度的拉裂缝。











6) 锚杆布设
锚杆布设原则上应根据实际地层情况以及锚杆与其它支挡结构联合使用的具体情况确定,必须充分了解边坡的地质状况,确定边坡变形破坏的模式后,才能决定锚杆布设位置。锚杆布设的总体原则是对边坡滑体产生最佳的抗滑效果,一般应满足以下基本要求:
(1) 锚杆间距和长度,应根据锚固工程周围地层的整体稳定性确定。
(2) 锚杆间距除必须满足锚杆的受力要求外,还应大于1.5m,以避免因群锚效应而降低锚固力。当所采用的间距小于1.5m时,应将相邻锚杆的倾角调整至相差3以上。
岩土锚杆通常是以群体的形式出现的,若锚杆布置较密集,地层中受力区的重叠会引起应力叠加和锚杆位移,从而使锚杆极限抗拔力不能有效发挥,即群锚效应。锚杆极限抗拔力会因群锚效应而减小,群锚效应与锚杆间距、直径、长度及地层形状等因素有关。
(3) 锚杆与相邻基础或地下设施间的距离应大于3.0m。
(4) 锚杆锚固段应在潜在滑面以外的稳定岩土体内,且上覆土层厚度不宜小于4.5m,避免坡顶反复荷载的影响,同时不会因较高注浆压力而使上覆土层隆起。
(5) 根据锚杆的作用原理,对于不同类型工程,锚杆倾角是不同的,确定锚杆倾角应有利于满足工程抗滑、抗塌、抗倾或抗浮的要求。但就控制注浆质量而言,若锚杆倾角过小时,注浆料因泌水和硬化而产生的残余浆渣会影响锚杆的承载力,故锚杆倾角宜避免与水平面成-10~+10的范围,10范围内锚杆的注浆应采取保证浆液灌注密实的措施。
(6) 为使钢绞线间有适宜的间距,保证钢绞线被足够的水泥浆所包裹,以满足钢绞线与注浆体间黏结强度的要求,锚杆钻孔直径应满足锚杆抗拔承载力和防腐保护要求,压力型或压力分散型锚杆的钻孔直径尚应满足承载体尺寸的要求。
(7) 预应力锚杆的布置间距应根据边坡地层性态、所需提供的总锚固力及单锚承载力设计值确定。一般条件下,I、II、III类岩体边坡预应力锚杆间距宜为3.0~6.0m,IV类岩体及土质边坡预应力锚杆间距宜为2.5~4.0m。
(8) 锚杆的布设角度,对基坑或近于直立的边坡而言,需考虑邻近状况、锚固地层位置及施工方法。一般锚杆的倾角不小于13,也不应大于45。倾角愈大,抵抗滑体滑动的能力将相应地减弱,故锚杆布设角以15~35为宜。
对倾倒破坏的边坡,预应力锚杆的设计布设角度宜与岩体层理面垂直。对滑动破坏的边坡,预应力锚杆的布设角度应发挥锚杆的抗滑作用,在施工可行条件下,锚杆倾角宜按下式计算:

当边坡失稳模式为滑动破坏时,应将锚杆布置在潜在滑动体的中、下部;
当边坡失稳模式为倾倒破坏时,应将锚杆布置在潜在倾倒体的中、上部;
当存在软岩层或风化带,可能导致边坡变形破坏时,锚杆应穿过软岩层或风化带布置,并采用混凝土锚固墩封闭。

当滑面由单一不连续面控制且岩体较完整时,锚杆间距并不重要,而当岩体较破碎时,锚杆布置应能使岩体内形成一个连续的挤压带。锚头与锚固段之间形成一个约90的压力锥体,锥体范围内岩石相互挤压,形成一个整体,从而阻止岩体变形。

基于挤压加固作用原理,布置锚杆时应使之在纵横方向均有一定数量,使每根锚杆周围形成彼此联结的压缩锥体,并有一定的相互压叠。为使锚杆间边坡表面的岩体不发生脱落,可用钢筋混凝土框架梁及布设在锚头与横梁间的金属网支撑,通过横梁将力传递到锚杆上。
7) 锚杆结构设计
(1) 锚杆杆体截面面积
预应力锚杆结构的设计计算主要包括三个方面,即:锚杆杆体的抗拉承载力计算、锚杆锚固段注浆体与杆体的抗拔承载力计算、以及注浆体与地层间的抗拔承载力计算。一般而言,前者用以确定锚杆杆体的截面面积,后两者则用于确定锚杆锚固段长度。此外,对于压力型或压力分散型锚杆,还应进行锚固段注浆体横截面的受压承载力计算。

(2) 锚杆锚固段长度
锚固段长度可根据计算和工程类比法确定,对于I、II级边坡应同时采用现场拉拔试验验证。锚杆或单元锚杆的锚固段长度可由下列确定,并取两者间的较大值:

一般而言,拉力型与压力型锚杆的锚固段长度宜为3~8m(岩石)和6~12m(土层)。在软岩或土层中,当拉力或压力型锚杆的锚固段长超过8m(软岩)和12m(土层)仍无法满足极限抗拔承载力要求或需要更高的锚杆极限抗拔承载力时,宜采用压力分散型或拉力分散型锚杆。压力分散型与拉力分散型锚杆的单元锚杆锚固段长度宜为2~3m(软岩)和3~6m(土层)。
(3) 锚杆自由段长度
锚杆自由段长度应根据锚杆与滑面、边坡坡面的交点间距确定。若锚杆自由段长度过短,对锚杆施加初始预应力后,锚杆的弹性位移较小,一旦锚头出现松动等情况,可能会造成较大的预应力损失,因此锚杆自由段长度一般不应小于5.0m。此外,自由段应穿过潜在滑面至少1.5m,并将锚固段布设于合适的地层内,以保证锚固系统的整体稳定性。
8) 锚杆杆体对中器设计
锚杆杆体对中器的主要作用包括两方面:①杆体处于锚固体砂浆中部,当杆体受力时,锚固体能均匀受力;②杆体周围砂浆厚度均匀且满足防腐要求。

9) 锚杆初始预应力确定
对地层和被锚固结构位移控制要求较高的工程,锚杆初始预应力值宜为锚杆拉力设计值;对地层和被锚固结构位移控制要求较低的工程,锚杆初始预应力值宜为锚杆拉力设计值的0.70~0.85倍;对显现明显流变特征的高应力低强度岩体中隧洞和洞室支护工程,初始预应力宜为锚索拉力设计值的0.5~0.6倍;对用于特殊地层或被锚固结构有特殊要求的锚杆,其初始预应力可根据设计要求确定。
10) 锚杆传力结构与锚头设计
表层为土层或软弱破碎岩体的边坡,宜采用框架梁型钢筋混凝土传力结构;I、II类及完整性好的III类岩质边坡宜采用墩座或地梁型钢筋混凝土传力结构;有条件时应优先采用预制的传力结构。设置预制式传力结构可最大限度地缩小开挖面的裸露面积与裸露时间,有利于保护开孔后岩土体的固有强度和自稳能力,增强边坡的整体稳定性,并可显著缩短边坡的建设周期。

11) 锚杆防腐保护构造设计永久锚杆必须进行防腐设计。腐蚀环境中的永久锚杆应采用I级防腐保护构造设计,腐蚀环境中的临时锚杆和非腐蚀环境中的永久锚杆可采用II级防腐保护构造设计;非腐蚀环境中的临时锚杆可采用III级防腐保护构造设计。锚杆的I、II、III级防护具体构造可参考《岩土锚杆与喷射混凝土支护工程技术规范》(GB 50086-2015)。
12) 锚固系统整体稳定性验算
锚固系统有多种破坏形式,设计时必须仔细校核各种可能的破坏形式。因此,除锚杆抗拉力应满足设计要求外,还必须验算锚杆和边坡岩土体组成的锚固系统整体稳定性。锚固系统的外部稳定性可采用圆弧滑动法或折线滑动法验算;内部稳定性可采用Kranz法验算。
