规范网
更新
当前位置:
首页
标准
行业标准
内容详情
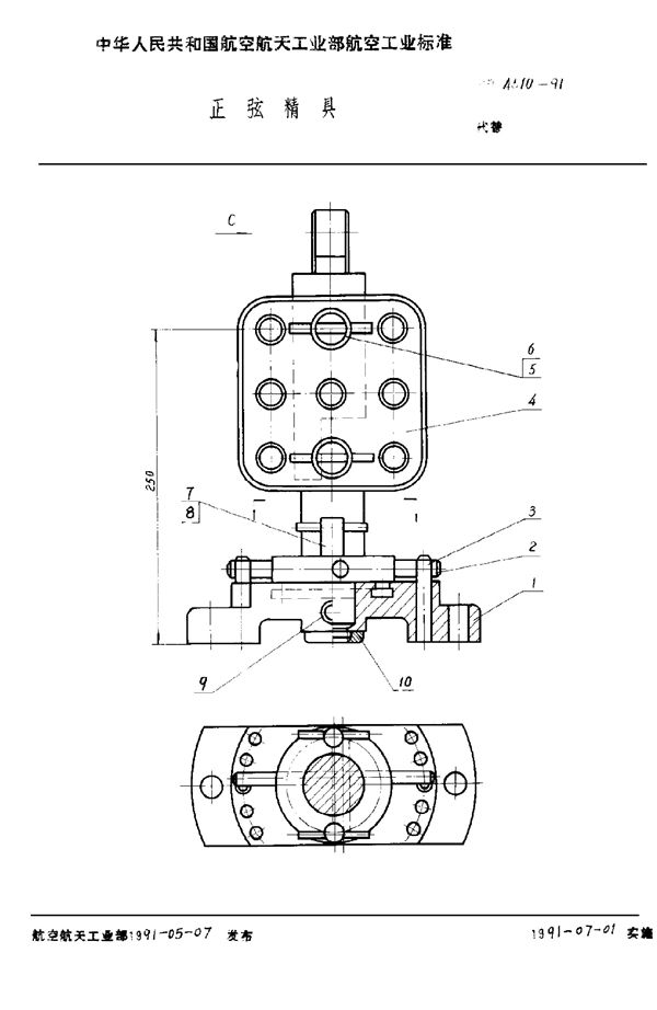
正弦精具 (HB 4510-1991)
下载
帮助
举报
收藏
上传文档
下载
预览图
用户名称:
秦传旭|家居·安防·智能
注册时间:
2024-11-19
认证方式:
手机认证
标准号HB 4510-1991状态
发布于:
实施于:
正弦精具基本信息
标准号:HB 4510-1991
标准名称:正弦精具
收藏
下载
声明:本站为网络服务提供者及网络索引服务平台资源索引自网络/用户分享,如有版权问题,请
联系
站方删除。
不能下载?报告错误
下页:
模块 (HB 4521-1991)
相关推荐
正弦精具 (HB 4510-1991)