规范网
更新
当前位置:
首页
标准
行业标准
内容详情
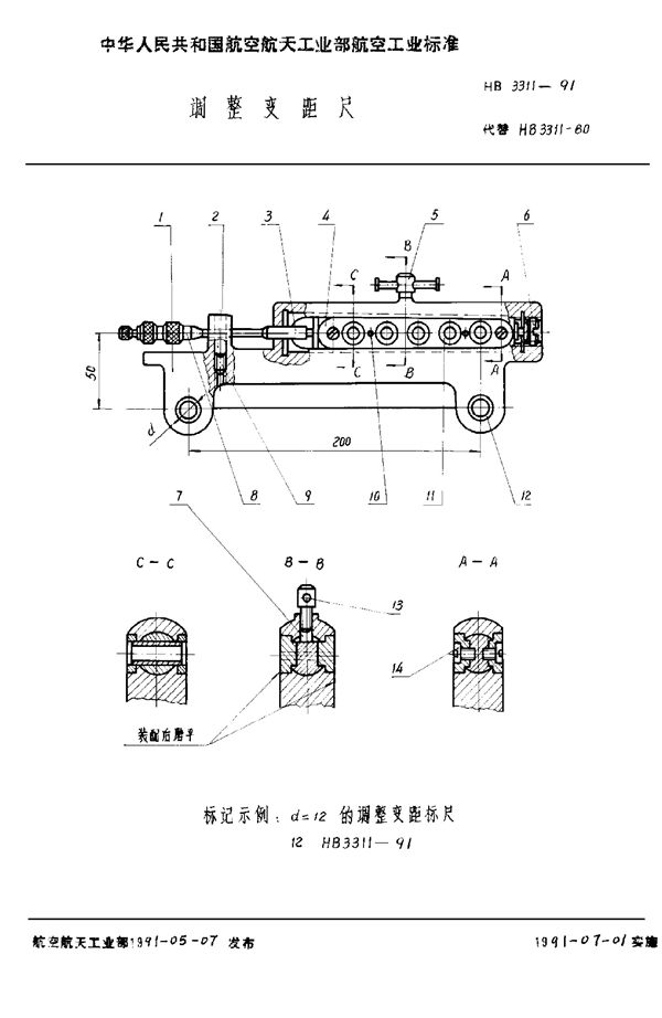
调整变距尺 (HB 3311-1991)
下载
帮助
举报
收藏
上传文档
下载
预览图
用户名称:
神仙科学家
注册时间:
2024-12-16
认证方式:
手机认证
标准号HB 3311-1991状态
发布于:
实施于:
调整变距尺基本信息
标准号:HB 3311-1991
标准名称:调整变距尺
收藏
下载
声明:本站为网络服务提供者及网络索引服务平台资源索引自网络/用户分享,如有版权问题,请
联系
站方删除。
不能下载?报告错误
下页:
标尺用支座 (HB 3312-1991)
相关推荐
调整变压器结构设计降低材料消耗
调整变距尺 (HB 3311-1991)
调整变距尺 (HB 4517-1991)