规范网
更新
当前位置:
规范网
标准
行业标准
内容详情
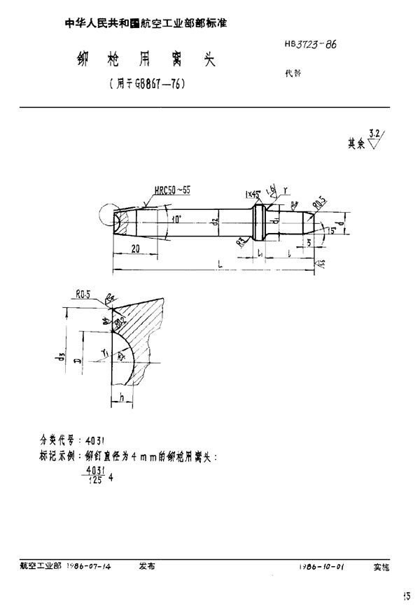
铆枪用窝头(用于GB 867-76) (HB 3723-1986)
下载
免费下载 HB 3723-1986
标准号HB 3723-1986状态
发布于:
实施于:
铆枪用窝头(用于GB 867-76)基本信息
标准号:HB 3723-1986
标准名称:铆枪用窝头(用于GB 867-76)
加入收藏
下载文件
声明:资源收集自网络或用户分享,仅供学习参考,使用请以正式版为准;如侵犯您的权益,请联系我们处理。
不能下载?报告错误
下页:
铆枪用弯窝头(用于GB 867-76) (HB 3724-1986)
相关推荐
铆枪用平窝头 (HB 3719-1986)
铆枪用平窝头(d=5.6~10) (HB 3720-1986)
铆枪用斜面缺口窝头 (HB 3721-1986)
铆枪用缺口窝头 (HB 3722-1986)
铆枪用窝头(用于GB 867-76) (HB 3723-1986)