规范网
更新
当前位置:
首页
标准
行业标准
内容详情
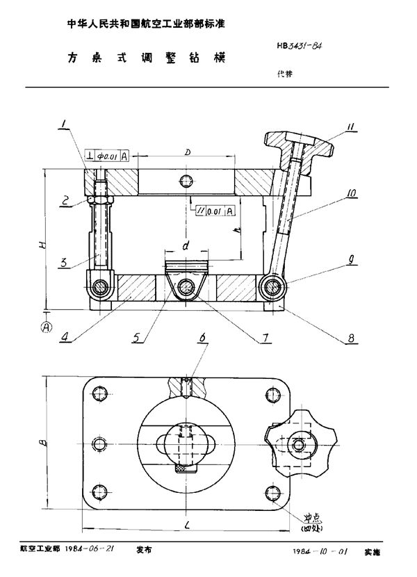
方桌式调整钻模 (HB 3431-1984)
下载
帮助
举报
收藏
上传文档
下载
预览图
用户名称:
拼多多用户
注册时间:
2025-01-02
认证方式:
手机认证
标准号HB 3431-1984状态
发布于:
实施于:
方桌式调整钻模基本信息
标准号:HB 3431-1984
标准名称:方桌式调整钻模
收藏
下载
声明:本站为网络服务提供者及网络索引服务平台资源索引自网络/用户分享,如有版权问题,请
联系
站方删除。
不能下载?报告错误
下页:
加工高温合金及钛合金用直柄短麻花钻 d=1~12mm (HB 3435-1984)
相关推荐
方桌式调整钻模 (HB 3431-1984)