规范网
更新
当前位置:
首页
范文
内容详情
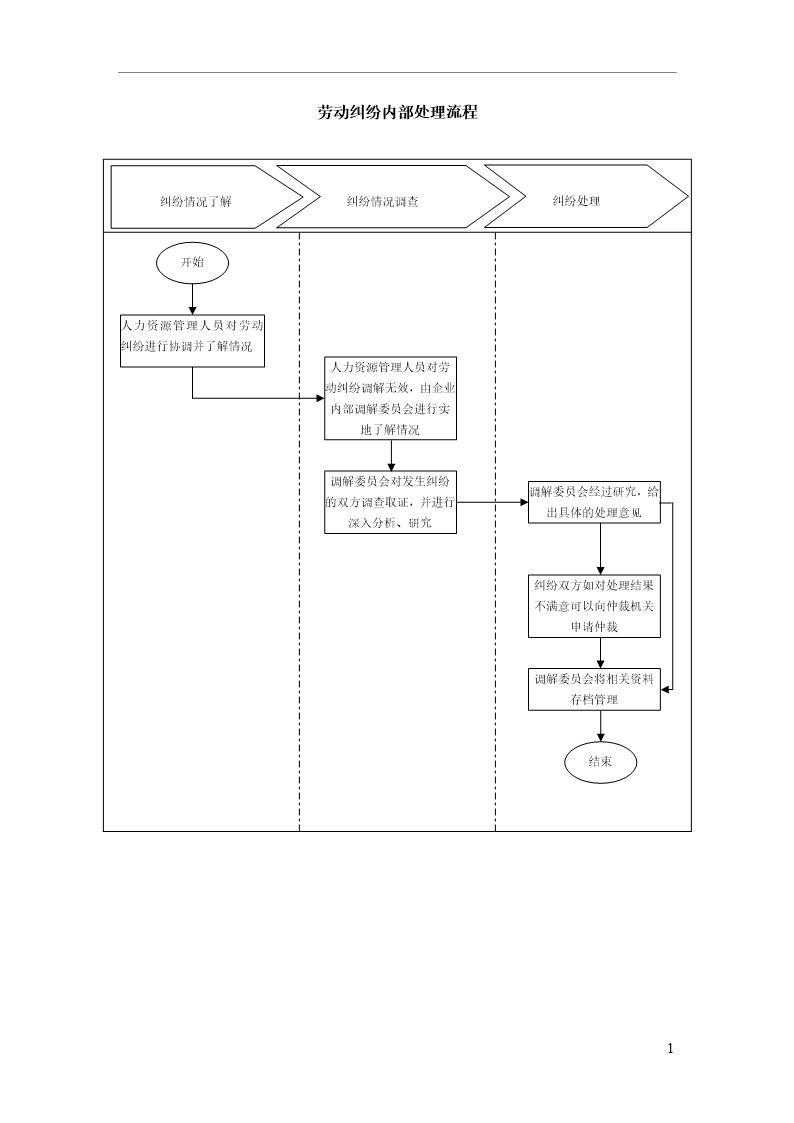
劳动纠纷处理流程模板
帮助
举报
收藏
上传文档
下载
预览图
劳动纠纷处理流程模板 (劳动纠纷找哪个部门)(1页)
劳动纠纷处理流程模板
收藏
下载
声明:本站为网络服务提供者及网络索引服务平台资源索引自网络/用户分享,如有版权问题,请
联系
站方删除。
不能下载?报告错误
下页:
抚养费起诉状范本
相关推荐
劳动纠纷起诉状
劳动纠纷上诉状(单位)范文模板
劳动纠纷处理流程模板
数字化法律服务规范 劳动纠纷 (DB3305/T 311-2024)
劳动纠纷处理流程模板
下载
免费下载
用户名称:
周海华
注册时间:
2025-05-25
认证方式:
手机认证
资源帮助
上传文档
标签
平垫圈标准
设计图
机械规范
卫生规范
工程
航空规范
自我评价
林业规范
过滤器标准
钢丝螺套标准
讲话稿
型钢标准
河北省标准
紧固件标准
管螺纹标准
16s518
单位通知
管道标准
甘肃省标准
管件标准
无缝管标准
07sd101-8
吉林省标准
工程计算表
阀门标准
污染物排放标准
噪声标准
工业标准