使用门架材料搭设的模板支撑架是什么?
用门架构造模板支撑架时,其构架根据施工要求和荷载情况确定,其构造形式按其用途大致有以下几种:
(1)作梁模板支撑
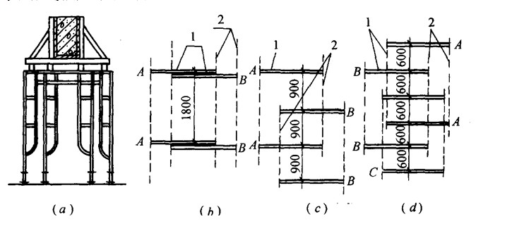
1)门架垂直于梁轴线的标准构架布置。即按1.8m间距,两侧面装交叉支撑,门架横梁上架设顺木方以支撑梁底模板(图5-106a),侧模支撑可按一般梁模构造、通过斜撑杆传给支撑架,为确保支撑架稳定,可视需要在底部加设扫地杆、封口杆和在门架上部装上水平架。
2)门架平行于梁轴线的两排布置。排距根据需要确定,一般为0.8~1.2m,排间装以适合的交叉支撑或以横杆连接固定,同排门架间用大横杆连接固定(图5-106b)。

梁模板支撑布置
1-门架;2-交叉支撑;3-梁;4-模板;5-小楞;6-托梁;7-调节梁;8-水平加固杆
3)门架垂直于梁轴线的交错布置。这种布置可使梁的集中荷载作用点避开门架的跨中,以适应大型梁的支撑要求。布置形式可以采用叠合或错开,即用两对(架距0.9m)或3对(架距0.6m)门架按标准构架尺寸交错布置并全部装设交叉支撑,并视需要在纵向和横向设拉杆连接固定和加强(图5-107)。

梁模板支撑的门架交错布置
(a)立面图;(b)两对门架重叠布置;(c)两对门架交错布置;(d)3对门架交错布置
1-门架;2-交叉支撑
(2)作梁、板模板支撑
楼板的支撑可按满堂脚手架构造,梁的支撑可按上述构造,在设计时注意它们之间的整体组合和拉结。