建筑工程钢筋锥螺纹连接施工一般要求有哪些?
连接钢筋前,将下层钢筋上端的塑料保护帽拧下来露出丝扣,并将丝扣上的水泥浆等污物清理干净。
连接钢筋时,将已拧套筒的上层钢筋拧到被连接的钢筋上,并用扭力扳手按表9-68规定的力矩值把钢筋接头拧紧,直至扭力扳手在调定的力矩值发出响声,并随手画上油漆标记,以防有的钢筋接头漏拧。力矩扳手每半年应标定一次。常用接头连接方法有以下几种:
锥螺纹钢筋接头拧紧力矩值 表9-68
钢筋直径(mm)
16
18
20
22
25~28
32
36~40
扭紧力矩(Nm)
118
145
177
216
275
314
343
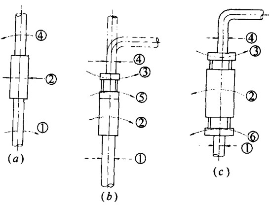
1.同径或异径普通接头:分别用力矩扳手将①与②、③与④拧到规定的力矩值(图9-105a);
2.单向可调接头:分别用力矩扳手将①与②、③与④拧到规定的力矩值,再把⑤与②拧紧(图9-105b);
3.双向可调接头:分别用力矩扳手将①与⑥、③与④拧到规定的力矩值,且保持③、⑥的外露丝扣数相等,然后分别夹住③与⑥,把②拧紧(图9-105c)。

图9-105 锥螺纹钢筋连接方法
(a)普通接头;(b)单向可调接头;(c)双向可调接头
①、④-钢筋;②-连接套筒;③、⑥-可调套筒;⑤-锁母