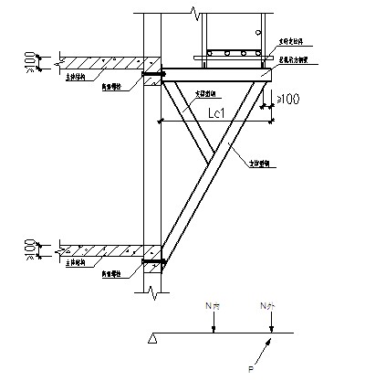
底部承力架为斜撑悬挑钢梁时的构造要求有哪些

底部承力架为斜撑悬挑钢梁时的构造要求有哪些?

1 斜撑杆应与悬挑钢梁端部及主体结构连接固定,宜采用工具式连接。

2 斜撑杆应计算确定其稳定性,并应有防止平面内和平面外失稳的构造措施。

悬挑斜撑钢梁承力架构造

摘自:DGJ32J121-2011江苏省建筑施工悬挑式钢管脚手架安全技术规

底部承力架,悬挑钢梁,构造要求