1、剪力墙在垂直方向变截面,垂直筋怎么处理?

【答】
(1)下层墙垂直筋伸至本层板顶弯折12d;上层墙垂直筋直插至剪力墙中1.2LaE。

(2)还有一种斜弯连续不断开的做法;即当变截面厚度差30mm时,斜弯段垂直距离6。但是因为不便施工,实际中用的很少。

【依据】《16G101-1》P74
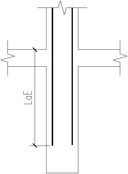
2、剪力墙垂直筋在屋面层顶怎么处理?
【答】伸至屋面层顶再弯折12d。

【依据】《16G101-1》P74
3、剪力墙垂直筋遇到框架梁怎么处理?

【答】锚入边框梁内LaE。

【依据】《16G101-1》P74
4、剪力墙垂直筋遇到连梁怎么处理?

【答】锚入连梁内LaE。

【依据】《16G101-1》P74
5、剪力墙垂直筋的起步距离是多少?
【答】剪力墙垂直筋起步距离=墙身垂直筋间距。

【依据】《06G901-1》P3-2
6、剪力墙水平筋的长度怎么计算?
【答】剪力墙水平筋的长度=净长+锚入长度

7、剪力墙水平筋遇转角墙暗柱,锚入长度怎么计算?
【答】(1)剪力墙内侧水平筋在暗柱里伸至对边弯锚15d。

(2)墙外侧水平筋连续通过转弯,在暗柱范围外,与转角两侧水平筋搭接。

墙外侧上下相邻两排水平筋交错绑扎搭接,搭接长度1.2LaE。

墙外侧水平筋在暗柱处还有一种连接方式:伸至暗柱对边一个绑扎长度LlE。

绑扎长度LlE重叠之处就是绑扎搭接区域。

【依据】《16G101-1》P71
墙身水平筋遇到T形翼墙怎么处理?

【答】伸到墙外侧弯折15d。

【依据】《16G101-1》P72
8、一字型暗柱在剪力墙端时,水平筋怎么处理?
【答】伸至暗柱对边弯锚10d。

【依据】《16G101-1》P71
9、L型暗柱在剪力墙端时,水平筋怎么处理?
【答】(1)内侧水平筋伸至对边弯折15d。

(2)外侧水平筋伸至对边弯折0.8LaE。

【依据】《16G101-1》P71
10、剪力墙水平筋在暗柱里可以直锚吗?
【答】不可以。剪力墙水平筋在暗柱里无直锚构造。