一、外保温系统简介
系统由超薄石材、保温层、界面层、粘结砂浆、机械连接件组成。根据设计院设计计算,本系统聚氨酯保温材料的厚度为3.5cm,卡拉麦里金(新疆花岗岩)石材厚度为8mm。长运大厦采用酚醛树脂保温材料,目前聚氨酯(酚醛树脂)复合板材在欧美广泛应用于住宅和商业建筑墙体,这种复合板材可根据客户需求制成任意规格,不需框架,能实现构件生产工厂化、标准化、技术系统化,建设速度快,保温性能好,代表了外墙面装饰与保温系统的发展方向,是今后建筑保温发展的大趋势。
二、外保温系统技术做法及改进措施
依据:本系统主要依据为09系列山东省建筑标准设计图集L09JT22《WQ超薄石材复合保温板墙体构造及装饰做法》。
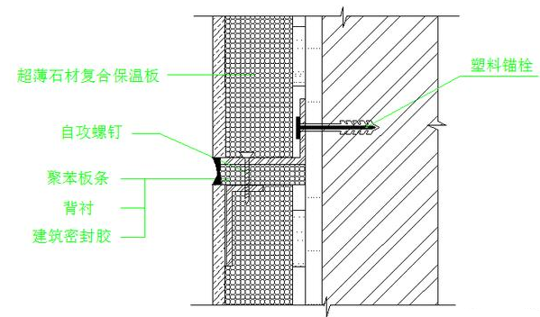
超薄石材复合保温系统是在工厂将硬泡聚氨酯与超薄石材、界面层复合成装饰保温一体化的板材,在工程现场通过粘挂结合、以粘为主的方式将超薄石材复合保温板固定于建筑外墙,通常采用点框粘结法施工,每块板涂抹胶粘剂的面积与板面积之比不小于50%。
900mm600mm及以下规格尺寸时,点框粘法按图集L09JT22执行。工程现场1200mm600mm规格板材做法为:
沿板周边用不锈钢抹子涂抹配制好的胶粘剂带(胶宽50mm,厚10mm),然后在板面中间部位均匀布置10个粘结点,每点直径不小于160mm,胶厚10mm,中心距200mm。
做法如下图所示:

改进措施:
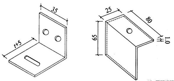
1、挂件及固定件型式
图集原做法为如下:

图集做法采用1mm厚度镀锌钢板套丝连接加固上下两层复合板,不仅连接螺钉只能单向调节,实际施工难度较大,更重要的是采用这种连接方式存在应力徐变后受力逐层传递问题,这样不仅起不到相应的加固作用,反而自上而下传递的力量还会对其他挂件产生额外的荷载负担,墙体稍微发生位移或震动,就会对安全产生极大隐患;另外,只靠1mm厚度上的几道套丝进行固定连接,在可行性及安全性等方面也难以给予保证。
变更后的连接件使每一块复合板成为一个独立的受力体,各板块相互之间没有刚性连接,安装方便,安全性高。连接件采用≧3㎜厚铝型件。


2、挂件与超薄板连接方式
图集原做法为如下:

现做法改为:一块板至少由3套挑件及3套挂件共6套连接件独立连接,单独受力。

3、锚固件拉拔试验
图集规定如下:锚栓的有效锚固深度在混凝土墙中不小于25mm,在砌体墙中不小于50mm。单个锚栓抗拉承载力标准值在C25混凝土墙体上不小于0.8 KN,在砌体墙上不小于0.3 KN,且应进行拉拔力现场试验。改进后的锚栓埋进深度65㎜。
根据图集要求,委托有关工程检测部门进行现场拉拔检测,实验数据如下:
表1 锚固件在加气混凝土砌块墙中的拉拔值

表2 锚固件在混凝土墙中的拉拔值

以上数据表明,锚栓的拉力是合格的。结合试验数据,现场施工选用该种锚固件应保证进墙深度不小于65mm(加长锚栓)。
4、超高措施
图集设计说明中规定该图集最大使用高度不超过40m。超高使用时,应采取有效措施确保系统安全可靠。
高度超过36m以上时,1200*600板型锚固件不少于8组,900*600板型锚固件不少于6组,其他板型应适当增加。板的粘贴方法改为条粘粘贴法。窗口处石材采用锚固栓连接固定及粘贴。
5、超大规格石材
图集规定石材的主规格为900mm600mm,厚度为5mm-8mm,对于次要规格的超大石材,横向宽度每增加300-400mm即加设一套挑件,另外,背部粘结砂浆不小于规定的50%粘结面积。改进后要求增加两套挂件。
6、加气混凝土砌块
尽管试验确定锚固件在加气混凝土墙中的拉拔值是合格的,但鉴于加气块的质地酥松、密度小、强度低、抗冲击能力弱等特点,为更好保证系统的安全性,在加气块墙体安装的四个连接件中至少要有两个采取镀锌M6220mm穿墙栓加固措施,安装时以复合板为基准按上下对角线位置施工。
做法如下图所示:

三、系统性能优势
1、稳定性能
聚氨酯系有机高分子材料,化学性能稳定,耐腐蚀能力极强,在酸雨、CO2的作用下不会发生变化。改性聚氨酯抗老化强度的温度范围大,使用温度为-50150℃,在低温情况下不脆裂、在高温情况下不流淌,可正常使用,短期使用温度可达250℃无任何损坏,是使用温度范围最广的保温材料,可应用于包括严寒和高温地区的所有地区,并且不会发生霉变、寄养寄生虫。聚氨酯硬泡体在正负70℃温度变化下,空气潮湿度45-75%环境下尺寸变化率<1%,其原因为气泡内的CFCs气体在这种环境下,体积不发生变化,网络骨架(气泡壁)很薄是由硬泡基料异氰酸酯固化构成,变形可忽略不计。
酚醛泡沫素有保温材料之王的美称,属高分子有机硬质铝箔泡沫产品,是由热固性酚醛树脂发泡而成。它可以现场浇注发泡、可模制、也可机械加工,可制成板材、管壳及各种异型产品。它具有轻质、防火、遇明火不燃烧、无烟、无毒、无滴落,使用温度围广(-196~+200℃),低温环境下不收缩、不脆化的特点。由于酚醛泡沫闭孔率高,则导热系数低(可低于0.030w/mk),隔热性能好,并具有一定的抗水性和水蒸气渗透性,是较好的保温节能材料,更是暖通制冷工程理想的绝热材料。由于酚醛具有苯环结构,所以尺寸稳定,变化率<1%。且化学成分稳定,防腐抗老化,特别是能耐有机溶液、强酸、弱碱腐蚀。目前以改性酚醛树酯(PF)为代表的新一代A级防火保温材料正深刻而迅速影响着今后保温行业的发展方向,是国际上公认的建筑行列中最有发展前途的一种新型保温材料。在我国公安部2011年3月14日,公安部下发公消【2011】65号文件《中华人民共和国公安部关于进一步明确民用建筑外保温材料消防监督管理有关要求的通知》,通知明确要求将民用建筑外保温材料纳入建设工程消防设计审核、消防验收和备案抽查范围,且在新标准发布前,民用建筑外保温材料应采用燃烧性能为A级的材料。因此,酚醛树脂保温材料是首选材料之一。
分析瓷砖薄抹灰外保温系统掉砖现象的直接原因似乎是由于面砖和砂浆的重力剪切引起的,但是,即使保温板保护砂浆、面砖粘结砂浆加上面砖的重量达到100Kg/m2,其剪切力也小于1KN/m2,相比于EPS及EPS与聚合物砂浆之间的抗剪强度(一般大于拉拔强度。根据DBJ14-035-2007-5.0.6之规定 设计为面砖饰面时,涂胶粘结面积不得小于聚苯板面积的50%,以及4.2.1-1垂直于板面方向的抗拉强度0.1MPa,即EPS与聚合物砂浆之间的抗剪强度抗剪强度至少大于 0.1MPa50%=0.05MPa=50 KN/m2)还是非常小的。因此,重力不是掉瓷砖的根本原因。
以我国北方很多地区为例,按照节能65%的标准施工的薄抹灰外保温工程,即使在秋天,保温板的外表面也能达到65℃以上,而当期凌晨的最低温度可能低至10℃,日温差能达到50℃以上;如果在中午下一场暴雨,则可能在10分钟以内降低到20℃以下,即10分钟内的温差能达到40℃以上。实测表明,保温板外表面、保护砂浆、面砖粘结砂浆及面砖的升降温基本上是同步的,即面砖与其粘结砂浆的温度变形量相差10倍,因此,在遇到大的温差时,二者的变形量之差也是很大的,这是掉砖的直接原因之一。
另外,对于外保温贴砖工程,从发现的掉砖现象来看,破坏部位集中在:①面砖粘结剂与面砖的粘结界面;②面砖粘结剂与底层抹灰砂浆的粘结界面;③面砖粘结剂内部破坏;④底层抹灰砂浆破坏。其中尤以前两者为多。
由温差变化导致的热胀冷缩即热应力,会引起非结构构造的体积变化,从而使之始终处于一种不稳定状态,因此,热应力是高层建筑外墙外保温层主要破坏力量之一。相对于多层或平房建筑,高层建筑由于外层接受阳光照射更强,热应力更大,变形也更大。而在本保温装饰一体化系统中,改性聚氨酯(酚醛树脂)直接发泡于饰面基材,与饰面基材是反应性粘接,粘接牢固,并不需要中间粘结材料,这样就减少了掉砖的中间环节。尽管PU(PF)保温层与花岗石饰面层两层材料的导热系数相差四、五十倍,但由于PU(PF)本身具有优良的稳定性能,在大范围气温温度变化下材质基本不发生变化,而花岗石石材质地坚韧密实、强度高、比重大,在气温条件下的尺寸变化也可忽略不计,因此由于温度变化以及受昼夜和季节室外气温的影响,导致面层发生形变的量差也微乎其微,其过程并不遵循薄抹灰系统防裂技术要求的逐层渐变释放应力原理。
酚醛泡沫具有极低的导热系数(0.020-0.030W/M.K),热工性能优越。酚醛泡沫材料由无数封闭式发泡,组成对于温度所形成的热对流现象有良好的阻隔,使建筑耗能降低,从而使建筑的绝热保温性能得到大幅度提高,节省建筑物空调系统的耗电量,也为建筑墙体厚度的减少扩大建筑可利用空间创造了条件。更重要的是它的使用可为减缓能源紧张、节约资源利用开辟了新的途径。
2、粘结密封性能
聚氨酯液体物料具有流动性、渗透性,本身就是一种很好的粘结剂,它在结构中含有极性基团-NCO-对各种材料的粘结力极强,可进入到粘接面层空隙中发泡,与基层牢固的粘合并起到密封空隙的作用,其粘结强度超过聚氨酯硬泡体本身的撕裂强度,从而使硬泡层与粘结层面成为一体,不易发生脱层。如下表:

根据上表显示:聚氨酯直接发泡于基面上不需任何处理剂,只要基面含水率<10%,就能有效粘结,实现无缝无空腔整体密封。
保温装饰一体化板的合成是聚氨酯液体在模具中经高压发泡而成,保温层与装饰层是机械100%无空腔连接,其粘合质量由表观可直接检测出来,可确保饰面层不会因空鼓原因导致石材脱落。
酚醛树脂抗剥离强度高,采用粘锚结合的固定模式,为高层建筑的外立面装饰提供安全保障。
3、防水性能
(1)吸水率:PU泡沫吸水率低,抗水蒸汽渗透性好,泡沫孔为闭孔呈独立状态,互不连通,闭孔率>95%,自结皮闭孔100%,是结构致密的微孔泡沫塑料,与空气接触的表面更加致密,不易透水,属于憎水材料。吸水率大小与密度有关,密度越大吸水率越小,保温层完全可以阻止室内水蒸气向外迁移、室外湿气向内迁移。据试验:60mm(密度35kg/m3)的聚氨酯板材经28天水中淹没测试,其对水的吸收率为0.013v/v,聚氨酯硬泡的导热系数仅增加0.0009w/m.k,基本不变。
(2)PU泡沫本身吸水率极小,再经水压工作条件下,可承受1000水柱24h渗透,深度<5mm,PU既可作保温层,又可起到防水作用。
反复冻融循环,造成面砖粘结层破坏是引起外保温系统面砖脱落的又一原因。因为外墙砖通常用水泥基胶粘剂贴在墙面上,只有外墙砖的背面与水泥介质要有较好的亲和性,才便于二者牢固结合,所以具有一定吸水率的外墙砖在施工单位比较受欢迎。检查一下有瓷砖剥落现象的外保温体系,会发现瓷砖外饰面总是处于饱水状态。聚氨酯材料具有的优良防水、隔汽性能,材料不含水、吸水率极低,能很好的阻断水和水蒸气的渗透,使墙体保持一个良好、稳定的绝热状况,是目前其他保温材料很难实现的,而花岗石饰面的吸水率通常小于0.5%,因此由于冻融或雨水侵蚀问题引起的面砖脱落在本系统中是不容易发生的。
酚醛泡沫独特的多孔结构和一定比例的开孔结构,使产品具有良好的自呼吸功能。墙体在各种气候条件下能够保持水气平衡,防止墙体积水发霉变黑等现象。
4、防火性能
尽管硬泡聚氨酯保温层处于外墙外侧,防火处理仍不容忽视。与聚苯乙烯板材的化学稳定性较差不同,虽然聚苯板具有一定的阻燃性,但温度80℃以上时严重收缩变形,遇火便流淌滴落。聚氨酯在添加阻燃剂后具有优异的阻燃性能,遇火时在表面生成炭化结焦层,有效防止火势蔓延,燃烧等级达到B2级,经进一步处理后还可达到B1级。外保温着火几乎全部都是在施工过程中,聚氨酯本身离火自熄,且该板两面为无机材料,施工过程中可有效避免火灾。
酚醛树脂不燃A级,氧指数高达42%(一般26%)。在高温下不熔滴、不软化、表面碳化。酚醛特有的分子结构决定了不需添加任何阻燃剂就能达到最优的防火等级,尤其是火灾时烟雾少,耐火焰穿透,可用于耐火等级3~4级的建筑。
5、抗变形性能
聚氨酯(酚醛树脂)有较好的弹性模量,是一种柔性变形量较大的材料,它抵抗外界变形能力强,在外力和温度变形、干湿变形等作用下,不易发生裂缝,能有效保证体系的稳定性、耐久性。当所附着的主体结构产生正常变形,诸如发生收缩、徐变、膨胀等情况时,硬泡聚氨酯外保温体系符合逐层柔性渐变,逐层释放应力的原则,因而不会产生裂缝或者脱落。
6、抗震性能
地震荷载的大小与建筑物总重量成正比关系。降低建筑物的重量,就能降低地震荷载。墙体材料的重量在建筑物的总重量中占有很大的比重,采用超薄花岗石墙体材料做墙面装饰比厚板干挂、湿贴技术减少基体荷载 70% 以上。以鲁灰为例: 20mm 厚普通板为62kg /㎡,6mm 厚的超薄板仅为18kg /㎡以下。
7、耐久性
聚氨酯硬泡的使用寿命问题,在硬泡工业化初期刚开始用作保温绝热材料时,尤其受到关注。经过几十年的实践证明,硬泡的耐老化性是经得住时间考验的。冰箱、冰柜等冷冻冷藏设备上所用的硬泡,正常运行下自始至终都能满足保温隔热的需要。在保温领域,几十年来也积累了宝贵的科学数据。为了预测硬泡的寿命,PottsCG等人进行了研究,通过对几种类型聚氨酯硬质泡沫塑料的研究,发现泡沫塑料使用寿命的对数和温度的倒数大致呈直线关系,利用实验结果并外推之,硬泡在130℃下可使用30年左右。在欧洲,聚氨酯硬泡保温无论是喷涂施工还是保温板材的施工,都已经有30多年的时间,而且发展较快,无论是居民还是政府都已经接受了聚氨酯保温材料(国家聚氨酯应用推广小组赴欧洲考察报告)。
至于在使用寿命期限内聚氨酯硬泡的导热系数会增加到何种程度,BallGW研究后认为,室温下25年以后,HCFC-141b发泡的硬泡导热系数增加值小于6.710-3W/(mK),可见在使用寿命25年范围内聚氨酯硬泡自始至终能保持良好的保温性能(陈全良、黄振利聚氨酯硬泡喷涂外墙外保温系统研究)。
酚醛树脂耐候性及化学稳定性好可抵抗大多数化学溶剂,对于酸性和碱性有良好的抵抗性;酚醛泡沫使用温度范围-250℃-+180℃,尺寸安定型好,抗老化佳,使用寿命长。