当前位置:首页  资料内容详情

轻钢龙骨隔墙墙内地面引上配管安装做法图示

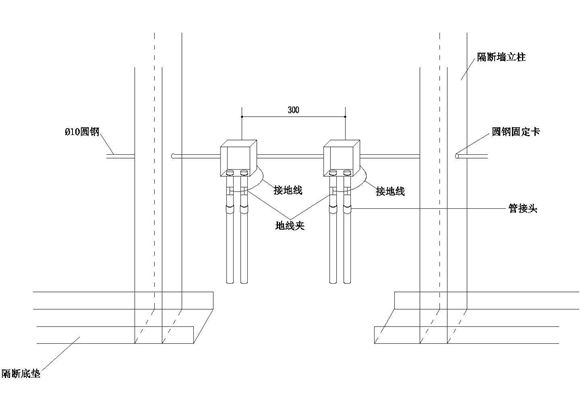
轻钢龙骨隔墙墙内地面引上配管安装做法图示 轻钢龙骨隔墙墙内地面引上配管安装做法图示 轻钢龙骨隔墙墙内地面引上配管安装做法图示,设计时可直接套用,供各位参考

轻钢龙骨隔墙墙内地面引上配管安装做法图示

声明:本站为网络服务提供者及网络索引服务平台资源索引自网络/用户分享,如有版权问题,请联系站方删除。

不能下载?报告错误