一、膨胀玻化微珠保温砂浆保温系统性能说明
1、玻化微珠外墙保温系统
玻化微珠保温系统以玻化微珠干混保温砂浆为保温层,在保温层面层涂抹一层具有防水抗渗、抗裂性能的抗裂砂浆,与保温层复合形成一个集保温隔热、抗裂、防火、抗渗于一体的完整体系(图1)。该系统不仅具有良好的保温性能,同时具有优异的隔热、防火性能且能防虫蚁噬蚀,属新型建筑保温材料,已有大量的工程实践。

图1 玻化微珠保温系统构造示意图
玻化微珠保温系统适用于多层及高层建筑的钢筋混凝土、加气混凝土、砌块、烧结砖和非烧结砖等围护墙的内、外保温抹灰工程,以及地下室、车库、楼梯、走廊、消防通道等防火保温工程,也适用旧建筑物的保温改造工程。
2、玻化微珠保温砂浆研制机理
2.1 玻化微珠的特性
轻骨料玻化微珠是一种无机物玻璃质矿物材料,是由火山岩粉碎成矿砂,经过特殊膨化烧法加工而成,产品呈不规则球状体颗粒,内部为空腔结构,表面玻化封闭,理化性能稳定,具有质轻、隔热防火、耐高低温、抗老化、吸水率小等优良特性。可替代粉煤灰漂珠、玻璃漂珠、普通膨胀珍珠岩、聚苯颗粒等诸多传统轻质骨料在不同制品中的应用,是一种环保型高性能无机轻质绝热材料。玻化微珠的物理性能见表1。
表1 玻化微珠物理性能

玻化微珠作为建筑保温材料可以弥补用聚苯颗粒和普通膨胀珍珠岩作轻质骨料的其他传统保温材料中诸多缺陷和不足,可以克服膨胀珍珠岩的吸水性大、易粉碎、在搅拌中体积收失率大、产品后期保温性能降低和易空鼓开裂等不足之处,同时又弥补了聚笨颗粒有机材料易燃、防火性能差、高温产生有害气体和耐老化性耐候性低等缺陷。可广泛用于建筑节能、化工填料、科技农业、耐火材料和防火吸音等行业,后续的应用领域也十分广泛。
2.2、纤维与水泥基材的复合作用
对于玻化微珠保温砂浆,采用复合纤维来改善砂浆的抗裂性能,进而提高其强度和其他性能。
对比试验表明,掺入一定量的复合纤维并没有显著提高保温砂浆的抗压强度,但是从试块的破坏特征可以看出,砂浆的断裂能和破坏时的最大变形迅速增加,明显改变了砂浆的整体性能,试块的破坏呈塑性破坏,表明砂浆的韧性、抗裂性得到明显示提高。这是因为纤维以单位体积内较大的数量分布于砂浆内部,裂缝在发展的过程中遭遇到纤维的阻挡,消耗了能量,延缓裂缝的出现。同时,掺加纤维会使砂浆的抗冻性、抗渗性、抗冲击性能都得到提高。但是纤维掺量过高,会导致保温砂浆的施工和易性变差,因此纤维掺量不宜超过1%。由于砂浆中应用了复合纤维,相当于大多数保温隔热材料表面必须粘贴一层抗拉玻纤网布,只不过将玻纤网的作用分散到砂浆的空间,可取代抗裂玻纤网布,有效防止不合格玻纤网布带来的保温面层开裂的质量通病。
2.3 膨胀玻化微珠保温砂浆特性
膨胀玻化微珠保温砂浆,是采用一种表面玻化封闭膨胀玻化微珠为轻质骨料,加以一定聚合物水泥和添加剂,制成单组份干粉无机保温砂浆,可直接在现场加水搅拌即可使用。表面粉涂一层防渗聚合物抗裂砂浆和抗碱玻纤网格布(或热镀铁丝网)增强层,与保温层复合形成一套集保温、隔热、抗裂、防火、防渗完整于一体建筑节能体系,本产品粘结性能良好,强度较高,具有优异保温、隔热性能和防火、耐老化性能,不空鼓开裂。施工性能优越,工序简单,可大大提高施工效率。
特性:
1)抗老化性能、耐侯性,无机材料的稳定性确保系统与基层墙体达到同等寿命。弥补了现有有机类保温易燃、高温生产毒害气体的缺陷,是内保温首选产品。
2)有很好的和易性、易涂刮、保水性好,附着力强,抗流挂性好。强度高,粘结力强的性能,可免去基层预湿和后期洒水养护工序。
3)优异的保温、隔热性能,吸水率低,收缩值小,不空鼓开裂。
4)保温系统与基层全面可以随意造型,告别适用于异形部位和倒立天棚面。
5)新型无机材料,无毒无害,无辐射,是一种真正的绿色环保建材。
6)直接施工于干状基层上,找平层与保温层合二为一,系统本身具有较高的强度,在采取适当加强措施后,可满足涂料、面砖等多种饰面的要求。施工性能优越,工序简单性价比高,大大降低了整体施工成本。
性能指标

备注:
Ⅰ型要适用于外墙外保温系统、屋顶保温及屋顶找坡等。
Ⅱ型主要适用于外墙内保温,以及内外复合保温,自保温体系等墙体保温系统。
二、膨胀玻化微珠保温砂浆施工步骤
1、基层处理:墙面应清理干净,无油、无浮尘等。旧墙面松动、风化部分剔除干净,表面凸起部分10mm应铲平。
2、砼梁柱或加气砼等墙体基层必需用砼界面剂一遍。
3、吊垂直,套方找规矩,弹厚度控制线,按设计要求厚度用膨胀玻化微珠保温砂浆作标准厚度冲筋。
4、拌:膨胀玻化微珠外墙保温砂浆与水必须按【1:(1~1.1)】的重量比,先将水放入搅拌容器中,再将保温砂浆放入搅拌使用。
5、送料上墙粉刷,每遍厚度在20㎜内,第二遍间隔在24小时以上。
6、保温层固化干燥后(一般的48小时)方可进行抹聚合物抗裂砂浆,首层应铺贴双层网格布。
7、钎网网格布按楼层间竖尺寸事先载好,网格布包边应剪掉。
8、抹聚合物抗裂砂浆厚度约3~4㎜,抹完一定宽度立即用铁抹子压入另一侧,严禁干搭。
9、网格布之间搭接宽度不应小于50㎜,当压入一侧,再抹一些抗裂砂浆压入另一侧,严禁干搭。
10、网格布铺贴要平整,无褶皱,砂浆饱满度应达到100%。
11、窗口处均应翻包收口处理,应在窗口四角应力集中部位附加200㎜400㎜的玻钎进行加强处理。
12、外保温体系与门、窗框间作防水处理。
13、分隔缝按照设计要求及建筑物里面效果图,弹线后用壁纸刀及专用工具沿线开出设定的凹槽。
14、凹槽使用聚苯乙烯或圆棒加防水胶嵌缝剂嵌成相应凹缝。
15、要求阴阳角方正,凹槽平整,缝与平面抹灰同时进行,网格布搭接在缝中部。
16、瓷砖面作法:把网格布改成热镀锌丝网加锚固钉,其它一样。
注意事项:
1、料浆必须即配即用,配制好的料浆应在2H内用完,严禁二次加水使用。
2、配制的抗裂砂浆须搅拌5分钟,必须搅拌均匀。
3、配制的抗裂砂浆必须在1~2小时内使用完毕。
三、膨胀玻化微珠保温砂浆施工工艺
1、作业条件
1.1基层墙体经主体工程验收达到质量标准要求。
1.2基层表面应将表面浮灰油污隔离剂及墙角杂物清理干净,大于10㎜的凸出物应剔除铲平。
1.3应将建筑墙体的爆皮粉化松动或裂缝空鼓旧涂层彻底清理,并修补缺陷加固及找平。
1.4外墙面上的门窗框雨水管卡预埋铁件设备穿墙管道等应提前安装完毕,并预留出外保温层的厚度,缝隙处应按规定嵌塞。
1.5施工用吊篮或专用脚手架应搭设牢固,安全检验合格。横竖杆与墙面墙角的间距应保证满足施工要求。
1.6当施工环境温度低于5℃时,现场应采取冬期施工措施。夏季应避免阳光暴晒。严禁雨天雪天和五级风及其以上时施工。
1.7玻化微珠保温砂浆的施工,应编制施工组织设计或施工方案,经监理(建设)单位批准后方可实施。
2、材料配制
2.1界面砂浆的配制:按界面剂:中细砂(干):水泥=1:1:1(质量比),先加入界面剂,再加入中细砂和水泥,搅拌均匀成浆状。
2.2玻化微珠保温砂浆的配制:按料浆:水=1~1.1(重量比),先将水加入搅拌容器中,再将玻化微珠保温砂浆干粉料放入搅拌容器中,搅拌3~5min,使料浆成均匀膏状体,即可使用。料浆必须随配随用,配制好的料浆应在1h内用完并不得回收落地料再二次加水使用。
2.3抗裂砂浆的配制:按料浆需用水:干混料=0.20~0.25:1(质量比),先将水放入搅拌容器中,再将抗裂砂浆干混料倒入搅拌容器中,搅拌4~5min,使料浆成均匀膏状体,静放5min即可使用。料浆必须随配随用,配制好的料浆应在1.5h内用完。
3、工艺流程
玻化微珠保温砂浆外墙保温工程的工艺流程应符合以下规定:
基层墙面清理吊垂直、套方、弹抹灰厚度控制线涂刷界面砂浆做灰饼、冲筋抹玻化微珠保温砂浆弹分格线、开分格槽保温层验收抹抗裂砂浆同时压入耐碱网布。
4、施工要求
4.1基层墙面处理:先用钢丝刷清除基层墙面浮灰油渍等,再用软刷清扫干净。门窗框四周应用保温砂浆分层填塞密实,保温层包裹窗框尺寸控制在10~20㎜。
4.2吊垂直套方弹抹灰厚度控制线:根据保温层厚度要求弹出抹灰控制线。
4.3涂刷界面砂浆:用滚刷或扫帚蘸取界面砂浆均匀涂刷于墙面上,不得漏刮,拉毛不宜太厚。配好的料注意防晒避风,一次配制量应在可操作时间内用完。
4.4做灰饼冲筋:用稍干的玻化微珠保温砂浆做灰饼冲筋。
4.5抹玻化微珠保温砂浆:玻化微珠保温砂浆应在界面砂浆干燥固化前分数遍成活。
1)第一遍抹灰:应在涂刷界面砂浆后的基层墙体上,用配好的玻化微珠保温砂浆压抹,抹灰厚度不宜大于20㎜,使砂浆均匀密实覆盖墙壁面。玻化微珠保温砂浆抹上墙与墙粘住后,不宜反复赶压。
2)第二遍抹灰:当抹灰厚度大于20㎜时,应分数次抹涂。待上一遍抹灰硬化后即可进行下一遍抹灰,最后一遍抹灰厚度应达到灰饼冲筋的厚度,用大杠搓平。门窗洞口垂直度平整度达到规范规定要求后,再在表面进行找平压实。
4.6保温层验收:抹完保温层后,用检测工具进行检验,保温层应垂直平整阴阳角方正顺直,对不符合本规程第6.2.10要求的墙面,应进行修补。
4.7抹抗裂砂浆时压入耐碱网布:在保温层固化干燥后,用铁抹子在保温层上抹抗裂砂浆,厚度要求3~4㎜,不得漏抹,在刚抹好的砂浆上用铁抹子压入裁好的耐碱网布,要求耐碱网布竖向铺贴并全部压入抗裂砂浆内。耐碱网布不得有干贴现象,粘贴饱满度应达到100%,搭接宽度不应小于100㎜,两层搭接网布之间要布满抗裂砂浆,严禁干茬搭接。在门窗口角处洞口边角应45斜向加铺一道耐碱网布,耐碱网布尺寸宜为400㎜300㎜。
4.8加强层做法:首层外保温的阳角,应用耐碱网布护角处理。其余各层阴角阳角以及门窗洞口角各部位用耐碱网布搭接增强。
4.9色带:设计要求用色带来体现立面效果时,在保温砂浆施工完毕后,弹出色带控制线,用壁纸刀开出设定的凹槽,深度约为10㎜,处理时应使色带内表面和侧面平整光滑。抗裂砂浆施工时,色带和大面宜同时进行,色带部位用专用小型工具,做出阴阳角,并保证平整和顺直。
5成品保护
5.1分格线门窗框管道槽盒上残存砂浆,应及时清理干净。严禁蹬踩窗台。
5.2移动吊篮翻拆架子时,在已抹好的墙面门窗洞口边角垛处应采取保护措施。
5.3玻化微珠保温砂浆在凝结前应防止快干水冲撞击振动和受冻。
5.4严禁使用过时灰。
5.5各抹灰层硬化前禁止水冲浸泡撞击和挤压。
5.6施工人员应遵守安全规程。施工人员应经过培训上岗。
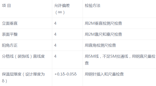
四、保温层和抹面层的允许偏差量及检验方法
允许偏差及检验方法
